Запчасти Komatsu D155A-1 ПАНЕЛЬ ПРИБОРОВ(№-) КОМПОНЕНТЫ ДВИГАТЕЛЯ И ЭЛЕКТРИКА

Схема запчастей Komatsu D155A-1 - ПАНЕЛЬ ПРИБОРОВ(№-) КОМПОНЕНТЫ ДВИГАТЕЛЯ И ЭЛЕКТРИКА
FIT
1:1
100%

Артикул

Название

Примечание

Количество

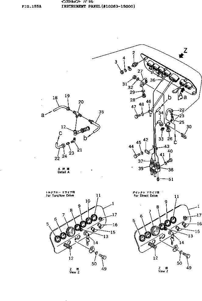
1

175-06-35117

PANEL

SN: 10263-15000

1шт.

1

175-06-35126

PANEL

SN: 5507-5507

1шт.

2

154-06-23910

CUSHION

SN: 6091-@

5шт.

3

01582-01008

NUT

SN: 5508-@

5шт.

4

01602-01030

WASHER

SN: 5508-@

5шт.

5

08642-00000

GAUGE

SN: 5513-15000

1шт.

6

08643-02000

GAUGE,PRESSURE, FUEL PRIMING

SN: 7001-@

1шт.

7

175-06-35182

TACHOMETER

SN: 15001-@

1шт.

7

0

TACHOMETER

SN: 5508-15000

1шт.

7

08111-02430

BULB, 3W

SN: 5508-@

1шт.

8

08643-01000

GAUGE,ENGINE OIL PRESSURE

SN: 5513-@

1шт.

9

08645-12000

GAUGE,WATER TEMPERATURE

SN: 8651-15000

1шт.

10

08646-12000

GAUGE,OIL TEMPERATURE

SN: 5513-15000

1шт.

11

08641-05000

AMMETER

SN: 10263-@

1шт.

12

6656-81-3500

PRIMING PUMP ASS'Y

SN: 7001-@

1шт.

13

08147-22400

LAMP

SN: 15001-@

1шт.

13

08146-02400

LAMP

SN: 6415-15000

1шт.

14

08086-00000

SWITCH,STARTING

SN: 8651-@

1шт.

15

08063-02000

SWITCH,LAMP

SN: 15001-@

1шт.

15

0

SWITCH,LAMP

SN: 10263-15000

1шт.

16

08063-01000

SWITCH,GLOW SIGNAL

SN: 15001-@

1шт.

16

0

SWITCH,GLOW SIGNAL

SN: 10263-15000

1шт.

17

600-815-2210

SIGNAL

SN: 7001-@

1шт.

18

195-06-13490

TUBE

SN: 7001-15000

1шт.

19

07201-50512

NUT

SN: 7001-@

1шт.

20

6610-81-3711

TEE

SN: 7001-@

1шт.

21

22-405367-01

ELBOW

SN: 8001-@

1шт.

22

07822-00403

TUBE

SN: 12051-15000

1шт.

22

0

TUBE

SN: 8001-12050

1шт.

23

07831-00411

SLEEVE

SN: 8001-15000

2шт.

24

07832-00410

NUT

SN: 8001-15000

2шт.

25

175-892-8490

ELBOW

SN: 8001-@

1шт.

26

07700-20502

VALVE

SN: 7001-@

1шт.

27

195-06-13450

BRACKET

SN: 10263-15000

1шт.

28

01010-30616

BOLT

SN: 7001-@

2шт.

29

01602-00619

WASHER

SN: 7001-@

2шт.

30

195-01-13260

CLIP

SN: 7001-@

2шт.

31

01598-00608

NUT

SN: 7001-@

4шт.

32

01640-00610

WASHER

SN: 7001-@

4шт.

33

195-837-1370

ELBOW

SN: 8001-@

1шт.

34

175-06-37540

TUBE

SN: 10263-15000

1шт.

35

175-06-37550

TUBE

SN: 10263-15000

1шт.

36

175-06-35163

TUBE

SN: 10263-15000

1шт.

37

07201-50512

NUT

SN: 6091-@

1шт.

38

07213-50510

CONNECTOR

SN: 7001-@

6шт.

38

07213-50510

CONNECTOR,(WITH AFTER COOLER)

SN: 10263-15000

5шт.

39

175-06-37560

BLOCK

SN: 10263-15000

1шт.

40

01010-31020

BOLT

SN: 10263-15000

2шт.

41

01602-01030

WASHER

SN: 7001-15000

2шт.

42

195-06-13330

CLAMP

SN: 7001-@

1шт.

43

195-06-13320

CUSHION

SN: 7001-@

1шт.

44

01220-30420

SCREW

SN: 10263-@

2шт.

45

01601-00410

WASHER

SN: 7001-@

2шт.

46

154-06-33110

CLAMP

SN: 10263-@

1шт.

47

01010-31016

BOLT

SN: 10263-@

1шт.

48

01602-01030

WASHER

SN: 10263-@

1шт.

49

01010-30616

BOLT

SN: 6091-@

2шт.

50

01602-00619

WASHER

SN: 5508-@

2шт.

51

07042-00108

PLUG,(WITH AFTER COOLER)

SN: 10263-15000

1шт.

Выбрано товаров: 59