Запчасти Komatsu D155A-1 ЭЛЕКТРИКА (/)(№-7) КОМПОНЕНТЫ ДВИГАТЕЛЯ И ЭЛЕКТРИКА

Схема запчастей Komatsu D155A-1 - ЭЛЕКТРИКА (/)(№-7) КОМПОНЕНТЫ ДВИГАТЕЛЯ И ЭЛЕКТРИКА
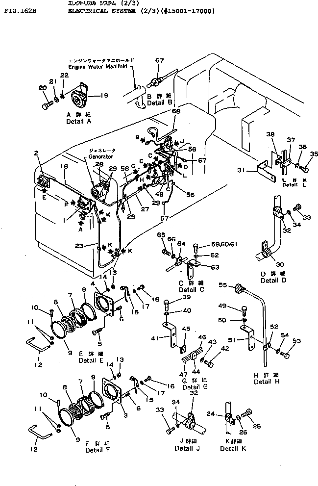
FIT
1:1
100%

Артикул

Название

Примечание

Количество

1

175-06-23101

LAMP ASS'Y

SN: 6091-@

1шт.

2

175-06-23201

LAMP ASS'Y

SN: 6091-@

1шт.

3

175-06-23171

BASE

SN: 6091-@

1шт.

4

175-06-23181

BASE

SN: 6091-@

1шт.

5

175-06-23190

SCREW

SN: 5508-@

4шт.

6

175-06-23210

SPRING

SN: 5508-@

4шт.

7

08128-00003

HOLDER

SN: 5508-@

1шт.

8

08113-02480

BULB, 80W

SN: 5508-@

1шт.

9

08128-00004

BAND

SN: 5508-@

2шт.

10

01220-40420

SCREW

SN: 5508-@

2шт.

11

01580-10403

NUT

SN: 6091-@

4шт.

12

175-06-23220

GUARD

SN: 5508-@

2шт.

13

01580-00806

NUT

SN: 6091-@

4шт.

14

01602-00825

WASHER

SN: 5508-@

4шт.

15

175-06-23230

SOCKET

SN: 5508-@

1шт.

16

01220-30408

SCREW

SN: 5508-@

1шт.

17

01601-00410

WASHER

SN: 5508-@

1шт.

18

175-06-37391

WIRE

SN: 10263-17000

1шт.

19

175-06-39170

HORN

SN: 15001-@

1шт.

20

01010-30820

BOLT

SN: 8257-@

2шт.

21

01602-00825

WASHER

SN: 8257-@

2шт.

22

01640-00816

WASHER

SN: 8257-@

2шт.

23

175-06-37242

WIRE ASS'Y

SN: 10263-17000

1шт.

24

08035-01510

CLIP

SN: 6843-17000

5шт.

25

01010-31016

BOLT

SN: 6843-17000

5шт.

26

01602-01030

WASHER

SN: 6843-17000

5шт.

27

175-06-39225

WIRE ASS'Y

SN: 15001-17000

1шт.

28

140-06-18260

CAP

SN: 15001-17000

4шт.

29

08035-03014

CLIP

SN: 15001-17000

4шт.

30

175-06-36251

CLAMP

SN: 10263-17000

1шт.

31

175-06-39560

BRACKET

SN: 15001-17000

1шт.

32

08035-03010

CLIP

SN: 15001-17000

2шт.

33

01010-31016

BOLT

SN: 15001-17000

2шт.

34

01602-01030

WASHER

SN: 15001-17000

1шт.

35

01220-30420

SCREW

SN: 15001-@

2шт.

36

01601-00410

WASHER

SN: 15001-@

2шт.

37

195-06-13330

CLAMP

SN: 15001-17000

1шт.

38

195-06-13320

CUSHION

SN: 15001-17000

1шт.

39

01010-31440

BOLT

SN: 10263-17000

1шт.

40

01602-01442

WASHER

SN: 10263-17000

1шт.

41

175-06-37510

PLATE

SN: 10263-17000

1шт.

42

01220-30425

SCREW

SN: 10263-17000

1шт.

43

01601-00410

WASHER

SN: 10263-17000

1шт.

44

195-06-13370

CLAMP

SN: 10263-17000

1шт.

45

175-06-37570

SEAT

SN: 10263-17000

1шт.

46

154-06-36350

TUBE

SN: 15001-17000

1шт.

47

175-06-39550

TUBE

SN: 15001-17000

1шт.

48

07213-50510

CONNECTOR

SN: 15001-17000

1шт.

49

01010-31425

BOLT

SN: 10263-@

1шт.

50

01602-01442

WASHER

SN: 10263-@

1шт.

51

175-06-37510

PLATE

SN: 10263-17000

1шт.

52

08036-10614

CLIP

SN: 10263-17000

1шт.

53

01010-31016

BOLT

SN: 10263-17000

1шт.

54

01602-01030

WASHER

SN: 10263-17000

1шт.

55

140-06-18260

CAP

SN: 10263-17000

1шт.

56

08036-10614

CLIP

SN: 10263-17000

2шт.

57

140-06-18260

CAP

SN: 10263-17000

1шт.

58

175-06-39531

CABLE ASS'Y

SN: 15001-@

1шт.

59

01010-31445

BOLT

SN: 15001-17000

1шт.

60

01010-31425

BOLT

SN: 15001-@

1шт.

61

01010-31440

BOLT

SN: 15001-17000

1шт.

62

01602-01442

WASHER

SN: 15001-17000

3шт.

63

175-06-37510

PLATE

SN: 15001-17000

3шт.

64

154-06-33110

CLAMP

SN: 10263-17000

3шт.

65

01010-31016

BOLT

SN: 10263-17000

3шт.

66

01602-01030

WASHER

SN: 10263-17000

3шт.

67

198-06-11940

SENSOR

SN: 15001-17000

2шт.

68

08671-40060

HOSE

SN: 15001-17000

1шт.

Выбрано товаров: 68