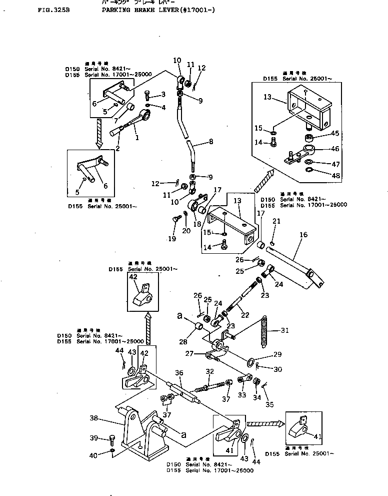
Запчасти Komatsu D155A-1 РЫЧАГ СТОЯНОЧНОГО ТОРМОЗА(№7-) СИСТЕМАУПРАВЛЕНИЯ ПОВОРОТОМ И КОНЕЧНАЯ ПЕРЕДАЧА

Схема запчастей Komatsu D155A-1 - РЫЧАГ СТОЯНОЧНОГО ТОРМОЗА(№7-) СИСТЕМАУПРАВЛЕНИЯ ПОВОРОТОМ И КОНЕЧНАЯ ПЕРЕДАЧА
FIT
1:1
100%

Артикул

Название

Примечание

Количество

1

195-43-24560

LEVER

SN: 17001-UP

1шт.

2

09305-00800

KNOB

SN: 5508-UP

1шт.

3

01010-30830

BOLT

SN: 17001-UP

1шт.

4

01602-00825

WASHER,SPRING

SN: 17001-UP

1шт.

5

04010-00516

KEY

SN: 15001-UP

1шт.

6

195-43-24551

LEVER

SN: 25001-UP

1шт.

|6

195-43-24550

LEVER

SN: 17001-25000

1шт.

7

09350-01615

BUSHING

SN: 25001-UP

2шт.

|7

195-43-12640

BUSHING

SN: 17001-25000

2шт.

8

195-43-24541

ROD

SN: 25001-UP

1шт.

|8

195-43-24540

ROD

SN: 17001-25000

1шт.

9

01580-00806

NUT

SN: 15001-UP

2шт.

10

04250-40847

END,ROD

SN: 15001-UP

2шт.

11

01590-00809

NUT

SN: 15001-UP

2шт.

12

04050-02015

PIN,COTTER

SN: 15001-UP

2шт.

13

175-43-42740

BRACKET

SN: 25001-UP

1шт.

|13

195-43-24520

BRACKET

SN: 17001-25000

1шт.

14

01010-31235

BOLT

SN: 17001-UP

2шт.

15

01643-31232

WASHER

SN: 25001-UP

2шт.

|15

0

WASHER,SPRING

SN: 17001-25000

2шт.

16

195-43-24531

LEVER

SN: 25001-UP

1шт.

|16

195-43-24530

LEVER

SN: 17001-25000

1шт.

17

09350-01615

BUSHING

SN: 25001-UP

2шт.

|17

195-43-12640

BUSHING

SN: 15001-25000

2шт.

18

175-43-41381

LEVER

SN: 15001-UP

1шт.

19

01010-30830

BOLT

SN: 15001-UP

1шт.

20

01602-00825

WASHER,SPRING

SN: 15001-UP

1шт.

21

04010-00516

KEY

SN: 15001-UP

1шт.

22

04245-00823

ROD

SN: 17001-UP

1шт.

23

01580-00806

NUT

SN: 15001-UP

2шт.

24

04250-40847

END

SN: 15001-UP

2шт.

25

01590-00809

NUT

SN: 15001-UP

2шт.

26

04050-02015

PIN

SN: 15001-UP

2шт.

27

175-43-41413

LEVER

SN: 25001-UP

1шт.

|27

175-43-41412

LEVER

SN: 17001-25000

1шт.

28

195-43-12640

BUSHING

SN: 17001-UP

1шт.

29

01641-01626

WASHER

SN: 17001-UP

1шт.

30

04050-04025

PIN,COTTER

SN: 17001-UP

1шт.

31

103-33-11260

SPRING

SN: 15001-UP

1шт.

32

195-43-24491

ROD

SN: 25001-UP

1шт.

|32

195-43-24490

ROD

SN: 17001-25000

1шт.

33

04250-40847

END,ROD

SN: 15001-UP

1шт.

34

01590-00809

NUT

SN: 15001-UP

1шт.

35

04050-02015

PIN,COTTER

SN: 15001-UP

1шт.

36

195-43-21940

BAR

SN: 17001-UP

1шт.

37

01580-00806

NUT

SN: 17001-UP

3шт.

38

175-43-41452

BRACKET

SN: 25001-UP

1шт.

|38

175-43-41451

BRACKET

SN: 17001-25000

1шт.

39

01010-31640

BOLT

SN: 17001-UP

2шт.

40

01643-31645

WASHER

SN: 25001-UP

2шт.

|40

0

WASHER,SPRING

SN: 17001-25000

2шт.

41

195-43-24471

PAWL

SN: 25001-UP

1шт.

|41

195-43-24470

PAWL

SN: 17001-25000

1шт.

42

195-43-24481

PAWL

SN: 25001-UP

1шт.

|42

195-43-24480

PAWL

SN: 17001-25000

1шт.

43

01640-02032

WASHER

SN: 17001-UP

2шт.

44

04050-04028

PIN,COTTER

SN: 17001-UP

2шт.

45

195-61-34130

BEARING

SN: 25001-UP

1шт.

46

175-43-42750

LEVER

SN: 25001-UP

1шт.

47

01640-22032

WASHER

SN: 25001-UP

1шт.

48

04064-02012

RING,SNAP

SN: 25001-UP

1шт.

Выбрано товаров: 61