Запчасти Komatsu D155A-1 МАСЛЯНЫЙ ФИЛЬТР(№8-7) СИСТЕМАУПРАВЛЕНИЯ ПОВОРОТОМ И КОНЕЧНАЯ ПЕРЕДАЧА

Схема запчастей Komatsu D155A-1 - МАСЛЯНЫЙ ФИЛЬТР(№8-7) СИСТЕМАУПРАВЛЕНИЯ ПОВОРОТОМ И КОНЕЧНАЯ ПЕРЕДАЧА
FIT
1:1
100%

Артикул

Название

Примечание

Количество

|1

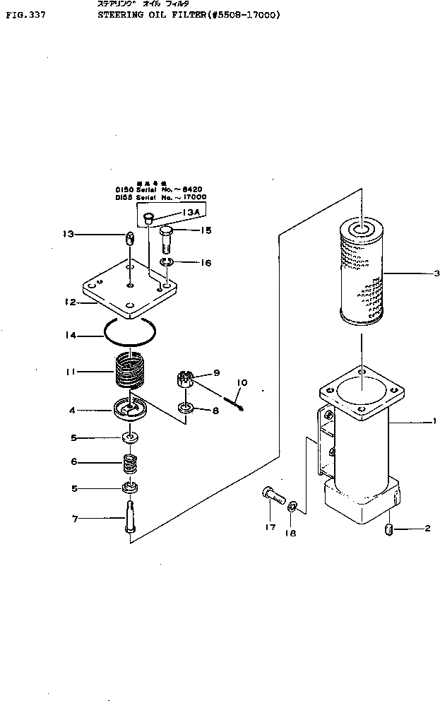
175-49-00226

STEERING FILTER A.

SN: 15001-17000

1шт.

|1

175-49-00225

STEERING FILTER A.

SN: 10263-15000

1шт.

|1

0

STEERING FILTER A.

SN: 8651-10262

1шт.

|1

0

STEERING FILTER A.

SN: 6091-8650

1шт.

|1

0

STEERING FILTER A.

SN: 5508-6090

1шт.

|1

175-49-00243

CASE ASS'Y

SN: 15001-17000

1шт.

|1

175-49-00242

CASE ASS'Y

SN: 10263-15000

1шт.

|1

175-49-00241

CASE ASS'Y

SN: 8651-10262

1шт.

|1

0

CASE ASS'Y

SN: 5508-8650

1шт.

|$$10

(175-49-00241{175-49-00251¤}

-1шт.

|$$11

07000-02115)

-1шт.

1

0

CASE

SN: 15001-17000

1шт.

|1

0

CASE

SN: 10263-15000

1шт.

|1

0

CASE

SN: 8651-10262

1шт.

|1

0

CASE

SN: 5508-8650

1шт.

2

07042-00312

PLUG

SN: 5508-17000

1шт.

3

175-49-11580

ELEMENT

SN: 5508-@

1шт.

4

175-43-14150

CAGE

SN: 5508-@

1шт.

5

170-14-18171

SLEEVE

SN: 5508-@

2шт.

6

170-14-18161

SPRING

SN: 5508-@

1шт.

7

145-49-12460

BOLT

SN: 5508-@

1шт.

8

01641-00608

WASHER

SN: 5508-@

1шт.

9

01590-00607

NUT

SN: 6091-@

1шт.

|9

01511-30607

NUT

SN: 5508-6090

1шт.

10

04050-01215

PIN

SN: 5508-@

1шт.

11

6003200-4-40

SPRING

SN: 5508-@

1шт.

|12

175-49-00252

COVER ASS'Y

SN: 10263-17000

1шт.

|12

175-49-00251

COVER ASS'Y

SN: 8651-10262

1шт.

|12

175-49-00250

COVER ASS'Y

SN: 5508-8650

1шт.

12

0

COVER

SN: 10263-@

1шт.

|12

0

COVER

SN: 8651-10262

1шт.

|12

0

COVER

SN: 5508-8650

1шт.

13

07042-00108

PLUG

SN: 5508-@

1шт.

13A

07048-01210

PLUG

SN: 8651-10262

2шт.

14

07000-02115

O-RING

SN: 8651-@

1шт.

|14

07000-05100

O-RING

SN: 5508-8650

1шт.

15

01010-31440

BOLT

SN: 6091-@

4шт.

|15

01040-31440

BOLT

SN: 5508-6090

4шт.

16

01602-01442

WASHER

SN: 5508-@

4шт.

17

01010-31230

BOLT

SN: 5508-17000

4шт.

18

01602-01236

WASHER

SN: 5508-@

4шт.

Выбрано товаров: 41