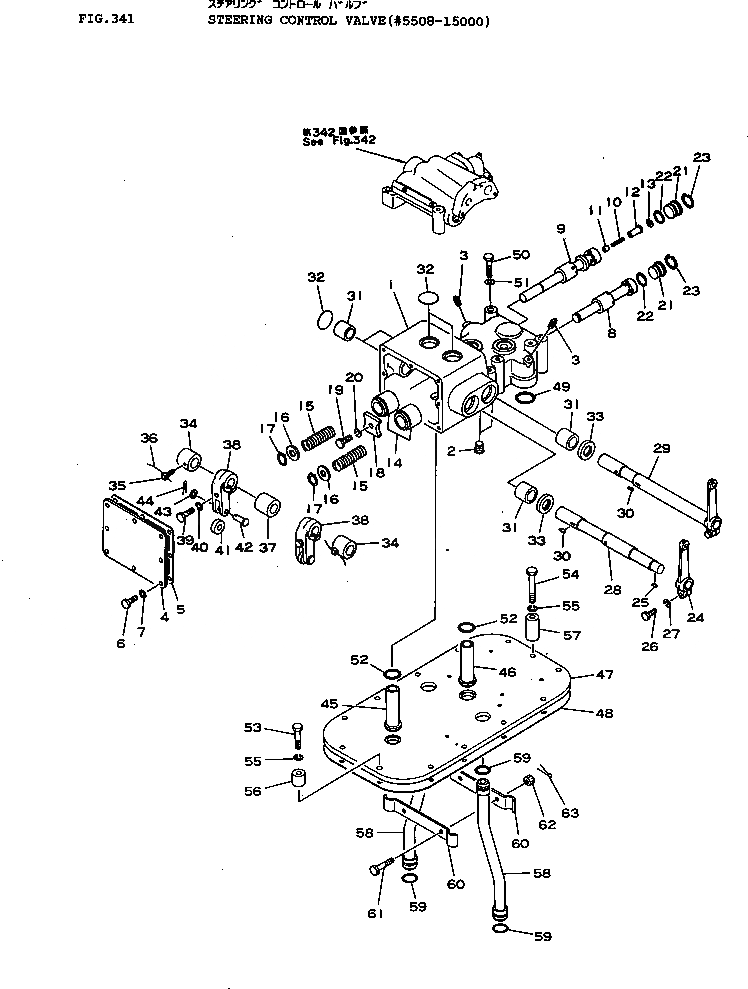
Запчасти Komatsu D155A-1 КЛАПАН УПРАВЛЕНИЯ ПОВОРОТОМ(№8-) СИСТЕМАУПРАВЛЕНИЯ ПОВОРОТОМ И КОНЕЧНАЯ ПЕРЕДАЧА

Схема запчастей Komatsu D155A-1 - КЛАПАН УПРАВЛЕНИЯ ПОВОРОТОМ(№8-) СИСТЕМАУПРАВЛЕНИЯ ПОВОРОТОМ И КОНЕЧНАЯ ПЕРЕДАЧА
FIT
1:1
100%

Артикул

Название

Примечание

Количество

|1

175-40-00022

CONTROL VALVE ASS'Y

SN: 8651-15000

1шт.

|1

0

CONTROL VALVE ASS'Y

SN: 6091-8650

1шт.

|1

0

CONTROL VALVE ASS'Y

SN: 5508-6090

1шт.

1

175-40-21110

HOUSING

SN: 5508-15000

1шт.

2

07043-00415

PLUG

SN: 5508-15000

2шт.

3

07042-00108

PLUG

SN: 5508-@

2шт.

4

175-43-12140

COVER

SN: 5508-15000

1шт.

5

175-43-12150

GASKET

SN: 5508-15000

1шт.

6

01010-31025

BOLT

SN: 5508-15000

8шт.

7

01602-01030

WASHER

SN: 5508-15000

8шт.

8

175-40-11321

SPOOL

SN: 8651-15000

1шт.

|8

0

SPOOL

SN: 5508-8650

1шт.

9

175-40-11132

SPOOL

SN: 8651-15000

1шт.

|9

0

SPOOL

SN: 5508-8650

1шт.

10

175-40-11140

SPRING

SN: 5508-15000

1шт.

11

175-40-11150

VALVE

SN: 5508-15000

1шт.

12

175-40-11160

SLEEVE

SN: 5508-15000

1шт.

13

04065-01610

RING

SN: 5508-15000

1шт.

14

175-43-12180

BUSHING

SN: 5508-15000

2шт.

15

195-40-11120

SPRING

SN: 5508-15000

2шт.

16

175-43-12190

WASHER

SN: 5508-15000

2шт.

17

04064-02012

RING

SN: 5508-15000

2шт.

18

175-40-11330

PLATE

SN: 5508-15000

1шт.

19

01010-31030

BOLT

SN: 5508-15000

1шт.

20

01602-01030

WASHER

SN: 5508-15000

1шт.

21

170-33-13530

STOPPER

SN: 5508-15000

2шт.

22

07000-03025

O-RING

SN: 5508-@

2шт.

23

04065-03515

RING

SN: 5508-@

2шт.

24

154-21-15131

LEVER

SN: 5508-15000

2шт.

25

04010-00519

KEY

SN: 5508-15000

2шт.

26

01010-30825

BOLT

SN: 6091-15000

2шт.

|26

01000-30825

BOLT

SN: 5508-6090

2шт.

27

01602-00825

WASHER

SN: 5508-@

2шт.

28

154-21-15111

SHAFT

SN: 5508-15000

1шт.

29

154-21-15121

SHAFT

SN: 5508-15000

1шт.

30

04010-00522

KEY

SN: 5508-15000

2шт.

31

170-43-12360

BUSHING

SN: 5508-15000

4шт.

32

07046-04520

PLUG

SN: 5508-15000

4шт.

33

07011-00025

SEAL

SN: 5508-15000

2шт.

34

170-43-12380

COLLAR

SN: 5508-15000

2шт.

35

01302-00812

SCREW

SN: 5508-15000

2шт.

36

04059-01012

WIRE

SN: 5508-@

2шт.

37

175-43-12240

COLLAR

SN: 5508-15000

1шт.

38

170-43-12321

LEVER

SN: 5508-15000

2шт.

39

01010-31250

BOLT

SN: 5508-15000

2шт.

40

01602-01236

WASHER

SN: 5508-15000

2шт.

41

170-43-12330

ROLLER

SN: 5508-15000

2шт.

42

04205-01238

PIN

SN: 5508-15000

2шт.

43

01641-01223

WASHER

SN: 5508-15000

2шт.

44

04050-03020

PIN

SN: 5508-15000

2шт.

45

170-43-12120

TUBE

SN: 5508-15000

1шт.

46

175-43-12120

TUBE

SN: 5508-15000

1шт.

47

175-40-21122

SEAT

SN: 10263-15000

1шт.

|47

175-40-21121

SEAT

SN: 5508-10262

1шт.

48

175-40-22521

GASKET

SN: 10263-@

1шт.

|48

154-40-21150

SEAT

SN: 5508-10262

1шт.

49

07000-03040

O-RING

SN: 5508-@

2шт.

50

01011-31200

BOLT

SN: 5508-15000

1шт.

51

01602-01236

WASHER

SN: 5508-15000

1шт.

52

07000-03028

O-RING

SN: 5508-15000

2шт.

53

01010-31260

BOLT

SN: 5508-@

12шт.

54

01010-31285

BOLT

SN: 10263-@

1шт.

55

01602-01236

WASHER

SN: 10263-@

13шт.

|55

01602-01236

WASHER

SN: 5508-10262

12шт.

56

195-33-11220

SPACER

SN: 5508-@

12шт.

57

175-40-22540

SPACER

SN: 10263-@

1шт.

58

175-40-21130

TUBE

SN: 5508-15000

2шт.

59

07000-03022

O-RING

SN: 5508-@

4шт.

60

175-40-22460

CLAMP

SN: 10263-@

2шт.

61

01012-31025

BOLT

SN: 10263-@

2шт.

62

01590-01012

NUT

SN: 10263-@

2шт.

63

04050-02018

PIN

SN: 10263-@

2шт.

Выбрано товаров: 72