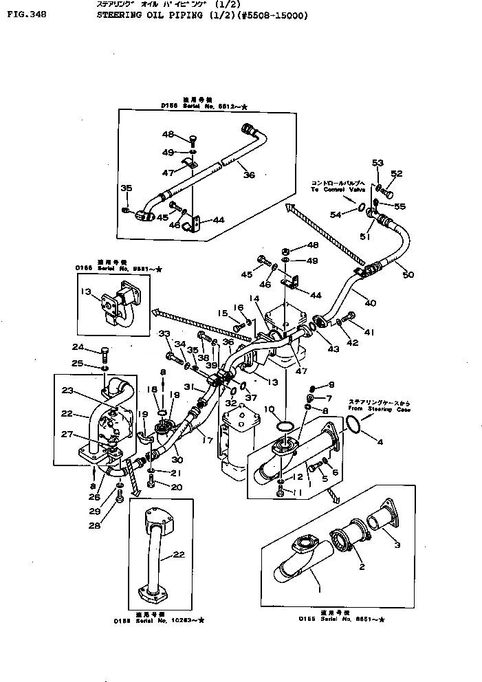
Запчасти Komatsu D155A-1 РУЛЕВ. УПРАВЛЕНИЕ МАСЛОПРОВОДЯЩАЯ ЛИНИЯ (/)(№8-) СИСТЕМАУПРАВЛЕНИЯ ПОВОРОТОМ И КОНЕЧНАЯ ПЕРЕДАЧА

Схема запчастей Komatsu D155A-1 - РУЛЕВ. УПРАВЛЕНИЕ МАСЛОПРОВОДЯЩАЯ ЛИНИЯ (/)(№8-) СИСТЕМАУПРАВЛЕНИЯ ПОВОРОТОМ И КОНЕЧНАЯ ПЕРЕДАЧА
FIT
1:1
100%

Артикул

Название

Примечание

Количество

1

175-49-21111

TUBE

SN: 8651-@

1шт.

|1

0

TUBE

SN: 5508-8650

1шт.

|$$3

(175-49-21111{07232-02400¤}

-1шт.

|$$4

175-49-22590)

-1шт.

2

07332-02400

COUPLING

SN: 8651-@

1шт.

3

175-49-22590

TUBE

SN: 8651-@

1шт.

4

07000-03090

O-RING

SN: 5508-@

1шт.

5

01010-31030

BOLT

SN: 5508-@

3шт.

6

01602-01030

WASHER

SN: 5508-@

3шт.

7

154-19-17122

PLUG

SN: 6091-6842

1шт.

|7

154-19-17121

PLUG

SN: 5508-6090

1шт.

8

07003-01621

GASKET

SN: 5508-6842

1шт.

9

07042-00108

PLUG

SN: 5508-6842

1шт.

10

07000-03080

O-RING

SN: 5508-@

1шт.

11

01010-31235

BOLT

SN: 5508-@

4шт.

12

01602-01236

WASHER

SN: 5508-8650

4шт.

13

175-49-22111

ELBOW

SN: 8651-@

1шт.

|13

175-49-22110

ELBOW

SN: 5508-8650

1шт.

14

07000-03082

O-RING

SN: 5508-@

1шт.

15

01010-31235

BOLT

SN: 5508-@

4шт.

16

01602-01236

WASHER

SN: 5508-@

4шт.

17

175-49-22441

HOSE

SN: 10263-@

1шт.

|17

175-49-22440

HOSE

SN: 5508-10262

1шт.

18

07000-02060

O-RING

SN: 5508-@

2шт.

19

07371-02076

FLANGE

SN: 12675-@

4шт.

|19

07371-02071

FLANGE

SN: 5508-12674

4шт.

20

07372-01240

BOLT

SN: 12675-@

8шт.

|20

07372-01235

BOLT

SN: 5508-12674

8шт.

21

01602-01236

WASHER

SN: 5508-@

8шт.

22

175-49-21524

TUBE

SN: 5508-10262

1шт.

22

175-49-22660

TUBE

SN: 10263-@

1шт.

23

07000-03050

O-RING

SN: 5508-@

1шт.

24

01010-31075

BOLT

SN: 10263-@

4шт.

|24

01010-31035

BOLT

SN: 5508-10262

4шт.

25

01602-01030

WASHER

SN: 5508-@

4шт.

26

175-49-21543

TUBE

SN: 8539-@

1шт.

|26

0

TUBE

SN: 6988-8358

1шт.

|26

175-49-21541

TUBE

SN: 5508-6987

1шт.

27

07000-03035

O-RING

SN: 5508-@

1шт.

28

01010-31240

BOLT

SN: 5508-@

4шт.

29

01602-01236

WASHER

SN: 5508-@

4шт.

30

07102-21004

HOSE

SN: 6988-@

1шт.

|30

07102-21003

HOSE

SN: 6091-6987

1шт.

|30

07102-01003

HOSE

SN: 5508-6090

1шт.

31

175-49-21291

TUBE

SN: 6988-@

1шт.

|31

175-49-21290

TUBE

SN: 5508-6987

1шт.

32

07000-03035

O-RING

SN: 5508-@

1шт.

33

01010-31060

BOLT

SN: 5508-@

2шт.

34

01602-01030

WASHER

SN: 5508-@

2шт.

35

07042-00108

PLUG

SN: 6843-@

1шт.

|35

07042-00108

PLUG

SN: 5508-6842

2шт.

36

175-49-22460

HOSE

SN: 5512-@

1шт.

|36

175-49-22180

TUBE

SN: 5508-5511

1шт.

37

07000-03035

O-RING

SN: 5508-@

1шт.

38

01010-31060

BOLT

SN: 5508-@

2шт.

39

01602-01030

WASHER

SN: 5508-@

2шт.

40

175-49-22190

TUBE

SN: 5508-5512

1шт.

41

01010-31240

BOLT

SN: 5508-5511

2шт.

42

01602-01236

WASHER

SN: 5508-5511

2шт.

43

07000-03035

O-RING

SN: 5508-5511

1шт.

44

175-49-22212

CLAMP

SN: 8651-@

2шт.

|44

0

CLAMP

SN: 5512-8650

2шт.

|44

175-49-22210

PLATE

SN: 5508-5511

2шт.

45

01010-31025

BOLT

SN: 5508-@

4шт.

46

01602-01030

WASHER

SN: 5508-@

4шт.

47

175-49-22471

CLAMP

SN: 8651-@

2шт.

|47

0

CLAMP

SN: 5512-8650

2шт.

|47

07283-03450

CLIP

SN: 5508-5511

2шт.

48

01010-31230

BOLT

SN: 5512-@

2шт.

|48

01554-01011

NUT

SN: 5508-5511

4шт.

49

01602-01236

WASHER

SN: 5512-@

2шт.

|49

01643-01032

WASHER

SN: 5508-5511

4шт.

50

07102-01005

HOSE

SN: 5508-5511

1шт.

51

175-49-22221

TUBE

SN: 5359-@

1шт.

|51

0

TUBE

SN: 5508-5358

1шт.

52

01010-31030

BOLT

SN: 5508-@

4шт.

53

01602-01030

WASHER

SN: 5508-@

4шт.

54

07000-03032

O-RING

SN: 5508-@

2шт.

55

07042-00108

PLUG

SN: 5508-@

1шт.

Выбрано товаров: 79