Запчасти Komatsu D155A-1 КРЫШКИ(№7-) ГУСЕНИЦЫ

Схема запчастей Komatsu D155A-1 - КРЫШКИ(№7-) ГУСЕНИЦЫ
FIT
1:1
100%

Артикул

Название

Примечание

Количество

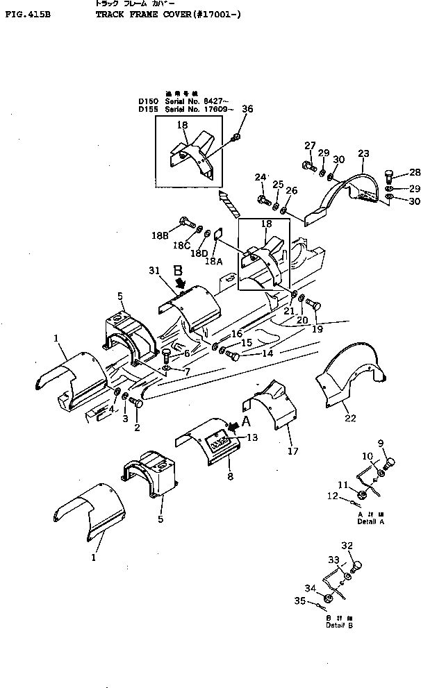
1

175-30-37154

COVER

SN: 17001-UP

2шт.

2

01010-31435

BOLT

SN: 26422-UP

12шт.

|2

0

BOLT

SN: 8651-26421

12шт.

3

01602-01442

WASHER,SPRING

SN: 8651-19000

12шт.

4

01643-31445

WASHER

SN: 8651-UP

12шт.

5

175-30-37113

SUPPORT

SN: 15001-UP

2шт.

6

01010-32080

BOLT

SN: 6091-UP

8шт.

7

01643-32060

WASHER

SN: 25001-UP

8шт.

|7

0

WASHER,SPRING

SN: 5508-25000

1шт.

|8

175-30-37103

COVER ASS'Y

SN: 17001-UP

1шт.

8

0

COVER

SN: 17001-UP

1шт.

9

195-09-18140

BOLT

SN: 5508-UP

1шт.

10

01642-21216

WASHER

SN: 5508-UP

1шт.

11

01590-01215

NUT

SN: 5508-UP

1шт.

12

04050-03025

PIN

SN: 15001-UP

1шт.

13

09657-01125

PLATE¤ SAFETY,CAUTION

SN: 15001-UP

2шт.

14

01010-31435

BOLT

SN: 26422-UP

16шт.

|14

0

BOLT

SN: 8651-26421

16шт.

15

01602-01442

WASHER,SPRING

SN: 8160-19000

16шт.

16

01643-31445

WASHER

SN: 8160-UP

16шт.

17

175-30-37170

COVER

SN: 10263-UP

1шт.

18

175-30-37186

COVER

SN: 17609-UP

1шт.

|18

0

COVER

SN: 15001-17608

1шт.

18A

175-30-37212

PLATE

SN: 15388-UP

1шт.

18B

01010-31445

BOLT

SN: 15388-UP

2шт.

18C

01602-01442

WASHER,SPRING

SN: 15388-19000

2шт.

18D

01643-31445

WASHER

SN: 15388-UP

2шт.

19

01010-31440

BOLT

SN: 17001-UP

6шт.

20

01602-01442

WASHER,SPRING

SN: 17001-19000

6шт.

21

01643-31445

WASHER

SN: 17001-UP

6шт.

22

175-30-52150

COVER

SN: 31414-UP

1шт.

|22

0

COVER

SN: 10263-31413

1шт.

23

175-30-52160

COVER

SN: 31414-UP

1шт.

|23

0

COVER

SN: 10263-31413

1шт.

24

01010-31440

BOLT

SN: 10263-UP

4шт.

25

01602-01442

WASHER

SN: 8651-19000

4шт.

26

01643-31445

WASHER

SN: 8651-UP

4шт.

27

01010-31630

BOLT

SN: 19001-UP

4шт.

|27

0

BOLT

SN: 17001-19000

4шт.

28

01010-31645

BOLT

SN: 19001-UP

4шт.

|28

0

BOLT

SN: 10263-19000

4шт.

29

01602-01648

WASHER,SPRING

SN: 5508-19000

8шт.

30

01643-31645

WASHER

SN: 5508-UP

8шт.

|31

175-30-37200

COVER ASS'Y

SN: 17001-UP

1шт.

31

0

COVER

SN: 17001-UP

1шт.

32

195-09-18140

BOLT

SN: 17001-UP

1шт.

33

01642-21216

WASHER

SN: 17001-UP

1шт.

34

01590-01215

NUT

SN: 17001-UP

1шт.

35

04050-03025

PIN,COTTER

SN: 17001-UP

1шт.

36

07049-01418

PLUG

SN: 17001-UP

1шт.

Выбрано товаров: 50