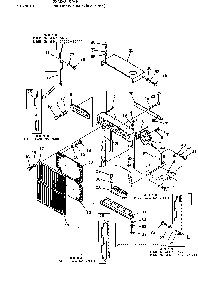
Запчасти Komatsu D155A-1 ЗАЩИТА РАДИАТОРА(№7-) ЧАСТИ КОРПУСА

Схема запчастей Komatsu D155A-1 - ЗАЩИТА РАДИАТОРА(№7-) ЧАСТИ КОРПУСА
FIT
1:1
100%

Артикул

Название

Примечание

Количество

1

175-54-31114

RADIATOR GUARD ASS'Y

SN: 25001-UP

1шт.

|1

175-54-31113

RADIATOR GUARD ASS'Y

SN: 21376-25000

1шт.

2

175-54-21133

SUPPORT (WELDED)

SN: 6843-UP

2шт.

3

175-862-3480

BRACKET,L.H. (WELDED)

SN: 15001-UP

1шт.

|3

175-862-3490

BRACKET,R.H. (WELDED)

SN: 15001-UP

1шт.

4

01010-30835

BOLT

SN: 10263-UP

2шт.

5

01580-00806

NUT

SN: 10263-UP

2шт.

6

01643-30823

WASHER

SN: 25001-UP

2шт.

|6

0

WASHER,SPRING

SN: 10263-25000

2шт.

7

01019-22755

BOLT

SN: 21376-UP

16шт.

8

01643-32780

WASHER

SN: 25001-UP

8шт.

|8

01643-32780

WASHER

SN: 17001-25000

16шт.

9

175-54-21246

MARK

SN: 31173-UP

1шт.

|9

175-54-21245

MARK

SN: 19001-31172

1шт.

10

01010-31020

BOLT

SN: 19001-UP

4шт.

11

01602-01030

WASHER,SPRING

SN: 5508-25000

4шт.

12

01640-21016

WASHER

SN: 5508-UP

4шт.

13

175-54-21275

NET

SN: 15001-UP

2шт.

14

01010-30825

BOLT

SN: 6091-UP

12шт.

15

01602-00825

WASHER,SPRING

SN: 5508-UP

12шт.

16

01643-30823

WASHER

SN: 5508-UP

12шт.

17

175-54-21285

GRILLE

SN: 15001-UP

2шт.

18

01010-31645

BOLT

SN: 19001-UP

4шт.

19

01643-31645

WASHER

SN: 15001-UP

4шт.

20

175-54-21318

PLATE

SN: 15001-UP

1шт.

21

08037-01008

GROMMET

SN: 15001-UP

1шт.

22

01010-31225

BOLT

SN: 17001-UP

3шт.

23

01602-01236

WASHER,SPRING

SN: 15001-25000

3шт.

24

01643-31232

WASHER

SN: 15001-UP

3шт.

25

175-54-21822

PLATE,L.H.

SN: 25001-UP

1шт.

|25

175-54-21821

PLATE,L.H.

SN: 21376-25000

1шт.

|25

175-54-21832

PLATE,R.H.

SN: 25001-UP

1шт.

|25

175-54-21831

PLATE,R.H.

SN: 21376-25000

1шт.

26

01010-31230

BOLT

SN: 17001-UP

8шт.

27

01643-31232

WASHER

SN: 15001-UP

8шт.

28

175-54-21325

PLATE

SN: 21376-UP

1шт.

29

01010-31220

BOLT

SN: 25001-UP

3шт.

|29

01010-31225

BOLT

SN: 5508-25000

4шт.

30

01643-31232

WASHER

SN: 25001-UP

3шт.

|30

01643-31232

WASHER

SN: 5508-25000

4шт.

31

175-54-23119

COVER

SN: 21376-UP

1шт.

32

01010-32055

BOLT

SN: 6091-UP

4шт.

33

01602-02060

WASHER,SPRING

SN: 5508-25000

4шт.

34

01643-32060

WASHER

SN: 5508-UP

4шт.

35

175-54-21155

COVER

SN: 15001-UP

1шт.

36

01010-31225

BOLT

SN: 17001-UP

8шт.

37

01602-01236

WASHER,SPRING

SN: 5508-25000

8шт.

38

01643-31232

WASHER

SN: 5508-UP

8шт.

39

08037-03614

GROMMET

SN: 15001-UP

1шт.

40

175-54-41320

PLATE

SN: 21376-UP

1шт.

41

01010-31020

BOLT

SN: 21376-UP

2шт.

42

01602-01030

WASHER,SPRING

SN: 21376-UP

2шт.

43

175-54-31120

PLATE

SN: 25001-UP

2шт.

Выбрано товаров: 53