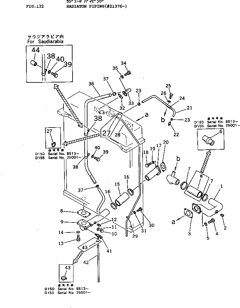
Запчасти Komatsu D155A-1 СИСТЕМА ТРУБ РАДИАТОРА(№7-) КОМПОНЕНТЫ ДВИГАТЕЛЯ И ЭЛЕКТРИКА

Схема запчастей Komatsu D155A-1 - СИСТЕМА ТРУБ РАДИАТОРА(№7-) КОМПОНЕНТЫ ДВИГАТЕЛЯ И ЭЛЕКТРИКА
FIT
1:1
100%

Артикул

Название

Примечание

Количество

1

175-03-32116

TUBE

SN: 30428-UP

1шт.

|1

0

TUBE

SN: 21376-30427

1шт.

2

07042-10108

PLUG

SN: 21376-UP

1шт.

3

175-03-32791

GASKET

SN: 31271-UP

1шт.

|3

0

GASKET

SN: 21376-31270

1шт.

4

01010-31230

BOLT

SN: 5508-UP

4шт.

5

01602-01236

WASHER,SPRING

SN: 5508-UP

4шт.

6

175-03-31512

HOSE

SN: 25001-UP

1шт.

|6

0

HOSE

SN: 5508-25000

1шт.

7

07281-01029

CLAMP

SN: 21376-UP

2шт.

8

195-03-11371

GASKET

SN: 31271-UP

1шт.

|8

0

GASKET

SN: 5508-31270

1шт.

|9

175-03-00254

OUTLET TUBE ASS'Y

SN: 15001-UP

1шт.

9

0

TUBE

SN: 19001-UP

1шт.

10

07040-11612

PLUG

SN: 6091-UP

1шт.

11

07005-01612

GASKET

SN: 5508-UP

1шт.

12

0

PLUG

SN: 10263-UP

1шт.

13

01010-31235

BOLT

SN: 5508-UP

4шт.

14

01602-01236

WASHER,SPRING

SN: 5508-UP

4шт.

15

195-03-13170

HOSE

SN: 5508-UP

1шт.

16

07281-01029

CLAMP

SN: 21376-UP

2шт.

17

175-03-32126

TUBE

SN: 15001-UP

1шт.

18

01010-31240

BOLT

SN: 15001-UP

2шт.

19

01602-01236

WASHER,SPRING

SN: 5508-UP

2шт.

20

175-03-32131

GASKET

SN: 31271-UP

1шт.

|20

0

GASKET

SN: 5508-31270

1шт.

21

175-03-32162

HOSE

SN: 8651-UP

1шт.

22

195-03-11530

NIPPLE

SN: 21376-UP

1шт.

23

07281-00197

CLAMP

SN: 21376-UP

2шт.

24

195-03-11580

CLIP

SN: 5508-UP

1шт.

25

01010-31020

BOLT

SN: 5508-UP

1шт.

26

01643-31032

WASHER

SN: 8513-UP

1шт.

|26

0

WASHER

SN: 5508-8512

1шт.

27

07285-00095

CLIP

SN: 8513-UP

1шт.

|27

0

WIRE

SN: 5508-8512

1шт.

28

195-03-13131

HOSE

SN: 21376-UP

1шт.

29

195-03-11690

CLIP

SN: 25001-UP

3шт.

|29

195-03-11690

CLIP

SN: 21376-25000

1шт.

30

01010-31220

BOLT

SN: 25001-UP

3шт.

|30

01010-31220

BOLT

SN: 21376-25000

1шт.

31

01643-31232

WASHER

SN: 25001-UP

3шт.

|31

01602-01236

WASHER,SPRING

SN: 21376-25000

1шт.

32

195-03-11981

GASKET

SN: 31271-UP

1шт.

|32

0

GASKET

SN: 15001-31270

1шт.

33

195-03-11992

TUBE

SN: 15001-UP

1шт.

34

01010-31030

BOLT

SN: 6843-UP

2шт.

35

01602-01030

WASHER,SPRING

SN: 6843-UP

2шт.

36

195-03-18680

HOSE

SN: 21376-UP

1шт.

37

07281-00419

CLAMP

SN: 21376-UP

2шт.

38

195-03-11511

CLIP

SN: 10263-UP

2шт.

39

01010-31230

BOLT

SN: 17001-UP

2шт.

|39

01010-51225

BOLT,(FOR SAUDI)

SN: 25001-UP

1шт.

40

01643-31232

WASHER

SN: 25001-UP

2шт.

|40

01643-31232

WASHER,(FOR SAUDI)

SN: 25001-UP

1шт.

|40

0

WASHER,SPRING

SN: 5508-25000

2шт.

41

195-03-13241

VALVE

SN: 6843-UP

1шт.

42

175-03-31530

HOSE

SN: 5508-UP

1шт.

43

07285-00180

CLIP

SN: 25001-UP

1шт.

|43

0

WIRE

SN: 5508-25000

1шт.

44

195-33-11220

SPACER,(FOR SAUDI)

SN: 25001-UP

1шт.

Выбрано товаров: 60