Запчасти Komatsu D155A-1 МАРКИРОВКА¤ ЯПОН. И АНГЛ.(№-) ЧАСТИ КОРПУСА

Схема запчастей Komatsu D155A-1 - МАРКИРОВКА¤ ЯПОН. И АНГЛ.(№-) ЧАСТИ КОРПУСА
FIT
1:1
100%

Артикул

Название

Примечание

Количество

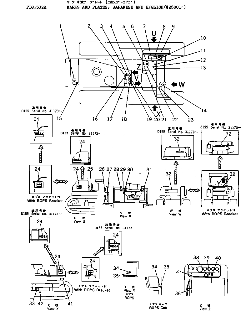
1

09650-00101

PLATE¤ INSTRUCTION,RADIATOR

SN: 17001-UP

1шт.

2

09649-00300

PLATE¤ INSTRUCTION,ENGINE STOP

SN: 5507-5507

1шт.

|2

09649-00001

PLATE¤ INSTRUCTION,ENGINE STOP

SN: 25001-UP

1шт.

3

175-900-2240

PLATE¤ CAUTION,TRAVELING ON SLOPE

SN: 25001-UP

1шт.

4

09666-00000

PLATE¤ SAFETY

SN: 17001-UP

1шт.

5

175-900-2330

PLATE¤ OPERATING,TRANSMISSION LEVER

SN: 17001-UP

1шт.

6

09173-00000

PLATE¤ SAFETY

SN: 17001-UP

1шт.

7

09685-00002

PLATE¤ OPERATING,PIN PULLER LOCK

SN: 25001-UP

1шт.

9

09653-00000

PLATE¤ SAFETY,HYDRAULIC TANK

SN: 17001-UP

1шт.

10

09655-00120

PLATE¤ INSTRUCTION,OIL FILTER

SN: 17001-UP

1шт.

11

195-98-13690

PLATE¤ OPERATING,PIN PULLER LEVER

SN: 19001-UP

1шт.

12

09685-00001

PLATE¤ OPERATING,RIPPER LOCK

SN: 17001-UP

1шт.

13

09671-00002

PLATE¤ OPERATING,VARIABLE RIPPER

SN: 25001-UP

1шт.

|13

09671-00001

PLATE¤ OPERATING,RIGID RIPPER

SN: 25001-UP

1шт.

14

09652-00101

PLATE¤ CAUTION,WATER DRAIN

SN: 25001-UP

1шт.

15

09668-00000

PLATE¤ SAFETY

SN: 17001-UP

1шт.

16

6128-82-4990

PLATE¤ CAUTION,APS CONTROL

SN: 25001-UP

1шт.

17

6128-81-4991

PLATE¤ OPERATING,APS CONTROL

SN: 25001-UP

1шт.

18

09654-00000

PLATE¤ SAFETY

SN: 17001-UP

1шт.

19

09651-00000

PLATE¤ SAFETY,BEFORE OPERATING

SN: 17001-UP

1шт.

20

09667-00000

PLATE¤ SAFETY

SN: 17001-UP

1шт.

21

09685-00003

PLATE¤ OPERATING

SN: 17001-UP

1шт.

22

09670-00004

PLATE¤ OPERATING,FOR STRAIGHT TILT AND U-DOZER

SN: 25001-UP

1шт.

|22

09670-00001

PLATE¤ OPERATING,FOR STRAIGHT AND ANGLE DOZER

SN: 17001-UP

1шт.

23

09656-00080

PLATE¤ INSTRUCTION,FUEL STRAINER

SN: 17001-UP

1шт.

24

09691-42150

PLATE¤ MARK

SN: 5507-5507

4шт.

|24

175-98-31470

PLATE¤ MARK

SN: 31173-UP

4шт.

|24

09691-42155

PLATE¤ MARK

SN: 5508-31172

4шт.

25

09687-00070

PLATE¤ OPERATING

SN: 5507-5507

1шт.

26

09602-01643

PLATE¤ NAME,(LIMITED SUPPLY)

SN: 5508-UP

1шт.

27

01220-60408

SCREW

SN: 5508-UP

4шт.

28

195-98-13410

PLATE¤ CAUTION

SN: 17001-UP

1шт.

29

09679-02002

PLATE¤ OPERATING

SN: 17001-UP

1шт.

30

09685-00001

PLATE¤ OPERATING

SN: 17001-UP

1шт.

31

09685-00002

PLATE¤ OPERATING

SN: 17001-UP

1шт.

32

09692-42150

PLATE¤ MARK

SN: 5507-5507

1шт.

|32

09690-B0500

PLATE¤ MARK

SN: 31173-UP

1шт.

|32

09692-42155

PLATE¤ MARK

SN: 5508-31172

1шт.

33

09657-00000

PLATE¤ SAFETY

SN: 17001-UP

2шт.

34

09620-30200

PLATE¤ NAME

SN: 25001-UP

2шт.

35

04418-13060

SCREW

SN: 25001-UP

8шт.

36

09682-00020

PLATE¤ OPERATING,DECOMP LEVER

SN: 5507-5507

1шт.

37

09684-00040

PLATE¤ NAME,OIL FILTER

SN: 5507-5507

1шт.

38

09609-04008

PLATE¤ NAME,LAMP SWITCH

SN: 5507-5507

1шт.

39

09609-04007

PLATE¤ NAME,PRE-HEATER SWITCH

SN: 5507-5507

1шт.

40

09683-00060

PLATE¤ OPERATING,STARTING SWITCH

SN: 5507-5507

1шт.

41

195-98-23370

PLATE¤ OPERATING

SN: 30138-UP

1шт.

42

09960-61012

PLATE¤ MARK

SN: 30138-UP

2шт.

Выбрано товаров: 48