Запчасти Komatsu D155A-1 БАЛКА БАЛАНСИРА(№-) ЧАСТИ КОРПУСА

Схема запчастей Komatsu D155A-1 - БАЛКА БАЛАНСИРА(№-) ЧАСТИ КОРПУСА
FIT
1:1
100%

Артикул

Название

Примечание

Количество

|1

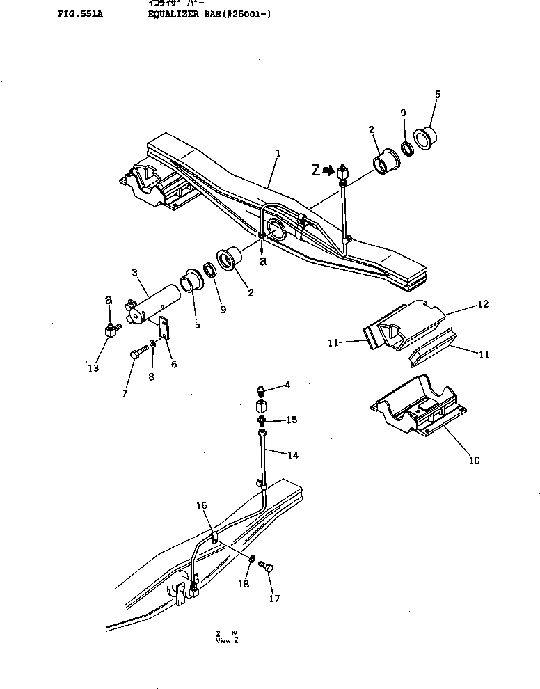
175-50-00025

EQUALIZER BAR ASS'Y

SN: 28631-UP

1шт.

|1

0

EQUALIZER BAR ASS'Y

SN: 15001-28630

1шт.

1

0

BAR

SN: 28631-UP

1шт.

|1

0

BAR

SN: 15001-28630

1шт.

2

177-50-11160

BUSHING

SN: 15001-UP

2шт.

3

175-50-21134

PIN

SN: 25001-UP

1шт.

4

07020-00000

FITTING,GREASE

SN: 25001-UP

1шт.

5

175-50-31160

BUSHING

SN: 10263-UP

2шт.

6

04082-00616

LOCK

SN: 10263-UP

2шт.

7

0

BOLT

SN: 10263-UP

4шт.

8

01643-31645

WASHER

SN: 25001-UP

4шт.

9

177-50-11170

SEAL,DUST

SN: 15001-UP

2шт.

10

175-50-32111

SUPPORT

SN: 10263-UP

2шт.

11

170-50-12110

PAD

SN: 5508-UP

4шт.

12

175-50-22131

SEAT

SN: 5508-UP

2шт.

13

176-43-41350

ELBOW

SN: 25001-UP

1шт.

14

175-50-21190

TUBE

SN: 25001-UP

1шт.

15

07213-50710

CONNECTOR

SN: 25001-UP

1шт.

16

566-16-11970

CLIP

SN: 25001-UP

2шт.

17

01010-31016

BOLT

SN: 25001-UP

1шт.

18

01643-31032

WASHER

SN: 25001-UP

1шт.

Выбрано товаров: 21