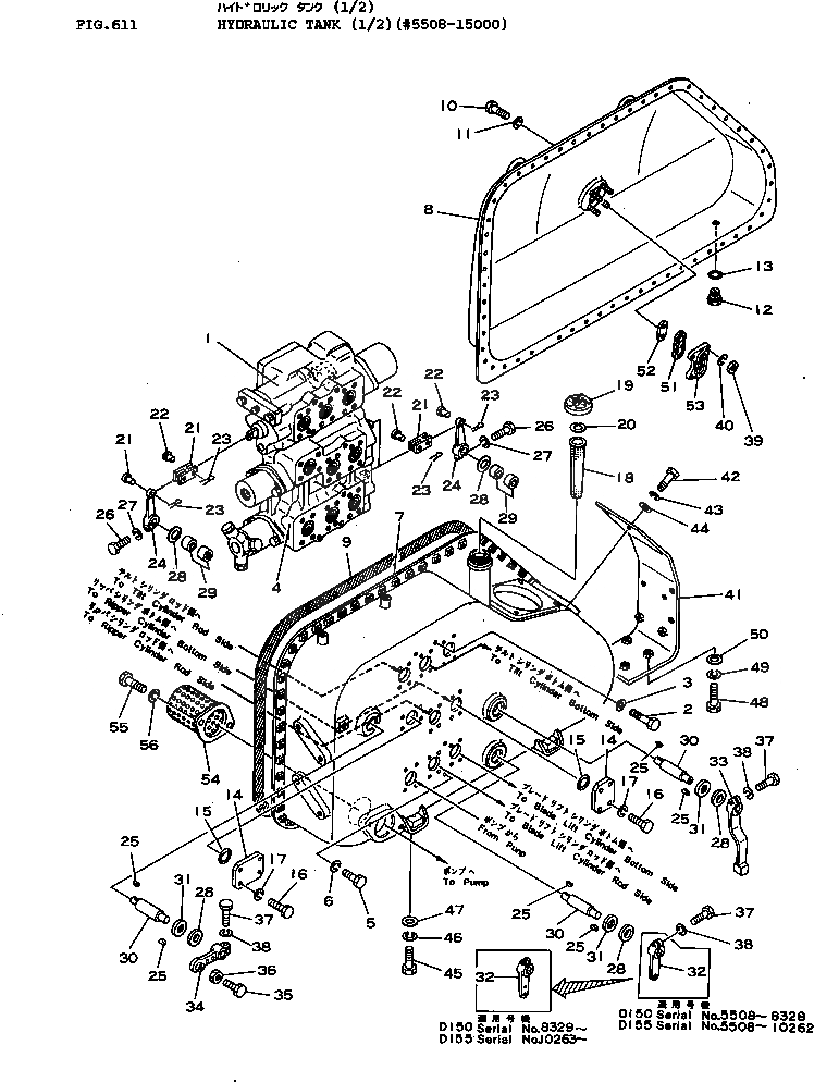
Запчасти Komatsu D155A-1 ГИДР. БАК. (/)(№8-) УПРАВЛ-Е РАБОЧИМ ОБОРУДОВАНИЕМ

Схема запчастей Komatsu D155A-1 - ГИДР. БАК. (/)(№8-) УПРАВЛ-Е РАБОЧИМ ОБОРУДОВАНИЕМ
FIT
1:1
100%

Артикул

Название

Примечание

Количество

|1

175-60-00202

TANK ASS'Y

SN: 5508-15000

1шт.

|$$2

THIS ASSEMBLY CONSISTS OF ALL PARTS SHOWN IN FIGS.611¤ 612¤ 621¤ 621A¤ 622¤ 622A AND 625.

-1шт.

1

701-41-11002

VALVE ASS'Y

SN: (A4-613)-15000

1шт.

|1

701-41-11001

VALVE ASS'Y

SN: 8651-(A4-612)

1шт.

|1

701-41-11000

VALVE ASS'Y

SN: 5508-8650

1шт.

2

01010-31230

BOLT

SN: 6091-@

3шт.

|2

01040-31230

BOLT

SN: 5508-6090

3шт.

3

01602-01236

WASHER

SN: 5508-@

3шт.

4

701-43-11005

VALVE ASS'Y

SN: 10263-15000

1шт.

|4

701-43-11004

VALVE ASS'Y

SN: 8651-10262

1шт.

|4

701-43-11003

VALVE ASS'Y

SN: 6940-8650

1шт.

|4

701-43-11000

VALVE ASS'Y

SN: 6553-6588

1шт.

|4

701-43-11000

VALVE ASS'Y

SN: 5508-6415

1шт.

5

01010-31230

BOLT

SN: 6091-@

4шт.

|5

01040-31230

BOLT

SN: 5508-6090

4шт.

6

01602-01236

WASHER

SN: 5508-@

4шт.

7

175-60-27115

TANK

SN: 7272-15000

1шт.

|7

0

TANK

SN: 6091-7271

1шт.

|7

0

TANK

SN: 6091-7271

1шт.

|7

0

TANK

SN: 6091-7271

1шт.

|7

175-60-27111

TANK

SN: 5508-6090

1шт.

8

175-60-27122

TANK

SN: 10263-15000

1шт.

|8

175-60-27121

TANK

SN: 7272-10262

1шт.

|8

175-60-27120

TANK

SN: 5508-7271

1шт.

9

175-60-27132

GASKET

SN: 8651-@

1шт.

|9

0

GASKET

SN: 5508-8650

1шт.

10

01010-31025

BOLT

SN: 6091-@

55шт.

|10

01040-31025

BOLT

SN: 5508-6090

55шт.

11

01602-01030

WASHER

SN: 5508-@

55шт.

12

07044-13620

PLUG

SN: 5508-@

1шт.

13

07000-03032

O-RING

SN: 5508-15000

1шт.

14

07378-01460

FLANGE

SN: 5508-@

2шт.

15

07000-13048

O-RING

SN: 5508-@

2шт.

16

01010-31240

BOLT

SN: 6091-@

8шт.

|16

01040-31240

BOLT

SN: 5508-6090

8шт.

17

01602-01236

WASHER

SN: 5508-@

8шт.

18

130-60-13260

STRAINER

SN: 5508-@

1шт.

19

07051-00000

CAP

SN: 5508-@

1шт.

|19

07051-00003

GASKET

SN: 5508-@

1шт.

20

150-60-22410

RING

SN: 5508-@

1шт.

21

141-60-32170

YOKE

SN: 6091-@

6шт.

|21

04213-01040

YOKE

SN: 5508-6090

3шт.

22

04205-01028

PIN

SN: 5508-@

6шт.

23

04050-03015

PIN

SN: 5508-@

6шт.

24

195-60-16570

LEVER

SN: 5508-15000

3шт.

25

04010-00519

KEY

SN: 5508-@

6шт.

26

01050-30830

BOLT

SN: 6091-@

3шт.

|26

01000-30830

BOLT

SN: 5508-6090

3шт.

27

01602-00825

WASHER

SN: 5508-@

3шт.

28

01640-02440

WASHER

SN: 5508-@

6шт.

29

06120-02520

BEARING

SN: 5508-@

6шт.

30

175-60-27290

SHAFT

SN: 5508-@

3шт.

31

154-60-12370

SEAL

SN: 5508-@

3шт.

32

175-60-27311

LEVER

SN: 10263-@

1шт.

|32

175-60-27310

LEVER

SN: 5508-10262

1шт.

33

175-60-27320

LEVER

SN: 5508-15000

1шт.

34

175-60-27330

LEVER

SN: 5508-@

1шт.

35

154-60-41220

BOLT

SN: 6091-@

1шт.

|35

195-61-15420

BOLT

SN: 5508-6090

1шт.

36

01580-01613

NUT

SN: 6091-@

1шт.

|36

01504-31608

NUT

SN: 5508-6090

1шт.

37

01010-31040

BOLT

SN: 6091-@

3шт.

|37

01040-31040

BOLT

SN: 5508-6090

3шт.

38

01602-01030

WASHER

SN: 5508-@

3шт.

39

01580-01008

NUT

SN: 6091-@

4шт.

|39

01503-31008

NUT

SN: 5508-6090

4шт.

40

01602-01030

WASHER

SN: 5508-@

4шт.

41

175-60-27371

BRACKET

SN: 5508-@

1шт.

42

01010-31235

BOLT

SN: 6091-@

4шт.

|42

01040-31235

BOLT

SN: 5508-6090

4шт.

43

01602-01236

WASHER

SN: 5508-@

4шт.

44

01643-01232

WASHER

SN: 5508-@

4шт.

45

01010-31855

BOLT

SN: 7272-15000

5шт.

|45

01010-31855

BOLT

SN: 6091-7271

4шт.

|45

01040-31855

BOLT

SN: 5508-6090

4шт.

46

01602-01854

WASHER

SN: 7272-@

5шт.

|46

01602-01854

WASHER

SN: 5508-7271

4шт.

47

01640-21826

WASHER

SN: 7272-15000

5шт.

|47

01640-21826

WASHER

SN: 5508-7271

4шт.

48

01010-31435

BOLT

SN: 6091-15000

4шт.

|48

01040-31435

BOLT

SN: 5508-6090

4шт.

49

01602-01442

WASHER

SN: 5508-@

4шт.

50

01643-01432

WASHER

SN: 5508-15000

4шт.

|50

155-60-12300

LEVEL GAUGE ASS'Y

SN: 5508-@

1шт.

51

155-60-12310

PACKING

SN: 5508-@

1шт.

52

155-60-12320

PLATE

SN: 5508-@

1шт.

53

155-60-12330

CASE

SN: 5508-@

1шт.

54

155-60-12362

STRAINER

SN: 5508-15000

1шт.

55

01010-31435

BOLT

SN: 5508-15000

2шт.

56

01602-01442

WASHER

SN: 5508-15000

2шт.

Выбрано товаров: 90