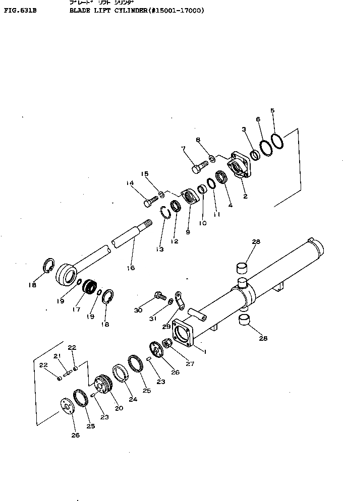
Запчасти Komatsu D155A-1 ЦИЛИНДР ПОДЪЕМА ОТВАЛА(№-7) УПРАВЛ-Е РАБОЧИМ ОБОРУДОВАНИЕМ

Схема запчастей Komatsu D155A-1 - ЦИЛИНДР ПОДЪЕМА ОТВАЛА(№-7) УПРАВЛ-Е РАБОЧИМ ОБОРУДОВАНИЕМ
FIT
1:1
100%

Артикул

Название

Примечание

Количество

|1

175-63-13100

CYLINDER ASS'Y,L.H.

SN: 15001-17000

1шт.

|1

175-63-13200

CYLINDER ASS'Y,R.H.

SN: 15001-17000

1шт.

|$$3

THESE ASSEMBLIES CONSIST OF ALL PARTS SHOWN IN FIGS.631B AND 632B.

-1шт.

1

175-63-13140

CYLINDER

SN: 15001-17000

1шт.

2

175-63-13130

HEAD

SN: 15001-@

1шт.

3

07177-07530

BUSHING

SN: 15001-@

1шт.

4

145-63-22173

U-PACKING (KIT)

SN: 15001-17000

1шт.

5

07000-12135

O-RING (KIT)

SN: 15001-@

1шт.

6

07146-02136

RING (KIT)

SN: 15001-@

1шт.

7

01010-32470

BOLT

SN: 15001-@

4шт.

8

01602-02472

WASHER

SN: 15001-@

4шт.

9

175-63-13630

GLAND

SN: 17001-@

1шт.

|9

0

GLAND

SN: 15001-17000

1шт.

10

07177-07515

BUSHING

SN: 15001-@

1шт.

11

07000-03095

O-RING (KIT)

SN: 15001-@

1шт.

12

07016-00758

SEAL

SN: 15001-17000

1шт.

13

07179-00097

RING

SN: 15001-@

1шт.

14

01010-31655

BOLT

SN: 15001-@

2шт.

15

01602-01648

WASHER

SN: 15001-@

2шт.

16

175-63-13120

ROD

SN: 15001-@

1шт.

17

07137-05008

BUSHING

SN: 15001-@

1шт.

|17

07137-00060

SEAL,DUST (KIT)

SN: 15001-@

2шт.

18

04065-01140

RING

SN: 15001-@

2шт.

19

07000-03050

O-RING (KIT)

SN: 15001-@

2шт.

|19

175-63-12983

PISTON ASS'Y

SN: 15001-@

1шт.

20

0

PISTON

SN: 15001-@

1шт.

21

0

VALVE

SN: 15001-@

4шт.

22

0

SEAT

SN: 15001-@

8шт.

23

04020-00616

PIN

SN: 15001-@

2шт.

24

07155-01435

RING (KIT)

SN: 15001-@

1шт.

25

145-63-32471

PACKING (KIT)

SN: 15001-17000

2шт.

26

175-63-12352

RETAINER

SN: 15001-17000

2шт.

27

07165-14547

NUT

SN: 15001-@

1шт.

28

175-63-12540

BUSHING

SN: 15001-@

2шт.

29

175-63-12370

PLATE

SN: 15001-@

1шт.

30

01010-31245

BOLT

SN: 15001-@

1шт.

31

01602-01236

WASHER

SN: 15001-@

1шт.

Выбрано товаров: 37