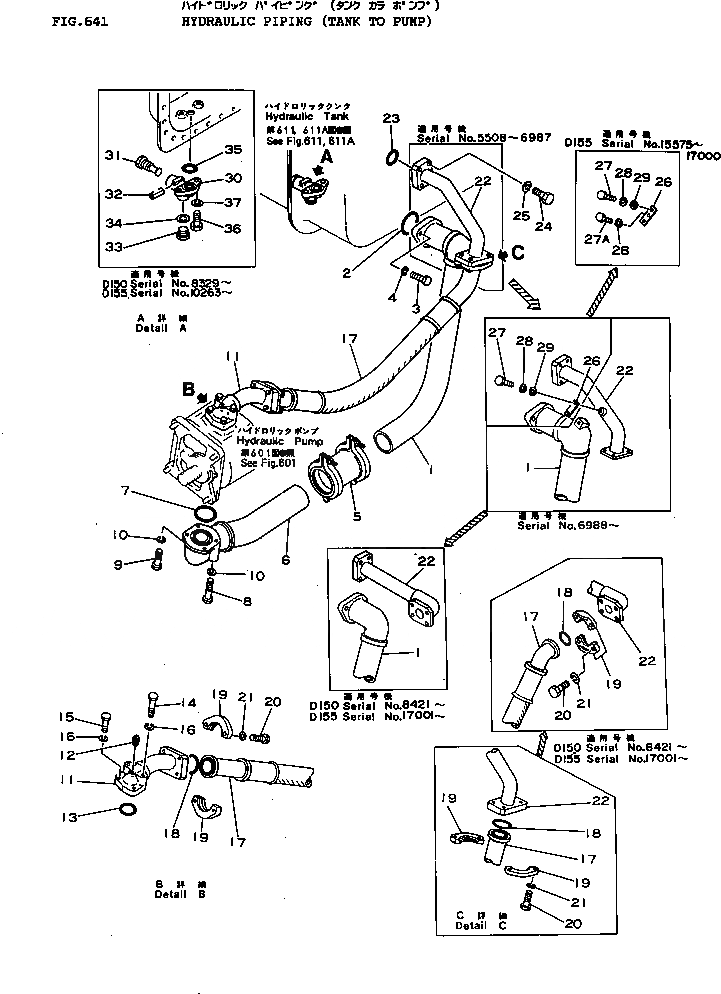
Запчасти Komatsu D155A-1 ГИДРОЛИНИЯ (ИЗ БАКА В НАСОС) УПРАВЛ-Е РАБОЧИМ ОБОРУДОВАНИЕМ

Схема запчастей Komatsu D155A-1 - ГИДРОЛИНИЯ (ИЗ БАКА В НАСОС) УПРАВЛ-Е РАБОЧИМ ОБОРУДОВАНИЕМ
FIT
1:1
100%

Артикул

Название

Примечание

Количество

1

175-60-26114

TUBE

SN: 17001-UP

1шт.

|1

175-60-26113

TUBE

SN: 10263-17000

1шт.

|1

175-60-26112

TUBE

SN: 6988-10262

1шт.

|1

0

TUBE

SN: 6843-6987

1шт.

|1

0

TUBE

SN: 5508-6842

1шт.

|$$6

(175-60-26112{01010-31455)}

-1шт.

2

07000-02075

O-RING

SN: 5508-UP

1шт.

3

01010-31455

BOLT

SN: 6843-UP

2шт.

|3

01010-31445

BOLT

SN: 6091-6842

2шт.

|3

01040-31445

BOLT

SN: 5508-6090

2шт.

4

01643-31445

WASHER

SN: 25001-UP

2шт.

|4

0

WASHER,SPRING

SN: 5508-25000

2шт.

|5

07332-02400

COUPLING

SN: 11533-UP

1шт.

|5

175-03-34160

JOINT

SN: 5508-11532

1шт.

5

07332-52400

GASKET

SN: 11533-UP

2шт.

|5

175-03-34170

GASKET

SN: 5508-11532

2шт.

|5

0

CLAMP

SN: 11533-UP

2шт.

6

175-60-26141

TUBE

SN: 10263-UP

1шт.

|6

175-60-26140

TUBE

SN: 508-10262

1шт.

7

07000-02070

O-RING

SN: 5508-UP

1шт.

8

01011-31200

BOLT

SN: 5508-UP

2шт.

9

01010-31245

BOLT

SN: 5508-UP

2шт.

10

01602-01236

WASHER,SPRING

SN: 5508-UP

4шт.

|11

175-60-00252

TUBE ASS'Y

SN: 17001-UP

1шт.

|11

175-60-00251

TUBE ASS'Y

SN: 6988-17000

1шт.

|11

0

TUBE ASS'Y

SN: 5508-6987

1шт.

11

0

TUBE

SN: 17001-UP

1шт.

|11

0

TUBE

SN: 6988-17000

1шт.

|11

0

TUBE

SN: 5508-6987

1шт.

12

07042-10108

PLUG

SN: 5508-UP

1шт.

13

07000-13050

O-RING

SN: 5508-UP

1шт.

14

01010-31285

BOLT

SN: 5508-UP

2шт.

15

01010-31255

BOLT

SN: 5508-UP

2шт.

16

01602-01236

WASHER,SPRING

SN: 5508-UP

4шт.

17

07114-01409

HOSE

SN: 5508-UP

1шт.

18

07000-13048

O-RING

SN: 5508-UP

2шт.

19

07371-01465

FLANGE

SN: 17001-UP

4шт.

|19

07371-01460

FLANGE

SN: 5508-17000

4шт.

20

07372-01240

BOLT

SN: 17001-UP

8шт.

|20

07372-01235

BOLT

SN: 5508-17000

8шт.

21

01643-51232

WASHER

SN: 21035-UP

8шт.

|21

0

WASHER,SPRING

SN: 5508-21034

8шт.

22

175-60-26182

TUBE

SN: 17001-UP

1шт.

|22

175-60-26181

TUBE

SN: 6988-17000

1шт.

|22

0

TUBE

SN: 5508-6987

1шт.

23

07000-13048

O-RING

SN: 5508-UP

1шт.

24

01010-31250

BOLT

SN: 5508-UP

4шт.

25

01602-01236

WASHER,SPRING

SN: 5508-UP

4шт.

26

175-60-26190

PLATE

SN: 6988-17000

1шт.

27

01010-31225

BOLT

SN: 6988-17000

2шт.

27A

01010-31220

BOLT

SN: 15575-17000

2шт.

28

01602-01236

WASHER,SPRING

SN: 15575-17000

3шт.

|28

01602-01236

WASHER,SPRING

SN: 6988-15574

2шт.

29

01643-01232

WASHER

SN: 6988-17000

2шт.

|30

155-60-12500

VALVE ASS'Y

SN: 10263-UP

1шт.

30

155-60-12510

BODY

SN: 10263-UP

1шт.

31

155-60-12520

VALVE

SN: 10263-UP

1шт.

32

04025-00532

PIN

SN: 10263-UP

1шт.

33

07040-12412

PLUG

SN: 10263-UP

1шт.

34

07005-02416

GASKET

SN: 10263-UP

1шт.

35

07000-03025

O-RING

SN: 10263-UP

1шт.

36

01010-31025

BOLT

SN: 10263-UP

2шт.

37

01602-01030

WASHER

SN: 10263-UP

2шт.

Выбрано товаров: 0