Запчасти Komatsu D155A-1 СЕРВОКЛАПАН И СЕДЛО КЛАПАНА(№7-) УПРАВЛ-Е РАБОЧИМ ОБОРУДОВАНИЕМ

Схема запчастей Komatsu D155A-1 - СЕРВОКЛАПАН И СЕДЛО КЛАПАНА(№7-) УПРАВЛ-Е РАБОЧИМ ОБОРУДОВАНИЕМ
FIT
1:1
100%

Артикул

Название

Примечание

Количество

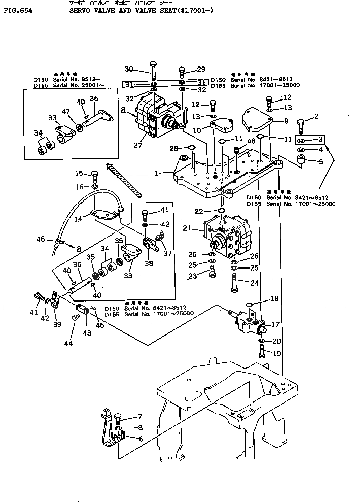
1

195-61-21230

SEAT

SN: 17001-UP

1шт.

2

01010-31485

BOLT

SN: 25001-UP

3шт.

|2

0

BOLT

SN: 17001-25000

3шт.

3

01602-01442

WASHER,SPRING

SN: 17001-25000

3шт.

4

01643-31445

WASHER

SN: 17001-UP

3шт.

5

198-21-12240

BOSS

SN: 17001-UP

3шт.

6

195-61-21270

BRACKET

SN: 17001-UP

1шт.

7

01010-31225

BOLT

SN: 17001-UP

2шт.

8

01602-01236

WASHER,SPRING

SN: 17001-UP

2шт.

9

195-61-21420

PLATE

SN: 17001-UP

1шт.

10

195-61-21430

PLATE

SN: 17001-UP

1шт.

11

07000-03022

O-RING

SN: 17001-UP

4шт.

12

01010-31030

BOLT

SN: 17001-UP

6шт.

13

01602-01030

WASHER,SPRING

SN: 17001-UP

6шт.

14

195-78-42380

BRACKET

SN: 17001-UP

1шт.

15

01010-31255

BOLT

SN: 17001-UP

2шт.

16

01602-01236

WASHER,SPRING

SN: 17001-UP

2шт.

17

700-62-54000

SELECTOR VALVE A.

SN: 17001-UP

1шт.

18

07000-03022

O-RING

SN: 17001-UP

2шт.

19

01010-31065

BOLT

SN: 17001-UP

3шт.

20

01602-01030

WASHER,SPRING

SN: 17001-UP

3шт.

21

702-12-14000

SERVO VALVE ASS'Y

SN: 17001-UP

1шт.

22

07000-03022

O-RING

SN: 17001-UP

2шт.

23

01010-31040

BOLT

SN: 17001-UP

2шт.

24

01011-31040

BOLT

SN: 25001-UP

1шт.

|24

0

BOLT

SN: 17001-25000

1шт.

25

01602-01030

WASHER

SN: 17001-25000

3шт.

26

01643-31032

WASHER

SN: 17001-UP

3шт.

27

702-12-13000

SERVO VALVE ASS'Y

SN: 25001-UP

1шт.

28

07000-03022

O-RING

SN: 17001-UP

2шт.

29

01010-31040

BOLT

SN: 17001-UP

2шт.

30

01011-31040

BOLT

SN: 25001-UP

1шт.

|30

0

BOLT

SN: 17001-25000

1шт.

31

01602-01030

WASHER,SPRING

SN: 17001-UP

3шт.

32

01643-31032

WASHER

SN: 17001-UP

3шт.

33

195-78-42350

SUPPORT

SN: 17001-UP

1шт.

34

195-61-34130

BEARING

SN: 25001-UP

2шт.

|34

06120-02016

BEARING

SN: 17001-25000

2шт.

35

06122-02004

SEAL

SN: 17001-25000

2шт.

36

175-61-13722

SHAFT

SN: 25001-UP

1шт.

|36

175-61-13721

SHAFT

SN: 17001-25000

1шт.

37

07020-00900

FITTING,GREASE

SN: 17001-25000

1шт.

38

195-78-42320

LEVER

SN: 17001-25000

1шт.

39

195-78-42340

LEVER

SN: 17001-UP

1шт.

40

04010-00519

KEY

SN: 25001-UP

1шт.

|40

04010-00519

KEY

SN: 17001-25000

2шт.

41

01010-30830

BOLT

SN: 17001-UP

2шт.

42

01602-00825

WASHER,SPRING

SN: 17001-UP

2шт.

43

195-78-42330

YOKE

SN: 17001-UP

1шт.

44

04205-00618

PIN

SN: 17001-UP

2шт.

45

04050-01610

PIN

SN: 17001-UP

2шт.

46

08036-10810

CLIP

SN: 17001-UP

1шт.

47

175-15-45620

STOPPER

SN: 25001-UP

1шт.

48

07043-50617

PLUG

SN: 25001-UP

7шт.

Выбрано товаров: 54