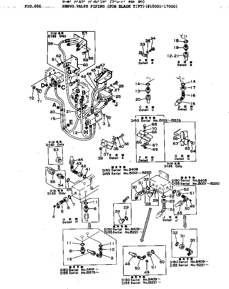
Запчасти Komatsu D155A-1 СИСТЕМА ТРУБ СЕРВОКЛАПАНА (ДЛЯ ОТВАЛ TIFT)(№-7) УПРАВЛ-Е РАБОЧИМ ОБОРУДОВАНИЕМ

Схема запчастей Komatsu D155A-1 - СИСТЕМА ТРУБ СЕРВОКЛАПАНА (ДЛЯ ОТВАЛ TIFT)(№-7) УПРАВЛ-Е РАБОЧИМ ОБОРУДОВАНИЕМ
FIT
1:1
100%

Артикул

Название

Примечание

Количество

1

175-61-23110

BLOCK

SN: 15001-17000

1шт.

2

01010-31230

BOLT

SN: 15001-17000

2шт.

3

01602-01236

WASHER,SPRING

SN: 15001-17000

2шт.

4

07042-00108

PLUG

SN: 15001-17000

1шт.

5

07231-10422

ELBOW

SN: 15001-17000

1шт.

6

07239-12009

NUT

SN: 15001-17000

1шт.

7

07002-02034

O-RING

SN: 15001-17000

1шт.

8

07230-10315

UNION

SN: 15575-17000

1шт.

|8

07230-10315

UNION

SN: 15001-15574

2шт.

9

07232-10315

ELBOW

SN: 15575-17000

1шт.

10

07239-12009

NUT

SN: 15575-17000

1шт.

11

07002-02034

O-RING

SN: 15001-17000

2шт.

12

07102-20304

HOSE

SN: 15575-17000

1шт.

|12

07102-20305

HOSE

SN: 15001-15574

1шт.

13

07230-10315

UNION

SN: 15001-17000

1шт.

14

07002-02034

O-RING

SN: 15001-17000

2шт.

15

07102-20308

HOSE

SN: 15575-17000

1шт.

|15

07102-20309

HOSE

SN: 15001-15574

1шт.

16

07234-10315

ELBOW

SN: 15001-17000

1шт.

17

07239-12009

NUT

SN: 15001-17000

1шт.

18

07002-02034

O-RING

SN: 15001-17000

2шт.

19

07230-10315

UNION

SN: 15001-17000

2шт.

20

07102-20307

HOSE

SN: 15001-17000

1шт.

21

07102-20305

HOSE

SN: 15001-17000

1шт.

22

07002-02034

O-RING

SN: 15001-17000

2шт.

23

07239-12009

NUT

SN: 15001-17000

2шт.

24

07234-10315

ELBOW

SN: 15001-17000

2шт.

25

175-61-23120

BLOCK

SN: 15001-17000

1шт.

26

01010-31235

BOLT

SN: 15001-17000

2шт.

27

01602-01236

WASHER,SPRING

SN: 15001-17000

2шт.

28

07040-12012

PLUG

SN: 15001-17000

1шт.

29

07002-02034

O-RING

SN: 15001-17000

1шт.

30

07232-10422

ELBOW

SN: 15221-17000

1шт.

|30

07234-10422

ELBOW

SN: 15001-15220

1шт.

31

07239-12009

NUT

SN: 15001-17000

1шт.

32

07002-02034

O-RING

SN: 15001-17000

1шт.

33

175-79-31250

CLIP

SN: 15001-17000

1шт.

34

01010-31020

BOLT

SN: 15001-17000

1шт.

35

01602-01030

WASHER,SPRING

SN: 15001-17000

1шт.

36

175-79-31250

CLIP

SN: 15001-17000

1шт.

37

195-79-12250

CLIP

SN: 15001-17000

1шт.

38

01010-31035

BOLT

SN: 15001-17000

1шт.

39

01580-01008

NUT

SN: 15001-17000

1шт.

40

01602-01030

WASHER,SPRING

SN: 15001-17000

1шт.

41

07002-02034

O-RING

SN: 15001-17000

1шт.

42

07239-12009

NUT

SN: 15001-17000

1шт.

43

07232-10315

ELBOW

SN: 15001-17000

1шт.

44

07102-20303

HOSE

SN: 15001-17000

1шт.

45

175-61-13890

BRACKET

SN: 15001-17000

1шт.

46

01010-31030

BOLT

SN: 15001-17000

2шт.

47

01602-01030

WASHER,SPRING

SN: 15001-17000

2шт.

48

07102-20303

HOSE

SN: 15001-17000

1шт.

49

07042-00108

PLUG

SN: 15001-17000

1шт.

50

07233-10315

ELBOW

SN: 15221-17000

1шт.

|50

07231-10315

ELBOW

SN: 15001-15220

1шт.

51

07239-12009

NUT

SN: 15001-17000

1шт.

52

07002-02034

O-RING

SN: 15001-17000

1шт.

53

07040-12012

PLUG

SN: 5507-5507

1шт.

54

07230-10315

UNION

SN: 15001-17000

1шт.

55

07002-02034

O-RING

SN: 15001-17000

1шт.

56

07102-20309

HOSE

SN: 15001-17000

1шт.

57

175-61-23190

BRACKET

SN: 15001-17000

1шт.

58

01010-31035

BOLT

SN: 15001-17000

2шт.

59

01602-01030

WASHER,SPRING

SN: 15001-17000

2шт.

60

175-61-13920

BRACKET

SN: 15001-17000

1шт.

61

01010-31025

BOLT

SN: 15001-17000

2шт.

62

01602-01030

WASHER,SPRING

SN: 15001-17000

2шт.

63

175-79-31250

CLIP

SN: 15001-17000

2шт.

64

01010-31020

BOLT

SN: 15001-17000

2шт.

65

01602-01030

WASHER,SPRING

SN: 15001-17000

2шт.

66

175-79-31250

CLIP

SN: 15001-15574

1шт.

67

195-79-12250

CLIP

SN: 15001-15574

1шт.

68

01010-31035

BOLT

SN: 15001-15574

1шт.

69

01580-01008

NUT

SN: 15001-15574

1шт.

70

01602-01030

WASHER,SPRING

SN: 15001-15574

1шт.

71

01010-31080

BOLT

SN: 15001-17000

8шт.

72

01602-01030

WASHER,SPRING

SN: 15001-17000

8шт.

Выбрано товаров: 0