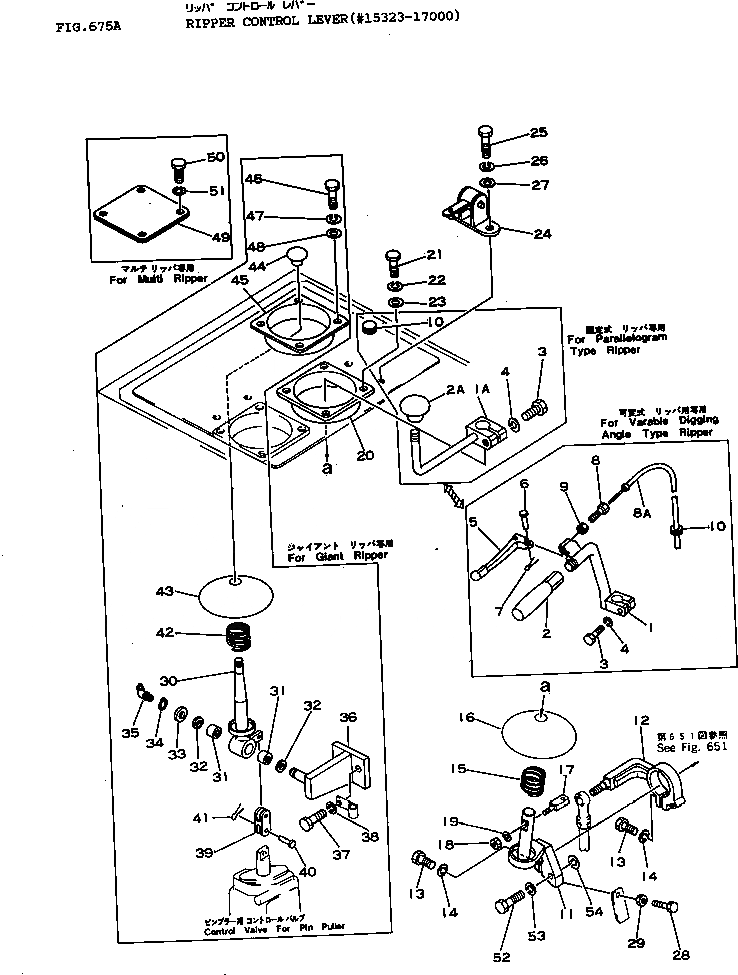
Запчасти Komatsu D155A-1 РЫЧАГ УПРАВЛЕНИЯ РЫХЛИТЕЛЕМ(№-7) УПРАВЛ-Е РАБОЧИМ ОБОРУДОВАНИЕМ

Схема запчастей Komatsu D155A-1 - РЫЧАГ УПРАВЛЕНИЯ РЫХЛИТЕЛЕМ(№-7) УПРАВЛ-Е РАБОЧИМ ОБОРУДОВАНИЕМ
FIT
1:1
100%

Артикул

Название

Примечание

Количество

1

175-61-13950

LEVER

SN: 15078-@

1шт.

1A

175-61-13561

LEVER

SN: 15001-@

1шт.

2

09305-11400

KNOB

SN: 15078-@

1шт.

2A

09304-01250

KNOB

SN: 15001-@

1шт.

3

01010-30825

BOLT

SN: 15001-@

1шт.

4

01602-00825

WASHER

SN: 15001-@

1шт.

5

175-61-13940

LEVER

SN: 15078-@

1шт.

6

04205-00618

PIN

SN: 15078-@

1шт.

7

04050-01610

PIN

SN: 15078-@

1шт.

8

175-61-13990

BOLT

SN: 15078-@

1шт.

8A

175-61-13960

CABLE

SN: 15078-@

1шт.

9

175-61-13980

NUT

SN: 15078-@

1шт.

10

08037-01008

GROMMET

SN: 15078-@

1шт.

10A

09415-01008

CAP

SN: 15078-@

1шт.

11

175-61-13731

LEVER

SN: 15323-17000

1шт.

12

175-61-13740

LEVER

SN: 15006-17000

1шт.

13

01010-30830

BOLT

SN: 15001-17000

2шт.

14

01602-00825

WASHER

SN: 15001-17000

2шт.

15

175-61-13570

SPRING

SN: 15001-@

1шт.

16

175-61-13580

SEAL

SN: 15001-@

1шт.

17

154-61-16460

HOOK

SN: 15001-@

1шт.

18

01580-00605

NUT

SN: 15001-@

1шт.

19

01602-00619

WASHER

SN: 15001-@

1шт.

20

154-61-16420

COVER

SN: 15001-17000

1шт.

21

01010-30825

BOLT

SN: 15001-17000

4шт.

22

01602-00825

WASHER

SN: 15001-@

4шт.

23

154-61-16570

WASHER

SN: 15001-17000

4шт.

24

154-61-16900

LOCK ASS'Y

SN: 15001-17000

1шт.

25

01010-30825

BOLT

SN: 15001-17000

2шт.

26

01602-00825

WASHER

SN: 15001-@

2шт.

27

175-61-23220

WASHER

SN: 15001-17000

2шт.

28

01010-31050

BOLT

SN: 15323-17000

1шт.

29

01580-01008

NUT

SN: 15323-17000

1шт.

30

175-61-13840

LEVER

SN: 15001-17000

1шт.

31

06120-01612

BEARING

SN: 15001-17000

2шт.

32

06122-01603

SEAL

SN: 15001-17000

2шт.

33

01640-01626

WASHER

SN: 15001-17000

1шт.

34

04064-01610

RING

SN: 15001-17000

1шт.

35

07020-00900

FITTING

SN: 15001-17000

1шт.

36

175-61-13850

BRACKET

SN: 15001-17000

1шт.

37

01010-31040

BOLT

SN: 15001-17000

2шт.

38

01602-01030

WASHER

SN: 15001-17000

2шт.

39

04213-00830

YOKE

SN: 15001-17000

1шт.

40

04205-00822

PIN

SN: 15001-17000

2шт.

41

04050-02012

PIN

SN: 15001-17000

2шт.

42

175-61-13570

SPRING

SN: 15001-@

1шт.

43

175-61-13580

SEAL

SN: 15001-@

1шт.

44

09304-00835

KNOB

SN: 15001-@

1шт.

45

154-61-16420

COVER

SN: 15001-17000

1шт.

46

01010-30825

BOLT

SN: 15001-17000

4шт.

47

01602-00825

WASHER

SN: 15001-@

4шт.

48

154-61-16570

WASHER

SN: 15001-17000

4шт.

49

175-61-13860

COVER

SN: 15001-17000

1шт.

50

01010-30825

BOLT

SN: 15001-17000

4шт.

51

01602-00825

WASHER

SN: 15001-17000

4шт.

52

01010-30840

BOLT,(FOR POSITION FIXING)

SN: 15001-17000

1шт.

53

01602-00825

WASHER,(FOR POSITION FIXING)

SN: 15001-@

1шт.

54

01643-30823

WASHER,(FOR POSITION FIXING)

SN: 15001-17000

1шт.

Выбрано товаров: 58