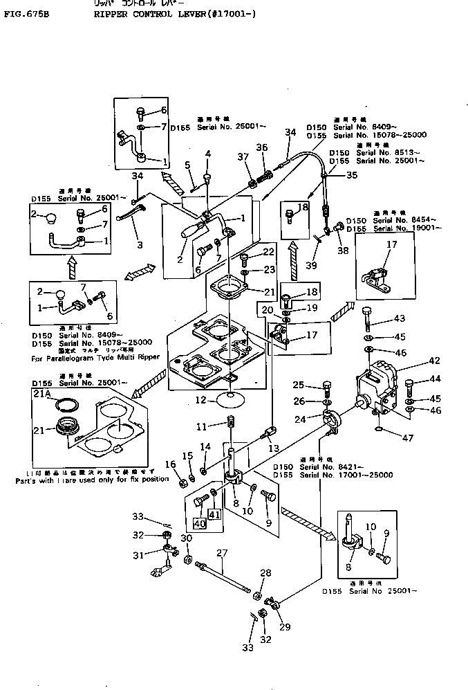
Запчасти Komatsu D155A-1 РЫЧАГ УПРАВЛЕНИЯ РЫХЛИТЕЛЕМ(№7-) УПРАВЛ-Е РАБОЧИМ ОБОРУДОВАНИЕМ

Схема запчастей Komatsu D155A-1 - РЫЧАГ УПРАВЛЕНИЯ РЫХЛИТЕЛЕМ(№7-) УПРАВЛ-Е РАБОЧИМ ОБОРУДОВАНИЕМ
FIT
1:1
100%

Артикул

Название

Примечание

Количество

1

175-61-13951

LEVER,(VARIABLE TYPE)

SN: 25001-UP

1шт.

|1

175-61-13950

LEVER,(VARIABLE TYPE)

SN: 15078-25000

1шт.

|1

175-61-13562

LEVER,(RIGID TYPE)

SN: 25001-UP

1шт.

|1

175-61-13561

LEVER,(RIGID TYPE)

SN: 15078-25000

1шт.

2

09305-11400

KNOB,(VARIABLE TYPE)

SN: 15078-UP

1шт.

|2

09304-01250

KNOB,(RIGID TYPE)

SN: 15078-UP

1шт.

3

11T-71-14280

LEVER

SN: 19854-UP

1шт.

|3

0

LEVER

SN: 19001-19853

1шт.

|3

175-61-13941

LEVER

SN: 17001-19000

1шт.

|3

0

LEVER

SN: 15078-17000

1шт.

4

04205-00618

PIN

SN: 15078-UP

1шт.

5

04050-01610

PIN,COTTER

SN: 15078-UP

1шт.

6

195-54-26210

BOLT

SN: 25001-UP

1шт.

|6

01010-30830

BOLT

SN: 15078-25000

1шт.

7

01643-31032

WASHER

SN: 25001-UP

1шт.

|7

0

WASHER,SPRING

SN: 15078-25000

1шт.

8

195-78-46141

LEVER

SN: 25001-UP

1шт.

|8

195-78-46140

LEVER

SN: 17001-25000

1шт.

9

01010-30830

BOLT

SN: 17001-UP

1шт.

10

01602-00825

WASHER,SPRING

SN: 17001-UP

1шт.

11

175-61-13570

SPRING

SN: 15001-UP

1шт.

12

175-61-13580

SEAL

SN: 15001-UP

1шт.

13

154-61-16460

HOOK

SN: 15001-UP

1шт.

14

01643-30623

WASHER

SN: 17001-UP

1шт.

15

01602-00619

WASHER,SPRING

SN: 15001-UP

1шт.

16

01580-00605

NUT

SN: 15001-UP

1шт.

17

195-61-21491

LOCK ASS'Y

SN: 25001-UP

1шт.

|17

195-61-21401

LOCK ASS'Y

SN: 19001-25000

1шт.

|17

0

LOCK ASS'Y

SN: 17001-19000

1шт.

18

01439-00814

BOLT

SN: 25001-UP

2шт.

|18

0

BOLT

SN: 19001-25000

2шт.

|18

0

SCREW

SN: 17001-19000

2шт.

19

01602-00825

WASHER,SPRING

SN: 15001-25000

2шт.

20

01643-30823

WASHER

SN: 17001-25000

2шт.

21

154-61-16810

COVER

SN: 25001-UP

1шт.

|21

154-61-16421

COVER

SN: 17001-25000

1шт.

21A

04070-00130

RING,SNAP

SN: 25001-UP

1шт.

22

195-61-21510

SCREW

SN: 17001-25000

4шт.

23

01602-00825

WASHER,SPRING

SN: 15001-25000

4шт.

24

195-78-42360

LEVER

SN: 17001-UP

1шт.

25

01010-30840

BOLT

SN: 17001-UP

1шт.

26

01602-00825

WASHER,SPRING

SN: 17001-UP

1шт.

27

04248-31228

ROD

SN: 17452-UP

1шт.

|27

04248-31229

ROD

SN: 17001-17451

1шт.

28

01508-11207

NUT¤ L.H. THREAD

SN: 17001-UP

1шт.

29

04250-61265

END,ROD

SN: 17001-UP

1шт.

30

01582-01210

NUT

SN: 17001-UP

1шт.

31

04250-41265

END,ROD

SN: 17001-UP

1шт.

32

01593-01210

NUT

SN: 17001-UP

2шт.

33

04050-03020

PIN,COTTER

SN: 17001-UP

2шт.

34

175-61-13964

CABLE,(VARIABLE TYPE)

SN: 19001-UP

1шт.

|34

175-61-13963

CABLE,(VARIABLE TYPE)

SN: 17001-19000

1шт.

35

08037-01008

GROMMET,(VARIABLE TYPE)

SN: 15078-UP

1шт.

36

175-61-13991

BOLT,(VARIABLE TYPE)

SN: 23945-UP

1шт.

|36

0

BOLT,(VARIABLE TYPE)

SN: 15078-23944

1шт.

37

175-61-13980

NUT,(VARIABLE TYPE)

SN: 15078-UP

1шт.

38

04205-00618

PIN,(VARIABLE TYPE)

SN: 17001-UP

1шт.

39

04050-01610

PIN,(VARIABLE TYPE)

SN: 15078-UP

1шт.

40

01010-30835

BOLT

SN: 17001-UP

1шт.

41

01643-30823

WASHER

SN: 25001-UP

1шт.

|41

0

WASHER,SPRING

SN: 15001-25000

1шт.

42

702-12-14000

SERVO VALVE ASS'Y

SN: 17001-UP

1шт.

43

01011-31045

BOLT

SN: 17001-UP

1шт.

44

01010-31040

BOLT

SN: 17001-UP

2шт.

45

01602-01030

WASHER,SPRING

SN: 17001-25000

3шт.

46

01643-31032

WASHER

SN: 17001-UP

3шт.

47

07000-03022

O-RING

SN: 17001-UP

2шт.

Выбрано товаров: 67