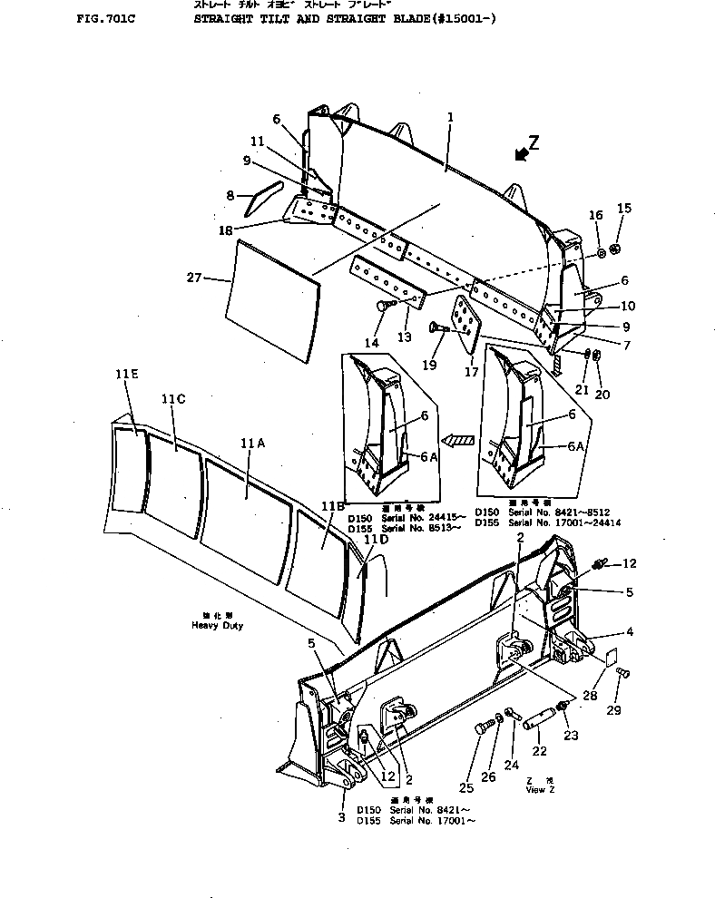
Запчасти Komatsu D155A-1 ПРЯМ. ОТВАЛ И ПРЯМОЙ ОТВАЛ(№-) РАБОЧЕЕ ОБОРУДОВАНИЕ

Схема запчастей Komatsu D155A-1 - ПРЯМ. ОТВАЛ И ПРЯМОЙ ОТВАЛ(№-) РАБОЧЕЕ ОБОРУДОВАНИЕ
FIT
1:1
100%

Артикул

Название

Примечание

Количество

|1

175-71-00641

BLADE ASS'Y,STRAIGHT TILT

SN: 19001-UP

1шт.

|1

0

BLADE ASS'Y,STRAIGHT TILT

SN: 17001-19000

1шт.

|1

0

BLADE ASS'Y,STRAIGHT TILT

SN: 15001-17000

1шт.

|1

175-71-00474

BLADE ASS'Y,STRAIGHT TILT(REINFORCED TYPE)

SN: 17001-25000

1шт.

|1

0

BLADE ASS'Y,STRAIGHT TILT(REINFORCED TYPE)

SN: 15001-17000

1шт.

|1

175-71-00101

BLADE ASS'Y,STRAIGHT

SN: 17001-UP

1шт.

|1

0

BLADE ASS'Y,STRAIGHT

SN: 15001-17000

1шт.

1

175-71-31000

BLADE,STRAIGHT TILT

SN: 15001-UP

1шт.

|1

175-71-22153

BLADE,STRAIGHT TILT(REINFORCED TYPE)

SN: 15001-UP

1шт.

|1

175-973-4140

BLADE,STRAIGHT TILT(W/PUSHER PLATE)

SN: 25001-UP

1шт.

|1

175-71-35100

BLADE,STRAIGHT (REINFORCED TYPE)

SN: 15001-UP

1шт.

2

175-71-27842

BRACKET (WELDED)

SN: 17563-UP

2шт.

|2

0

BRACKET (WELDED)

SN: 10263-17562

2шт.

3

175-71-31121

BRACKET (WELDED)

SN: 17001-UP

1шт.

|3

175-71-31120

BRACKET (WELDED)

SN: 15001-17000

1шт.

4

175-71-31131

BRACKET (WELDED)

SN: 17001-UP

1шт.

|4

175-71-31130

BRACKET (WELDED)

SN: 15001-17000

1шт.

5

175-71-31141

PIVOT (WELDED)

SN: 17563-UP

2шт.

|5

0

PIVOT (WELDED)

SN: 15001-17562

2шт.

6

175-71-31631

PLATE (WELDED)

SN: 24415-UP

2шт.

|6

175-71-31630

PLATE (WELDED)

SN: 17001-24414

2шт.

|6

175-71-22142

PLATE (WELDED)

SN: 10263-17000

2шт.

6A

175-71-31641

PLATE (WELDED)

SN: 24415-UP

2шт.

|6A

0

PLATE (WELDED)

SN: 17001-24414

2шт.

7

175-71-22121

PLATE (WELDED)

SN: 10263-UP

1шт.

8

175-71-22131

PLATE (WELDED)

SN: 10263-UP

1шт.

9

175-71-22340

PLATE (WELDED)

SN: 10263-UP

2шт.

10

175-71-22350

PLATE (WELDED)

SN: 10263-UP

1шт.

11

175-71-22360

PLATE (WELDED)

SN: 10263-UP

1шт.

11A

175-71-22163

PLATE,(REINFORCED TYPE) (WELDED)

SN: 10263-UP

1шт.

11B

175-71-22178

PLATE,(REINFORCED TYPE) (WELDED)

SN: 25149-UP

1шт.

|11B

0

PLATE,(REINFORCED TYPE) (WELDED)

SN: 17001-25148

1шт.

|11B

175-71-22173

PLATE,(REINFORCED TYPE) (WELDED)

SN: 10263-17000

1шт.

11C

175-71-22189

PLATE,(REINFORCED TYPE) (WELDED)

SN: 25149-UP

1шт.

|11C

0

PLATE,(REINFORCED TYPE) (WELDED)

SN: 17001-25148

1шт.

|11C

175-71-22183

PLATE,(REINFORCED TYPE) (WELDED)

SN: 10263-17000

1шт.

11D

175-71-22198

PLATE,(REINFORCED TYPE) (WELDED)

SN: 25149-UP

1шт.

|11D

0

PLATE,(REINFORCED TYPE) (WELDED)

SN: 17001-25148

1шт.

|11D

175-71-22193

PLATE,(REINFORCED TYPE) (WELDED)

SN: 10263-17000

1шт.

11E

175-71-22218

PLATE,(REINFORCED TYPE) (WELDED)

SN: 25149-UP

1шт.

|11E

0

PLATE,(REINFORCED TYPE) (WELDED)

SN: 17001-25148

1шт.

|11E

175-71-22213

PLATE,(REINFORCED TYPE) (WELDED)

SN: 10263-17000

1шт.

12

07020-00000

FITTING,GREASE

SN: 17001-UP

4шт.

|12

07020-00000

FITTING,GREASE

SN: 6843-17000

2шт.

13

175-70-26310

EDGE,CUTTING

SN: 10263-UP

3шт.

14

175-71-11454

BOLT

SN: 17001-UP

21шт.

|14

0

BOLT

SN: 10263-17000

21шт.

15

175-71-11530

NUT

SN: 10263-UP

21шт.

16

01643-22245

WASHER

SN: 10263-UP

21шт.

17

175-71-22272

BIT,END

SN: 10263-UP

1шт.

18

175-71-22282

BIT,END

SN: 10263-UP

1шт.

19

175-71-11463

BOLT

SN: 17001-UP

14шт.

|19

0

BOLT

SN: 10263-17000

14шт.

20

175-71-11530

NUT

SN: 10263-UP

14шт.

21

01643-22245

WASHER

SN: 10263-UP

14шт.

|22

175-71-00361

SHAFT ASS'Y

SN: 10263-UP

2шт.

22

0

SHAFT

SN: 10263-UP

1шт.

23

07020-00000

FITTING,GREASE

SN: 10263-UP

1шт.

24

195-71-11520

PIN

SN: 5508-UP

2шт.

25

01010-31435

BOLT

SN: 6091-UP

2шт.

26

01643-31445

WASHER

SN: 25001-UP

2шт.

|26

0

WASHER,SPRING

SN: 10263-25000

2шт.

27

175-937-4220

PLATE

SN: 15001-UP

1шт.

28

09601-00835

PLATE¤ NAME

SN: 15001-UP

1шт.

29

04418-13060

SCREW

SN: 15001-UP

4шт.

Выбрано товаров: 65