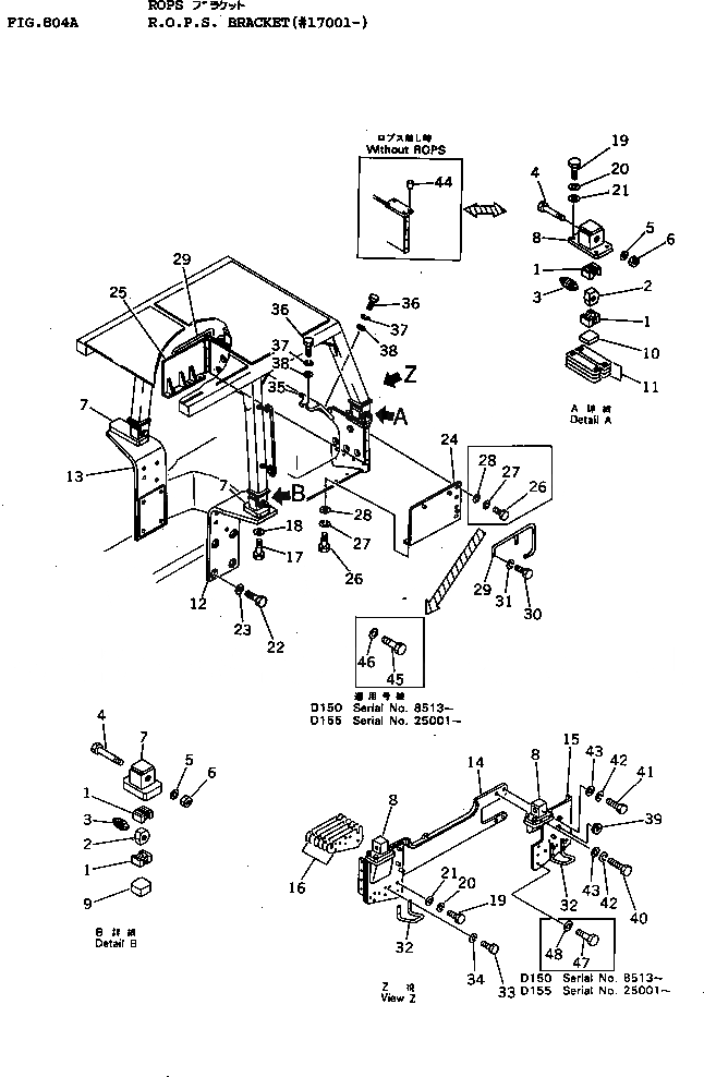
Запчасти Komatsu D155A-1 R.O.P.S. КОРПУС(№7-) ОПЦИОННЫЕ КОМПОНЕНТЫ

Схема запчастей Komatsu D155A-1 - R.O.P.S. КОРПУС(№7-) ОПЦИОННЫЕ КОМПОНЕНТЫ
FIT
1:1
100%

Артикул

Название

Примечание

Количество

1

195-978-2181

RUBBER

SN: 13049-UP

8шт.

2

195-978-2190

BLOCK

SN: 13049-UP

4шт.

3

195-978-2210

COLLAR

SN: 13049-UP

4шт.

4

195-978-2220

BOLT

SN: 13049-UP

4шт.

5

01643-32780

WASHER

SN: 13049-UP

4шт.

6

01580-02722

NUT

SN: 13049-UP

4шт.

7

195-978-2130

BRACKET,L.H.

SN: 13049-UP

1шт.

|7

195-978-2140

BRACKET,R.H.

SN: 13049-UP

1шт.

8

195-978-1550

BRACKET

SN: 25001-UP

2шт.

|8

195-978-2150

BRACKET

SN: 13049-25000

2шт.

9

195-978-2160

PLATE

SN: 13049-UP

2шт.

10

195-978-1560

PLATE

SN: 25001-UP

2шт.

|10

195-978-2170

PLATE

SN: 13049-25000

2шт.

11

175-978-0010

SHIM ASS'Y

SN: 13049-UP

2шт.

|11

0

SHIM¤ 1.0MM

SN: 13049-UP

5шт.

|11

0

SHIM¤ 0.5MM

SN: 13049-UP

2шт.

12

175-978-1174

PLATE

SN: 17001-UP

1шт.

13

175-978-1184

PLATE

SN: 17001-UP

1шт.

14

175-978-1291

GUARD

SN: 25001-UP

1шт.

|14

175-978-1290

GUARD

SN: 17001-25000

1шт.

|14

175-902-8271

GUARD,(WITH CAB GUARD)

SN: 25001-UP

1шт.

15

175-978-1311

GUARD

SN: 25001-UP

1шт.

|15

175-978-1310

GUARD

SN: 17001-25000

1шт.

16

175-978-1232

SHIM

SN: 17001-UP

24шт.

17

01011-63025

BOLT

SN: 17001-UP

8шт.

18

01643-33080

WASHER

SN: 13049-UP

8шт.

19

01010-82460

BOLT

SN: 25001-UP

7шт.

|19

175-978-3540

BOLT

SN: 13049-25000

18шт.

20

01602-02472

WASHER,SPRING

SN: 13049-25000

18шт.

21

01643-32460

WASHER

SN: 25001-UP

7шт.

|21

01643-32460

WASHER

SN: 13049-25000

18шт.

22

01011-63010

BOLT

SN: 17001-UP

8шт.

23

01643-33080

WASHER

SN: 17001-UP

8шт.

24

175-978-1154

GUARD

SN: 25001-UP

1шт.

|24

175-978-1152

GUARD

SN: 17001-25000

1шт.

25

175-978-1162

GUARD

SN: 25001-UP

1шт.

|25

175-978-1161

GUARD

SN: 13049-25000

1шт.

|25

175-902-7261

GUARD,(WITH CAB GUARD)

SN: 25001-UP

1шт.

|25

175-902-7260

GUARD,(WITH CAB GUARD)

SN: 15001-25000

1шт.

26

01010-81640

BOLT

SN: 25001-UP

8шт.

|26

01010-81640

BOLT

SN: 13049-25000

16шт.

27

01602-01648

WASHER,SPRING

SN: 13049-25000

16шт.

28

01643-31645

WASHER

SN: 25001-UP

8шт.

|28

01643-31645

WASHER

SN: 13049-25000

16шт.

29

175-978-1270

HANDLE

SN: 13049-UP

2шт.

30

01010-31230

BOLT

SN: 17001-UP

6шт.

31

01602-01236

WASHER

SN: 17001-UP

6шт.

32

175-54-22562

HANDLE

SN: 13049-25000

2шт.

33

01010-51635

BOLT

SN: 25001-UP

8шт.

|33

01010-31860

BOLT

SN: 17001-25000

8шт.

34

01643-31645

WASHER,SPRING

SN: 25001-UP

8шт.

|34

01602-01854

WASHER,SPRING

SN: 17001-25000

8шт.

35

175-978-2140

COVER

SN: 13049-25000

1шт.

36

01010-31235

BOLT

SN: 17001-25000

3шт.

37

01602-01236

WASHER

SN: 13049-25000

3шт.

38

01643-31232

WASHER

SN: 13049-25000

3шт.

39

08037-03620

GROMMET

SN: 13049-17000

1шт.

40

01010-83075

BOLT

SN: 25001-UP

1шт.

|40

01011-62430

BOLT

SN: 17001-25000

1шт.

41

01011-83015

BOLT

SN: 25001-UP

1шт.

|41

01010-62460

BOLT

SN: 17001-25000

3шт.

42

01602-02472

WASHER,SPRING

SN: 17001-25000

4шт.

43

01643-33080

WASHER

SN: 25001-UP

4шт.

|43

01643-32460

WASHER

SN: 17001-25000

4шт.

44

07049-02430

PLUG

SN: 15004-UP

8шт.

45

01010-82045

BOLT

SN: 25001-UP

8шт.

46

01643-32060

WASHER

SN: 25001-UP

8шт.

47

01010-82470

BOLT

SN: 25001-UP

5шт.

48

01643-32460

WASHER

SN: 25001-UP

5шт.

Выбрано товаров: 69