Запчасти Komatsu D155A-1 КАБИНА (/)(№8-) ОПЦИОННЫЕ КОМПОНЕНТЫ

Схема запчастей Komatsu D155A-1 - КАБИНА (/)(№8-) ОПЦИОННЫЕ КОМПОНЕНТЫ
FIT
1:1
100%

Артикул

Название

Примечание

Количество

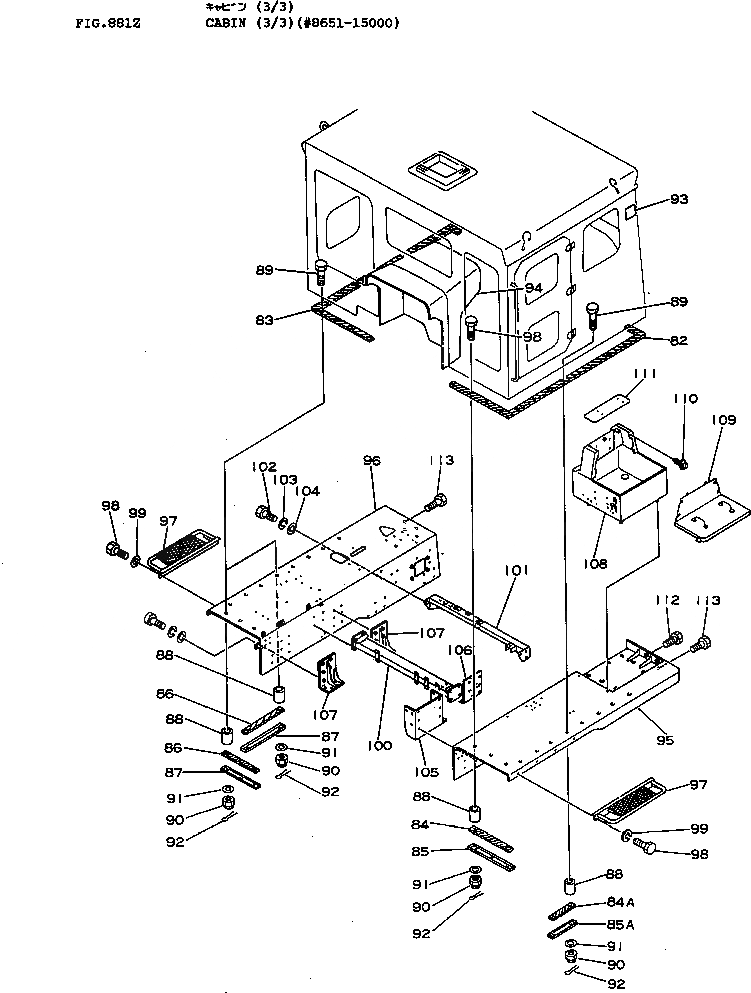
82

175-911-1761

SEAT

SN: 10263-15000

1шт.

|82

175-904-5120

SEAT

SN: 8651-10262

1шт.

83

175-911-1771

SEAT

SN: 10263-15000

1шт.

|83

175-904-5130

SEAT

SN: 8651-10262

1шт.

84

175-911-1781

SEAT

SN: 10263-15000

5шт.

|84

195-904-5430

SEAT

SN: 8651-10262

1шт.

84A

195-904-5440

SEAT

SN: 8651-10262

8шт.

85

195-904-1291

COVER

SN: 10263-15000

5шт.

|85

195-904-1290

COVER

SN: 8651-10262

1шт.

85A

195-904-1280

COVER

SN: 8651-10262

8шт.

86

175-911-1811

SEAT

SN: 10263-15000

1шт.

|86

195-904-5450

SEAT

SN: 8651-10262

1шт.

87

195-904-5461

COVER

SN: 10263-15000

1шт.

|87

195-904-5460

COVER

SN: 8651-10262

1шт.

88

195-904-5470

COLLAR

SN: 10263-15000

12шт.

|88

195-904-5470

COLLAR

SN: 8651-10262

22шт.

89

01012-31485

BOLT

SN: 10263-15000

12шт.

|89

01012-31485

BOLT

SN: 8651-10262

22шт.

90

01590-01416

NUT

SN: 10263-15000

12шт.

|90

01590-01416

NUT

SN: 5508-10262

22шт.

91

01640-21426

WASHER

SN: 10263-15000

12шт.

|91

01640-21426

WASHER

SN: 5508-10262

22шт.

92

04050-03028

PIN

SN: 10263-15000

12шт.

|92

04050-03028

PIN

SN: 5508-10262

22шт.

93

09660-00100

PLATE¤ SAFETY

SN: 8651-15000

1шт.

94

175-54-26311

DASHBOARD

SN: 10263-15000

1шт.

|94

175-54-26310

DASHBOARD

SN: 8651-10262

1шт.

95

175-54-26222

FENDER

SN: 10263-15000

1шт.

|95

175-54-26220

FENDER

SN: 8651-10262

1шт.

96

175-54-26232

FENDER

SN: 10263-15000

1шт.

|96

175-54-26230

FENDER

SN: 8651-10262

1шт.

97

195-904-5310

STEP

SN: 8651-15000

2шт.

98

01010-31235

BOLT

SN: 8651-15000

8шт.

99

01602-01236

WASHER

SN: 8651-15000

8шт.

100

175-54-26280

SUPPORT

SN: 8651-15000

1шт.

101

175-54-26290

SUPPORT

SN: 8651-15000

1шт.

102

01010-31650

BOLT

SN: 8651-15000

2шт.

103

01602-01648

WASHER

SN: 8651-15000

2шт.

104

01643-01645

WASHER

SN: 8651-15000

2шт.

105

175-54-26251

BRACKET

SN: 10263-15000

1шт.

|105

175-54-26250

BRACKET

SN: 8651-10262

1шт.

106

175-54-26260

BRACKET

SN: 8651-15000

1шт.

107

175-54-26270

BRACKET

SN: 8651-15000

2шт.

108

195-57-11610

CASE

SN: 8651-10262

1шт.

109

195-57-11620

COVER

SN: 8651-10262

1шт.

110

09459-00000

LOCK

SN: 8651-10262

4шт.

111

195-57-11630

COVER

SN: 8651-10262

1шт.

112

01010-31445

BOLT

SN: 8651-10262

2шт.

113

01010-31455

BOLT

SN: 8651-10262

6шт.

Выбрано товаров: 49