Запчасти Komatsu D155A-1 ЭЛЕКТРИКА (/)(№-7) КОМПОНЕНТЫ ДВИГАТЕЛЯ И ЭЛЕКТРИКА

Схема запчастей Komatsu D155A-1 - ЭЛЕКТРИКА (/)(№-7) КОМПОНЕНТЫ ДВИГАТЕЛЯ И ЭЛЕКТРИКА
FIT
1:1
100%

Артикул

Название

Примечание

Количество

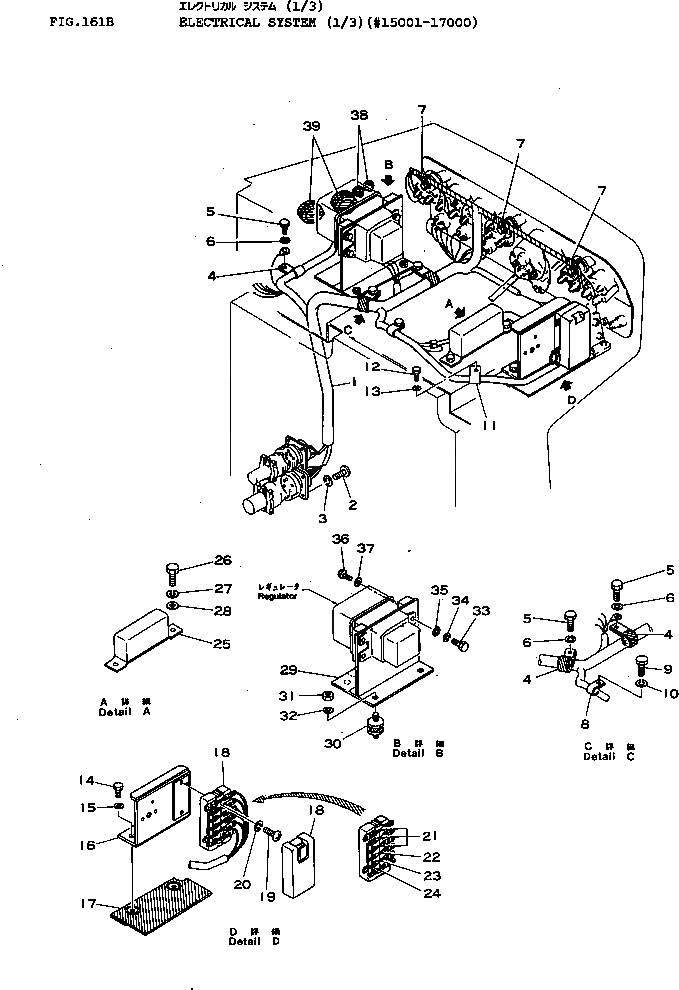
1

195-06-21552

WIRE ASS'Y

SN: 15001-17000

1шт.

2

01220-30312

SCREW

SN: 15001-17000

8шт.

3

01601-00307

WASHER

SN: 15001-17000

8шт.

4

175-06-36150

CLIP

SN: 15001-17000

3шт.

5

01010-31016

BOLT

SN: 15001-@

3шт.

6

01602-01030

WASHER,SPRING

SN: 15001-@

3шт.

7

154-06-33110

CLAMP

SN: 15001-17000

3шт.

8

08035-03010

CLIP

SN: 15001-17000

1шт.

9

01010-30812

BOLT

SN: 15001-17000

1шт.

10

01602-00825

WASHER

SN: 15001-17000

1шт.

11

08035-03010

CLIP

SN: 15001-17000

8шт.

12

01010-31016

BOLT

SN: 15001-17000

1шт.

13

01602-01030

WASHER

SN: 15001-17000

1шт.

14

01010-31025

BOLT

SN: 15001-17000

2шт.

15

01602-01030

WASHER

SN: 15001-17000

2шт.

16

175-06-39720

BRACKET

SN: 15001-17000

1шт.

17

175-06-39730

PLATE

SN: 15001-17000

1шт.

18

175-06-35430

BOX

SN: 10263-@

1шт.

19

01220-30616

SCREW

SN: 10263-@

2шт.

20

01611-06063

WASHER

SN: 10263-@

2шт.

21

175-06-35420

FUSE¤ 10A

SN: 10263-@

3шт.

22

175-06-35410

FUSE¤ 20A

SN: 10263-@

1шт.

23

175-06-35380

FUSE¤ 40A

SN: 10263-@

1шт.

24

175-06-35390

FUSE¤ 30A

SN: 10263-@

1шт.

25

08640-00000

INVERTER ASS'Y

SN: 15001-@

1шт.

|25

08040-00050

FUSE¤ 0.5A

SN: 15001-@

1шт.

26

01010-30610

BOLT

SN: 15001-@

2шт.

27

01602-00619

WASHER

SN: 5508-@

2шт.

28

01640-00610

WASHER

SN: 5508-@

2шт.

29

175-06-35213

BRACKET

SN: 15001-17000

1шт.

30

154-06-13910

ISOLATOR

SN: 10263-@

4шт.

31

01582-01008

NUT

SN: 10263-@

4шт.

32

01602-01030

WASHER

SN: 10263-@

4шт.

33

01010-30820

BOLT

SN: 10263-@

3шт.

34

01602-00825

WASHER

SN: 10263-@

3шт.

35

01643-30823

WASHER

SN: 10263-@

3шт.

36

01010-30616

BOLT

SN: 6128-@

4шт.

37

01602-00619

WASHER

SN: 5513-@

4шт.

38

175-06-38570

CAP

SN: 15001-@

2шт.

39

09415-02512

CAP

SN: 15001-@

2шт.

Выбрано товаров: 40