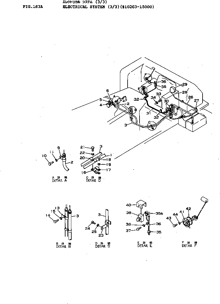
Запчасти Komatsu D155A-1 ЭЛЕКТРИКА (/)(№-) КОМПОНЕНТЫ ДВИГАТЕЛЯ И ЭЛЕКТРИКА

Схема запчастей Komatsu D155A-1 - ЭЛЕКТРИКА (/)(№-) КОМПОНЕНТЫ ДВИГАТЕЛЯ И ЭЛЕКТРИКА
FIT
1:1
100%

Артикул

Название

Примечание

Количество

1

195-06-21520

WIRE ASS'Y

SN: 13050-15000

1шт.

|1

175-06-37132

WIRE ASS'Y

SN: 8651-13049

1шт.

2

175-06-37122

WIRE ASS'Y

SN: 10263-15000

1шт.

3

195-06-21510

WIRE ASS'Y

SN: 13050-15000

1шт.

|3

175-06-37165

WIRE ASS'Y

SN: 10263-13049

1шт.

4

154-06-13130

CAP

SN: 5508-@

1шт.

5

140-06-18260

CAP

SN: 5508-@

1шт.

6

08036-02514

CLIP

SN: 10263-@

1шт.

9

08035-03010

CLIP

SN: 10263-15000

1шт.

10

01010-30816

BOLT

SN: 10263-15000

1шт.

11

01602-00825

WASHER

SN: 10263-15000

1шт.

13

175-06-37660

CLAMP

SN: 10263-15000

2шт.

14

01010-30816

BOLT

SN: 6091-15000

2шт.

15

01602-00825

WASHER

SN: 5508-15000

2шт.

16

175-06-36122

PLATE

SN: 10263-15000

2шт.

17

175-49-22471

CLAMP

SN: 5513-15000

2шт.

18

01010-31230

BOLT

SN: 5513-15000

2шт.

19

01602-01236

WASHER

SN: 5513-15000

2шт.

20

175-06-37660

CLAMP

SN: 10263-15000

2шт.

21

01010-30816

BOLT

SN: 6091-15000

2шт.

22

01602-00825

WASHER

SN: 5508-15000

2шт.

23

175-06-37670

CLAMP

SN: 10263-15000

1шт.

24

01010-30816

BOLT

SN: 6091-15000

2шт.

25

01602-00825

WASHER

SN: 5508-15000

2шт.

26

175-06-39270

WIRE ASS'Y

SN: 13050-15000

1шт.

|26

175-06-37172

WIRE ASS'Y

SN: 10263-13049

1шт.

27

08035-01514

CLIP

SN: 10263-@

4шт.

28

154-06-31160

WIRE

SN: 5508-15000

1шт.

29

08128-32400

LAMP

SN: 6091-@

1шт.

|29

08113-02480

BULB¤ 80W

SN: 5508-@

1шт.

30

175-06-37481

WIRE

SN: 10263-15000

1шт.

31

175-06-37412

WIRE ASS'Y

SN: 10263-15000

1шт.

32

08036-10814

CLIP

SN: 8257-15000

2шт.

33

01010-31016

BOLT

SN: 8257-15000

2шт.

34

01602-01030

WASHER

SN: 8257-15000

2шт.

35

08037-01610

GROMMET

SN: 8257-15000

3шт.

36

08036-10614

CLIP

SN: 8257-15000

2шт.

37

01010-31016

BOLT

SN: 8257-15000

2шт.

38

01602-01030

WASHER

SN: 8257-15000

2шт.

39

08064-10000

SWITCH

SN: 8257-@

1шт.

39A

195-06-23190

CAP

SN: 8257-15000

2шт.

40

195-06-19730

COVER

SN: 8257-@

1шт.

41

175-06-35192

GAUGE UNIT

SN: 8651-@

1шт.

42

07000-02085

O-RING

SN: 5508-@

1шт.

43

01010-31025

BOLT

SN: 5508-@

4шт.

44

01602-01030

WASHER

SN: 5508-@

4шт.

Выбрано товаров: 46