Запчасти Komatsu D155A-1 ПРИВОДSHIFT МЕХАНИЗМ И РЫЧАГ БЛОКИРОВКИ(№-) ГИДРОТРАНСФОРМАТОР И ТРАНСМИССИЯ

Схема запчастей Komatsu D155A-1 - ПРИВОДSHIFT МЕХАНИЗМ И РЫЧАГ БЛОКИРОВКИ(№-) ГИДРОТРАНСФОРМАТОР И ТРАНСМИССИЯ
FIT
1:1
100%

Артикул

Название

Примечание

Количество

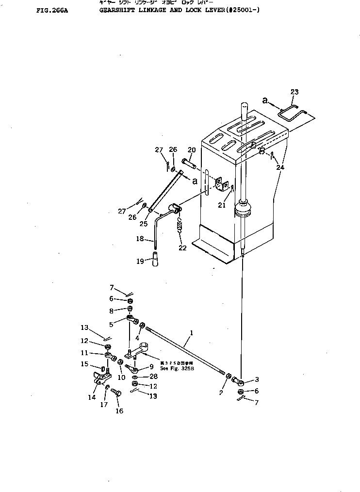
1

04248-31043

ROD

SN: 25001-UP

1шт.

2

01508-21006

NUT

SN: 25001-UP

1шт.

3

04250-61056

END,ROD

SN: 25001-UP

1шт.

4

01582-11008

NUT

SN: 25001-UP

1шт.

5

04250-41056

END,ROD

SN: 25001-UP

1шт.

6

01593-11008

NUT

SN: 25001-UP

2шт.

7

04050-12018

PIN,COTTER

SN: 25001-UP

2шт.

8

04254-01032

SPACER

SN: 25001-UP

1шт.

9

04252-01061

END,ROD

SN: 25001-UP

1шт.

10

01582-11008

NUT

SN: 25001-UP

1шт.

11

04250-41056

END,ROD

SN: 25001-UP

1шт.

12

01593-11008

NUT

SN: 25001-UP

2шт.

13

04050-12018

PIN,COTTER

SN: 25001-UP

2шт.

14

175-43-41241

LEVER

SN: 25001-UP

1шт.

15

04010-00516

KEY

SN: 5508-UP

1шт.

16

01010-50830

BOLT

SN: 25001-UP

1шт.

17

01602-20825

WASHER,SPRING

SN: 5508-UP

1шт.

18

175-43-41252

LEVER

SN: 25001-UP

1шт.

19

09305-00800

KNOB

SN: 6091-UP

1шт.

20

04205-11655

PIN

SN: 25001-UP

1шт.

21

04050-14025

PIN,COTTER

SN: 25001-UP

1шт.

22

175-43-38270

SPRING

SN: 25001-UP

1шт.

23

175-43-54191

STOPPER

SN: 25001-UP

1шт.

24

04050-11610

PIN,COTTER

SN: 25001-UP

2шт.

25

175-43-54211

ROD

SN: 25001-UP

1шт.

26

01640-20610

WASHER

SN: 25001-UP

2шт.

27

04050-11610

PIN,COTTER

SN: 25001-UP

2шт.

Выбрано товаров: 27