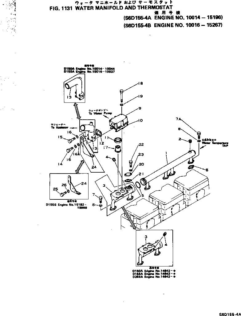
Запчасти Komatsu S6D155-4B ВОДЯНОЙ КОЛЛЕКТОР И ТЕРМОСТАТ(№-7) ГОЛОВКА ЦИЛИНДРОВ

Схема запчастей Komatsu S6D155-4B - ВОДЯНОЙ КОЛЛЕКТОР И ТЕРМОСТАТ(№-7) ГОЛОВКА ЦИЛИНДРОВ
FIT
1:1
100%

Артикул

Название

Примечание

Количество

1

6128-11-6110

MANIFOLD

SN: 10016-15267

1шт.

1

6128-11-6190

MANIFOLD,(WITH OVER HEAT SENSER)

SN: 10016-15267

1шт.

2

07042-00415

PLUG

SN: 14947-@

1шт.

2

07042-00312

PLUG

SN: 10016-14946

1шт.

3

6127-11-6121

MANIFOLD

SN: 14842-@

1шт.

3

6127-11-6120

MANIFOLD

SN: 10016-14841

1шт.

3

0

MANIFOLD

SN: (10016-10015)

1шт.

4

07042-00211

PLUG

SN: 14842-@

1шт.

4

07042-00211

PLUG

SN: 10016-14841

2шт.

5

07000-03075

O-RING (K1)

SN: 10016-15267

1шт.

6

6128-11-6800

GASKET ASS'Y

SN: 14924-@

6шт.

6

0

GASKET ASS'Y

SN: 14845-14923

6шт.

6

0

GASKET ASS'Y

SN: 14834-14844

6шт.

6

0

GASKET ASS'Y

SN: 10016-14833

6шт.

6A

6128-11-6810

GASKET,(NOT SHOWN) (K1)

SN: 14924-@

1шт.

6A

6128-11-6810

GASKET,(NOT SHOWN) (K1)

SN: 14834-14844

1шт.

6B

6128-11-6820

SEAL,(NOT SHOWN) (K1)

SN: 14924-@

1шт.

6B

6128-11-6820

SEAL,(NOT SHOWN) (K1)

SN: 14834-14844

1шт.

7

01010-31030

BOLT

SN: 14924-@

4шт.

7

01010-31030

BOLT

SN: 14845-14923

12шт.

7

01010-31030

BOLT

SN: 14834-14844

4шт.

7

01010-31030

BOLT

SN: 10016-14833

12шт.

7A

01010-31035

BOLT

SN: 14924-@

8шт.

7A

01010-31035

BOLT

SN: 14834-14844

8шт.

8

01602-01030

WASHER

SN: 10016-@

12шт.

9

6128-11-6410

HOUSING

SN: 10016-@

1шт.

10

6127-11-6430

GASKET (K1)

SN: 10016-@

1шт.

11

6127-11-6441

SEAL

SN: 10016-@

2шт.

12

6127-11-6470

GASKET (K1)

SN: 10016-@

1шт.

13

6128-11-6460

CONNECTOR

SN: 10038-@

1шт.

13

6127-11-6560

CONNECTOR

SN: 10016-10037

1шт.

14

01010-31090

BOLT

SN: 10016-@

2шт.

15

01010-31080

BOLT

SN: 10016-@

2шт.

16

01602-01030

WASHER

SN: 10016-@

4шт.

16A

01643-31032

WASHER

SN: 10016-@

2шт.

17

6127-11-6520

THERMOSTAT

SN: 25526-@

2шт.

17

600-421-6610

THERMOSTAT

SN: 10016-25525

2шт.

18

01011-31000

BOLT

SN: 14413-@

6шт.

18

0

BOLT

SN: 10016-14412

6шт.

19

01602-01030

WASHER

SN: 10016-@

6шт.

20

6127-61-6250

COVER

SN: 10016-10081

1шт.

21

6127-61-6850

GASKET (K1)

SN: 10016-10081

1шт.

22

01010-31025

BOLT

SN: 10016-10081

2шт.

23

01602-01030

WASHER

SN: 10016-10081

2шт.

24

6127-11-6880

BRACKET

SN: 10016-10081

1шт.

1

6128-11-6110

MANIFOLD

SN: 10016-15267

1шт.

1

6128-11-6190

MANIFOLD,(WITH OVER HEAT SENSER)

SN: 10016-15267

1шт.

2

07042-00415

PLUG

SN: 14947-@

1шт.

2

07042-00312

PLUG

SN: 10016-14946

1шт.

3

6127-11-6121

MANIFOLD

SN: 14842-@

1шт.

3

6127-11-6120

MANIFOLD

SN: 10016-14841

1шт.

3

0

MANIFOLD

SN: (10016-10015)

1шт.

4

07042-00211

PLUG

SN: 14842-@

1шт.

4

07042-00211

PLUG

SN: 10016-14841

2шт.

5

07000-03075

O-RING (K1)

SN: 10016-15267

1шт.

6

6128-11-6800

GASKET ASS'Y

SN: 14924-@

6шт.

6

0

GASKET ASS'Y

SN: 14845-14923

6шт.

6

0

GASKET ASS'Y

SN: 14834-14844

6шт.

6

0

GASKET ASS'Y

SN: 10016-14833

6шт.

6A

6128-11-6810

GASKET,(NOT SHOWN) (K1)

SN: 14924-@

1шт.

6A

6128-11-6810

GASKET,(NOT SHOWN) (K1)

SN: 14834-14844

1шт.

6B

6128-11-6820

SEAL,(NOT SHOWN) (K1)

SN: 14924-@

1шт.

6B

6128-11-6820

SEAL,(NOT SHOWN) (K1)

SN: 14834-14844

1шт.

7

01010-31030

BOLT

SN: 14924-@

4шт.

7

01010-31030

BOLT

SN: 14845-14923

12шт.

7

01010-31030

BOLT

SN: 14834-14844

4шт.

7

01010-31030

BOLT

SN: 10016-14833

12шт.

7A

01010-31035

BOLT

SN: 14924-@

8шт.

7A

01010-31035

BOLT

SN: 14834-14844

8шт.

8

01602-01030

WASHER

SN: 10016-@

12шт.

9

6128-11-6410

HOUSING

SN: 10016-@

1шт.

10

6127-11-6430

GASKET (K1)

SN: 10016-@

1шт.

11

6127-11-6441

SEAL

SN: 10016-@

2шт.

12

6127-11-6470

GASKET (K1)

SN: 10016-@

1шт.

13

6128-11-6460

CONNECTOR

SN: 10038-@

1шт.

13

6127-11-6560

CONNECTOR

SN: 10016-10037

1шт.

14

01010-31090

BOLT

SN: 10016-@

2шт.

15

01010-31080

BOLT

SN: 10016-@

2шт.

16

01602-01030

WASHER

SN: 10016-@

4шт.

16A

01643-31032

WASHER

SN: 10016-@

2шт.

17

6127-11-6520

THERMOSTAT

SN: 25526-@

2шт.

17

600-421-6610

THERMOSTAT

SN: 10016-25525

2шт.

18

01011-31000

BOLT

SN: 14413-@

6шт.

18

0

BOLT

SN: 10016-14412

6шт.

19

01602-01030

WASHER

SN: 10016-@

6шт.

20

6127-61-6250

COVER

SN: 10016-10081

1шт.

21

6127-61-6850

GASKET (K1)

SN: 10016-10081

1шт.

22

01010-31025

BOLT

SN: 10016-10081

2шт.

23

01602-01030

WASHER

SN: 10016-10081

2шт.

24

6127-11-6880

BRACKET

SN: 10016-10081

1шт.

Выбрано товаров: 90