Запчасти Komatsu S6D155-4B МАСЛЯНЫЙ ПОДДОН(№8-) БЛОК ЦИЛИНДРОВ

Схема запчастей Komatsu S6D155-4B - МАСЛЯНЫЙ ПОДДОН(№8-) БЛОК ЦИЛИНДРОВ
FIT
1:1
100%

Артикул

Название

Примечание

Количество

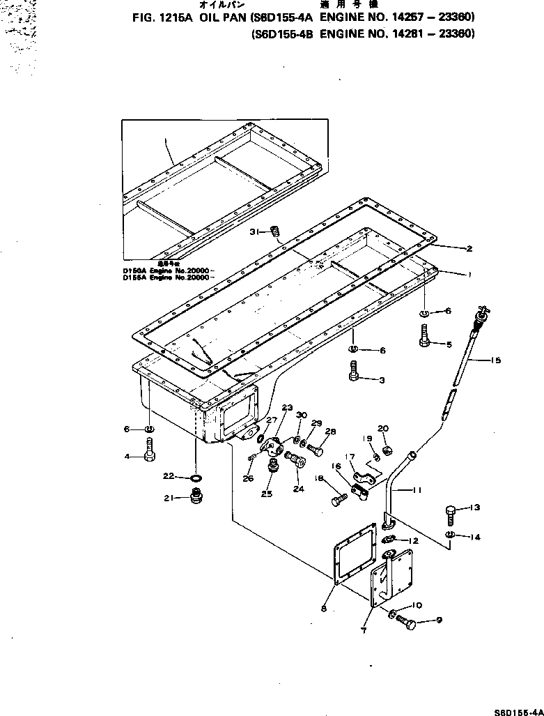
1

6127-21-5121

PAN

SN: 20000-23360

1шт.

1

0

PAN

SN: 14281-19999

1шт.

2

6127-21-5811

GASKET (K2)

SN: 10016-@

1шт.

3

01010-31035

BOLT

SN: 14050-@

31шт.

4

01010-31030

BOLT

SN: 14050-@

11шт.

5

01010-31085

BOLT

SN: 22782-@

5шт.

5

0

BOLT

SN: 10016-22781

5шт.

6

01602-01030

WASHER

SN: 10016-@

47шт.

7

6127-21-5152

BRACKET

SN: 14953-23360

1шт.

7

0

BRACKET

SN: 10016-14952

1шт.

7

6128-91-2114

BRACKET,(A)

SN: 10016-23360

1шт.

8

6127-21-5161

GASKET (K2)

SN: 10016-23360

1шт.

9

01010-31020

BOLT

SN: 10016-23360

10шт.

10

01602-01030

WASHER

SN: 10016-23360

10шт.

11

6127-21-5480

GUIDE

SN: 14281-23360

1шт.

12

6127-21-5420

GASKET (K2)

SN: 10016-@

1шт.

13

01010-30825

BOLT

SN: 10278-@

2шт.

14

01602-00825

WASHER

SN: 10016-@

2шт.

15

6127-21-5303

GAUGE

SN: 14281-@

1шт.

15

6128-21-5301

GAUGE,(A)

SN: 10016-@

1шт.

16

6127-21-5450

CLAMP

SN: 10016-@

1шт.

17

6127-21-5464

PLATE

SN: 10016-@

1шт.

18

01010-30820

BOLT

SN: 10278-@

1шт.

19

01602-00825

WASHER

SN: 10016-@

1шт.

20

01580-00806

NUT

SN: 10278-@

1шт.

21

07044-13620

PLUG

SN: 10278-@

1шт.

22

07000-03032

O-RING (K2)

SN: 10016-@

1шт.

|$27

6127-21-5601

VALVE ASS'Y

SN: 14497-23360

1шт.

|$28

0

VALVE ASS'Y

SN: 14281-14496

1шт.

23

0

BODY

SN: 14497-23360

1шт.

23

0

BODY

SN: 14281-14496

1шт.

24

0

VALVE

SN: 14281-23360

1шт.

25

6127-21-5630

PLUG

SN: 14497-23360

1шт.

25

07044-13620

PLUG

SN: 14281-14496

1шт.

26

04020-00514

PIN

SN: 14497-23360

1шт.

26

04025-00540

PIN

SN: 14281-14496

1шт.

27

07000-63035

O-RING (K2)

SN: 14281-23360

1шт.

28

01010-31025

BOLT

SN: 14497-@

1шт.

28

01010-31030

BOLT

SN: 14281-14496

2шт.

29

01602-01030

WASHER

SN: 14281-@

2шт.

30

01640-21016

WASHER

SN: 14281-@

2шт.

1

6127-21-5121

PAN

SN: 20000-23360

1шт.

1

0

PAN

SN: 14281-19999

1шт.

2

6127-21-5811

GASKET (K2)

SN: 10016-@

1шт.

3

01010-31035

BOLT

SN: 14050-@

31шт.

4

01010-31030

BOLT

SN: 14050-@

11шт.

5

01010-31085

BOLT

SN: 22782-@

5шт.

5

0

BOLT

SN: 10016-22781

5шт.

6

01602-01030

WASHER

SN: 10016-@

47шт.

7

6127-21-5152

BRACKET

SN: 14953-23360

1шт.

7

0

BRACKET

SN: 10016-14952

1шт.

7

6128-91-2114

BRACKET,(A)

SN: 10016-23360

1шт.

8

6127-21-5161

GASKET (K2)

SN: 10016-23360

1шт.

9

01010-31020

BOLT

SN: 10016-23360

10шт.

10

01602-01030

WASHER

SN: 10016-23360

10шт.

11

6127-21-5480

GUIDE

SN: 14281-23360

1шт.

12

6127-21-5420

GASKET (K2)

SN: 10016-@

1шт.

13

01010-30825

BOLT

SN: 10278-@

2шт.

14

01602-00825

WASHER

SN: 10016-@

2шт.

15

6127-21-5303

GAUGE

SN: 14281-@

1шт.

15

6128-21-5301

GAUGE,(A)

SN: 10016-@

1шт.

16

6127-21-5450

CLAMP

SN: 10016-@

1шт.

17

6127-21-5464

PLATE

SN: 10016-@

1шт.

18

01010-30820

BOLT

SN: 10278-@

1шт.

19

01602-00825

WASHER

SN: 10016-@

1шт.

20

01580-00806

NUT

SN: 10278-@

1шт.

21

07044-13620

PLUG

SN: 10278-@

1шт.

22

07000-03032

O-RING (K2)

SN: 10016-@

1шт.

|$27

6127-21-5601

VALVE ASS'Y

SN: 14497-23360

1шт.

|$28

0

VALVE ASS'Y

SN: 14281-14496

1шт.

23

0

BODY

SN: 14497-23360

1шт.

23

0

BODY

SN: 14281-14496

1шт.

24

0

VALVE

SN: 14281-23360

1шт.

25

6127-21-5630

PLUG

SN: 14497-23360

1шт.

25

07044-13620

PLUG

SN: 14281-14496

1шт.

26

04020-00514

PIN

SN: 14497-23360

1шт.

26

04025-00540

PIN

SN: 14281-14496

1шт.

27

07000-63035

O-RING (K2)

SN: 14281-23360

1шт.

28

01010-31025

BOLT

SN: 14497-@

1шт.

28

01010-31030

BOLT

SN: 14281-14496

2шт.

29

01602-01030

WASHER

SN: 14281-@

2шт.

30

01640-21016

WASHER

SN: 14281-@

2шт.

Выбрано товаров: 82