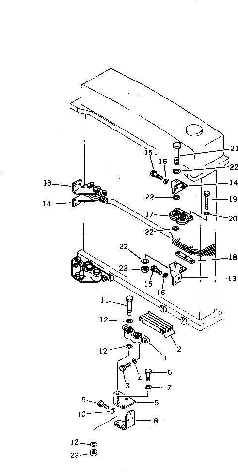
Запчасти Komatsu D155A-2 КРЕПЛЕНИЕ РАДИАТОРА КОМПОНЕНТЫ ДВИГАТЕЛЯ И ЭЛЕКТРИКА

Схема запчастей Komatsu D155A-2 - КРЕПЛЕНИЕ РАДИАТОРА КОМПОНЕНТЫ ДВИГАТЕЛЯ И ЭЛЕКТРИКА
FIT
1:1
100%

Артикул

Название

Примечание

Количество

1

195-03-22501

ISOLATOR ASS'Y

SN: 50001-UP

2шт.

2

195-03-22270

SHIM, 1.0MM

SN: 50001-UP

12шт.

3

01010-51245

BOLT

SN: 50001-UP

4шт.

4

01643-31232

WASHER

SN: 50001-UP

4шт.

5

175-03-32972

BRACKET

SN: 50001-UP

2шт.

6

01010-51435

BOLT

SN: 50001-UP

4шт.

7

01643-31445

WASHER

SN: 50001-UP

4шт.

8

175-03-32760

BRACKET,L.H.

SN: 50001-UP

1шт.

8

175-03-32770

BRACKET,R.H.

SN: 50001-UP

1шт.

9

01010-51225

BOLT

SN: 50001-UP

6шт.

10

01643-31232

WASHER

SN: 50001-UP

6шт.

11

01091-52205

BOLT

SN: 50001-UP

4шт.

12

01643-32260

WASHER

SN: 50001-UP

12шт.

13

175-03-32951

BRACKET

SN: 50001-UP

2шт.

14

175-03-32961

BRACKET

SN: 50001-UP

2шт.

15

01010-51225

BOLT

SN: 50001-UP

8шт.

16

01643-31232

WASHER

SN: 50001-UP

8шт.

17

195-03-22401

ISOLATOR ASS'Y

SN: 50001-UP

2шт.

18

198-03-21530

PLATE

SN: 50001-UP

2шт.

19

01010-51075

BOLT

SN: 50001-UP

6шт.

20

01643-31032

WASHER

SN: 50001-UP

6шт.

21

01091-52220

BOLT

SN: 50001-UP

4шт.

22

01643-32260

WASHER

SN: 50001-UP

16шт.

23

01582-12218

NUT

SN: 50001-UP

8шт.

Выбрано товаров: 24