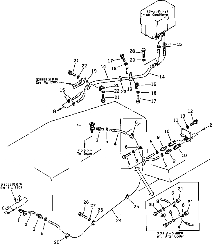
Запчасти Komatsu D155A-2 ОБОГРЕВ. ТРУБЫ (С КОНДИЦИОНЕРОМ) ЧАСТИ КОРПУСА

Схема запчастей Komatsu D155A-2 - ОБОГРЕВ. ТРУБЫ (С КОНДИЦИОНЕРОМ) ЧАСТИ КОРПУСА
FIT
1:1
100%

Артикул

Название

Примечание

Количество

G-1

0

PIPING GROUP

SN: 50001-UP

1шт.

|$$2

====================

-1шт.

1

195-911-5591

VALVE

SN: 50001-UP

2шт.

2

07323-30400

ELBOW

SN: 50001-UP

1шт.

3

145-Z79-5610

JOINT

SN: 50001-UP

2шт.

4

09483-50509

HOSE

SN: 50001-UP

1шт.

5

198-09-31210

CLAMP

SN: 51474-UP

4шт.

5

0

CLAMP

SN: 50001-51473

4шт.

6

08036-22514

CLIP

SN: 50001-UP

2шт.

7

01010-51020

BOLT

SN: 50001-UP

2шт.

8

01643-31032

WASHER

SN: 50001-UP

2шт.

9

145-Z79-5610

JOINT

SN: 50001-UP

2шт.

10

195-Z11-6990

COUPLING

SN: 50001-52349

2шт.

11

175-911-7211

BRACKET

SN: 52350-UP

1шт.

11

175-911-7210

BRACKET

SN: 50001-52349

1шт.

12

01010-51225

BOLT

SN: 50001-UP

2шт.

13

01643-31232

WASHER

SN: 50001-UP

2шт.

14

09483-50516

HOSE

SN: 50001-UP

2шт.

15

198-09-31210

CLAMP

SN: 51474-UP

4шт.

15

0

CLAMP

SN: 50001-51473

4шт.

16

175-911-7220

BRACKET

SN: 50001-UP

1шт.

17

01010-51225

BOLT

SN: 50001-UP

3шт.

18

01643-31232

WASHER

SN: 50001-UP

3шт.

19

195-979-1550

CLAMP

SN: 50001-UP

2шт.

20

195-Z11-5190

BRACKET

SN: 50001-UP

1шт.

21

01010-51225

BOLT

SN: 50001-UP

3шт.

22

01643-31232

WASHER

SN: 50001-UP

3шт.

23

08034-00536

BAND

SN: 50001-UP

1шт.

24

09483-50528

HOSE

SN: 50135-UP

1шт.

24

09483-50535

HOSE

SN: 50001-50134

1шт.

25

08036-22514

CLIP

SN: 50001-UP

3шт.

26

01010-51020

BOLT

SN: 50001-UP

3шт.

27

01643-31032

WASHER

SN: 50001-UP

3шт.

28

01010-51020

BOLT

SN: 50001-UP

1шт.

29

01643-31032

WASHER

SN: 50001-UP

1шт.

|$$36

====================

-1шт.

30

01010-51045

BOLT,(WITH AFTER COOLER)

SN: 50122-UP

2шт.

31

195-33-11220

SPACER,(WITH AFTER COOLER)

SN: 50122-UP

2шт.

Выбрано товаров: 38