Запчасти Komatsu D155A-2 КЛАПАН ТРАНСМИССИИ (/) (ШУМОПОДАВЛ. СПЕЦ-Я ДЛЯ EC)(№-(9)) ГТР CONVERTOR¤ТРАНСМИССИЯ¤ РУЛЕВ. УПРАВЛЕНИЕ И КОНЕЧНАЯ ПЕРЕДАЧА

Схема запчастей Komatsu D155A-2 - КЛАПАН ТРАНСМИССИИ (/) (ШУМОПОДАВЛ. СПЕЦ-Я ДЛЯ EC)(№-(9)) ГТР CONVERTOR¤ТРАНСМИССИЯ¤ РУЛЕВ. УПРАВЛЕНИЕ И КОНЕЧНАЯ ПЕРЕДАЧА
FIT
1:1
100%

Артикул

Название

Примечание

Количество

|$$1

SERIAL NO. IN ( ) INDICATES TRANSMISSION SERIAL NO.

-1шт.

|$2

175-15-01221

TRANSMISSION ASS'Y,(SEE FIG.F2320-51A0)

SN: (26589)-@

1шт.

|$3

0

TRANSMISSION ASS'Y,TORQFLOW

SN: 50001-(1059)

1шт.

|$$4

THIS ASSEMBLY CONSISTS OF ALL PARTS SHOWN IN FIGS.2521 TO 2535.

-1шт.

|$5

175-15-00442

VALVE ASS'Y

SN: 50001-(1059)

1шт.

|$$6

THIS ASSEMBLY CONSISTS OF ALL PARTS SHOWN IN FIGS.2531 AND 2532.

-1шт.

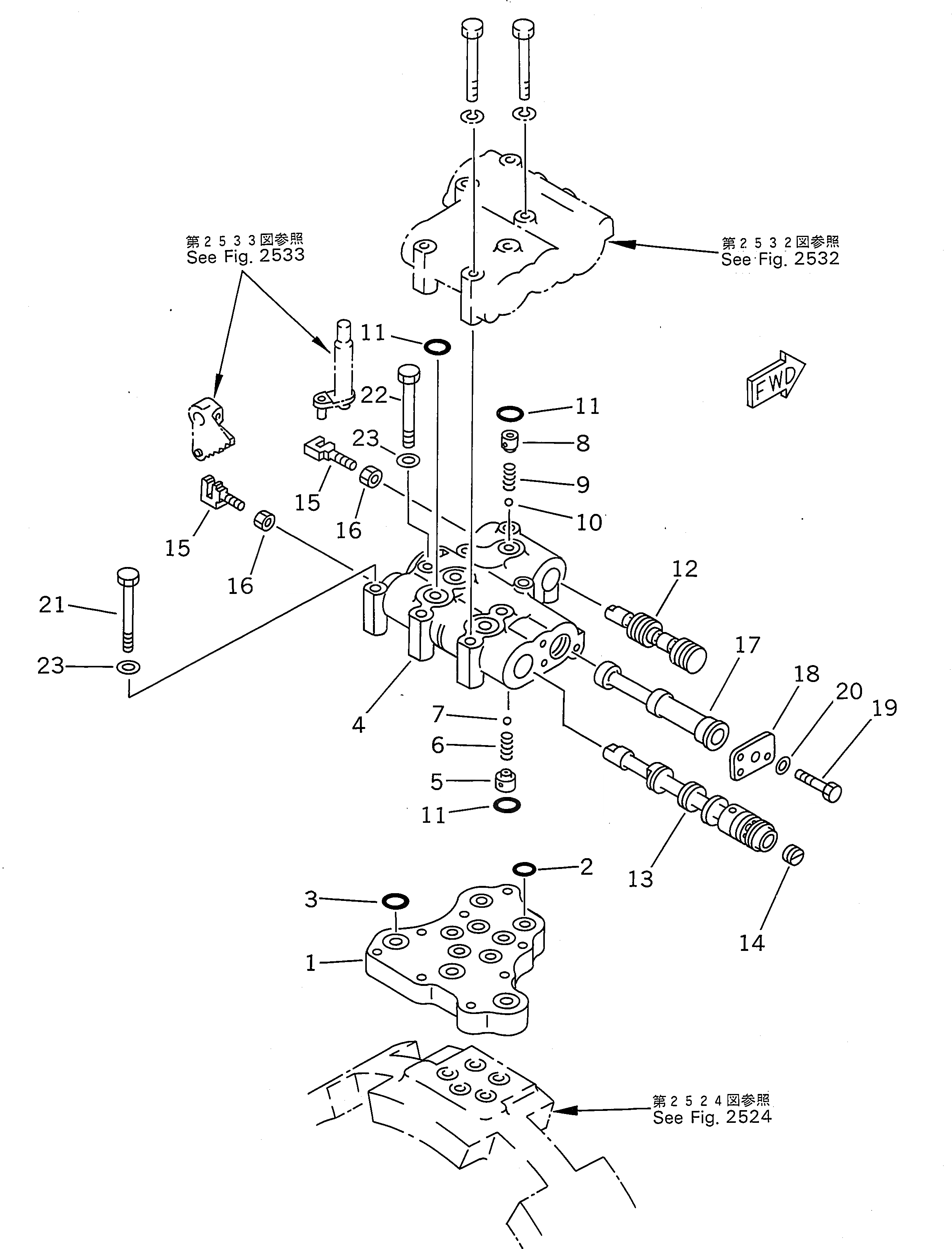
1

175-15-45110

SEAT

SN: 50001-(1059)

1шт.

2

07000-73022

O-RING (K9)

SN: 50001-(1059)

7шт.

3

07000-73025

O-RING (K9)

SN: 50001-(1059)

3шт.

4

175-15-45212

BODY

SN: 50001-(1059)

1шт.

5

175-15-45260

DETENT

SN: 50001-(1059)

1шт.

6

195-15-15680

SPRING

SN: 50001-(1059)

1шт.

7

04260-00952

BALL

SN: 50001-(1059)

1шт.

8

195-15-15671

DETENT

SN: 50001-(1059)

1шт.

9

195-15-15680

SPRING

SN: 50001-(1059)

1шт.

10

04260-00952

BALL

SN: 50001-(1059)

1шт.

11

07000-73022

O-RING (K9)

SN: 50001-(1059)

2шт.

12

175-15-45220

SPOOL

SN: 50001-(1059)

1шт.

|$19

15A-15-00511

SPOOL ASS'Y

SN: 50001-(1059)

1шт.

13

0

SPOOL

SN: 50001-(1059)

1шт.

14

0

PLUG

SN: 50001-(1059)

1шт.

15

09363-01053

YOKE

SN: 50001-(1059)

2шт.

16

01580-11008

NUT

SN: 50001-(1059)

2шт.

17

154-15-45190

SPACER

SN: 50001-(1059)

1шт.

18

175-15-45810

PLATE

SN: 50001-(1059)

1шт.

19

01010-31025

BOLT

SN: 50001-(1059)

2шт.

20

01643-31032

WASHER

SN: 50001-(1059)

2шт.

21

01010-31075

BOLT

SN: 50001-(1059)

1шт.

22

01011-51005

BOLT

SN: (1035)-(1059)

1шт.

22

0

BOLT

SN: 50001-(1034)

1шт.

23

01643-31032

WASHER

SN: 50001-(1059)

2шт.

Выбрано товаров: 31