Запчасти Komatsu D155A-2 КОРПУС БЛОКА УПРАВЛЕНИЯ ПОВОРОТОМ И ОСНОВНАЯ РАМА (ШУМОПОДАВЛ. СПЕЦ-Я ДЛЯ EC) ГТР CONVERTOR¤ТРАНСМИССИЯ¤ РУЛЕВ. УПРАВЛЕНИЕ И КОНЕЧНАЯ ПЕРЕДАЧА

Схема запчастей Komatsu D155A-2 - КОРПУС БЛОКА УПРАВЛЕНИЯ ПОВОРОТОМ И ОСНОВНАЯ РАМА (ШУМОПОДАВЛ. СПЕЦ-Я ДЛЯ EC) ГТР CONVERTOR¤ТРАНСМИССИЯ¤ РУЛЕВ. УПРАВЛЕНИЕ И КОНЕЧНАЯ ПЕРЕДАЧА
FIT
1:1
100%

Артикул

Название

Примечание

Количество

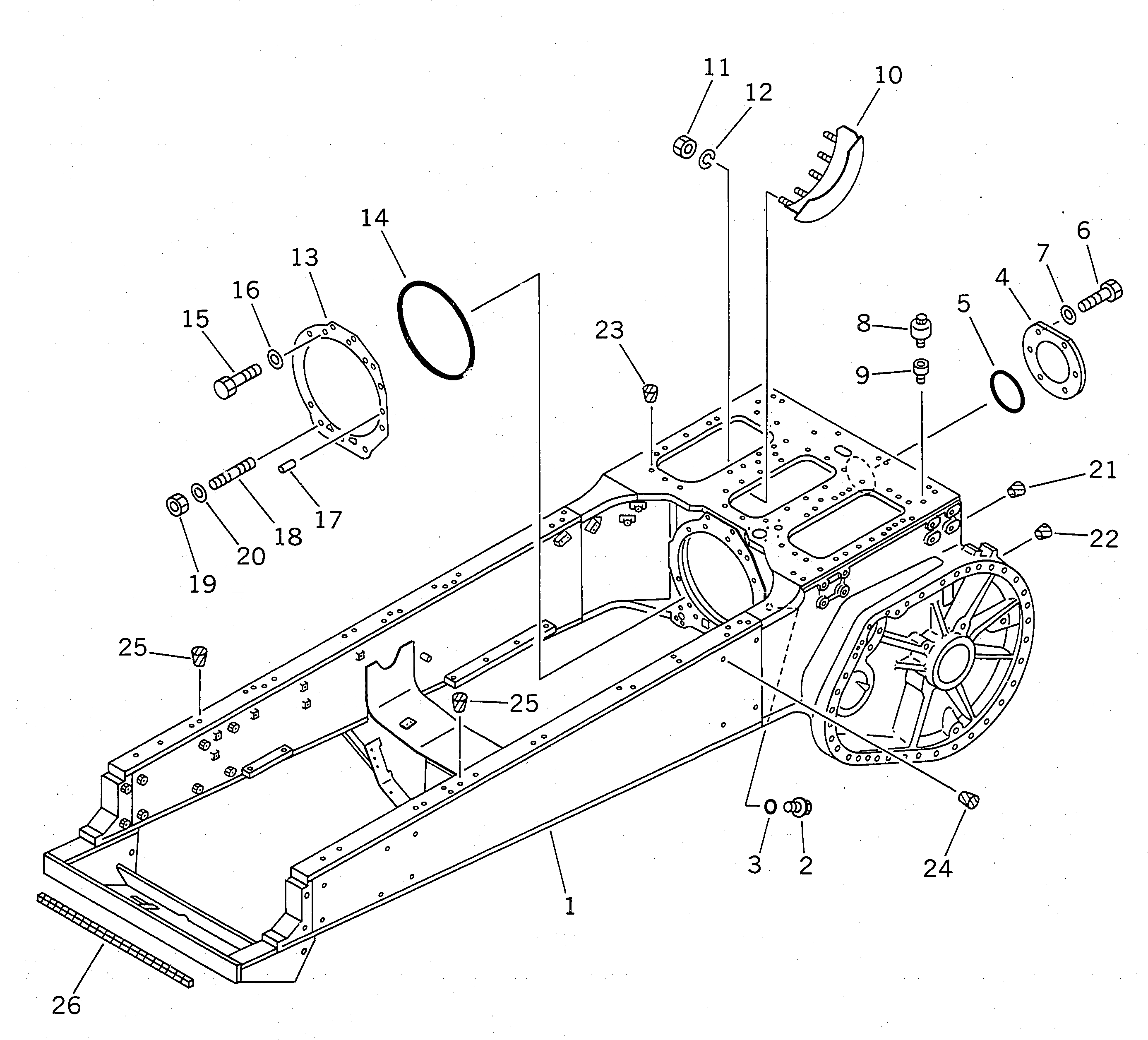
1

175-862-5200

FRAME,MAIN

SN: 51555-UP

1шт.

1

0

FRAME,MAIN

SN: 50001-51554

1шт.

2

07044-13620

PLUG

SN: 50001-UP

1шт.

3

07002-03634

O-RING

SN: 50001-UP

1шт.

4

175-21-32170

COVER

SN: 50001-UP

1шт.

5

07000-05195

O-RING

SN: 50001-UP

1шт.

6

01010-52040

BOLT

SN: 50001-UP

6шт.

7

01643-32060

WASHER

SN: 50001-UP

6шт.

8

07030-00252

BREATHER

SN: 50001-UP

3шт.

9

170-21-11190

NIPPLE

SN: 50001-UP

3шт.

10

175-21-11181

COVER

SN: 50001-UP

1шт.

11

01580-11210

NUT

SN: 50001-UP

3шт.

12

01602-21236

WASHER,SPRING

SN: 50001-UP

3шт.

13

175-21-32185

GASKET

SN: 52126-UP

1шт.

13

0

GASKET

SN: 50001-52125

1шт.

14

07000-05470

O-RING

SN: 50001-UP

1шт.

15

01010-52050

BOLT

SN: 50001-UP

6шт.

16

01643-32060

WASHER

SN: 50001-UP

6шт.

17

04020-01842

PIN

SN: 50001-UP

1шт.

18

01120-32050

STUD

SN: 50001-UP

5шт.

19

01582-02016

NUT

SN: 50001-UP

5шт.

20

01643-32060

WASHER

SN: 50001-UP

5шт.

21

07049-02025

PLUG,(WITH RIPPER OR DRAWBAR)

SN: 50001-UP

2шт.

22

07049-03949

PLUG,(WITH RIPPER)

SN: 50001-UP

8шт.

22

07049-03949

PLUG,(WITH DRAWBAR)

SN: 50001-UP

12шт.

23

07049-01620

PLUG

SN: 50001-UP

3шт.

24

07049-03038

PLUG

SN: 50001-UP

8шт.

25

07049-01418

PLUG

SN: 50001-UP

4шт.

26

175-862-5510

SHEET

SN: 50001-UP

1шт.

Выбрано товаров: 29