Запчасти Komatsu D155A-2 ЭЛЕКТРИКА (/) КОМПОНЕНТЫ ДВИГАТЕЛЯ И ЭЛЕКТРИКА

Схема запчастей Komatsu D155A-2 - ЭЛЕКТРИКА (/) КОМПОНЕНТЫ ДВИГАТЕЛЯ И ЭЛЕКТРИКА
FIT
1:1
100%

Артикул

Название

Примечание

Количество

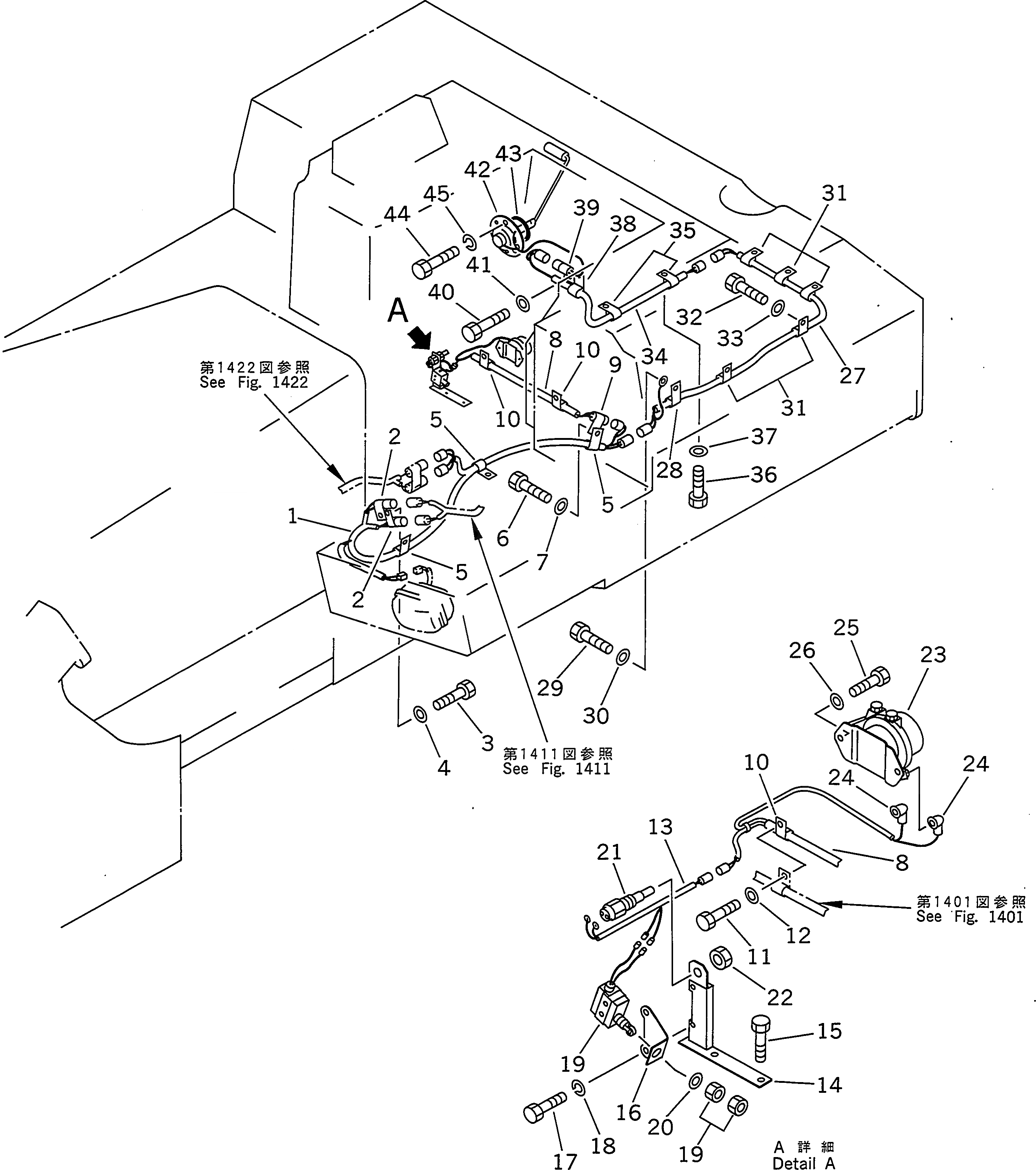
1

175-06-61170

WIRING HARNESS

SN: 50001-UP

1шт.

2

195-06-41840

CLIP

SN: 50095-UP

2шт.

|2

0

CLIP

SN: 50001-50094

2шт.

3

01010-51020

BOLT

SN: 50001-UP

1шт.

4

01643-31032

WASHER

SN: 50001-UP

1шт.

5

08035-03010

CLIP

SN: 50001-UP

3шт.

6

01010-51016

BOLT

SN: 50001-UP

3шт.

7

01643-31032

WASHER

SN: 50001-UP

3шт.

8

175-06-61180

WIRING HARNESS

SN: 50001-UP

1шт.

9

195-06-41830

CLIP

SN: 50095-UP

1шт.

|9

0

CLIP

SN: 50001-50094

1шт.

10

08035-02510

CLIP

SN: 50001-UP

2шт.

11

01010-51016

BOLT

SN: 50001-UP

2шт.

12

01643-31032

WASHER

SN: 50001-UP

2шт.

13

175-06-61190

WIRING HARNESS

SN: 50001-UP

1шт.

14

175-06-38561

BRACKET

SN: 50001-UP

1шт.

15

01010-51035

BOLT

SN: 50001-UP

2шт.

16

175-06-38810

BRACKET

SN: 50001-UP

1шт.

17

01010-50820

BOLT

SN: 50001-UP

2шт.

18

01602-20825

WASHER,SPRING

SN: 50001-UP

2шт.

19

195-06-26260

SWITCH,TRANSMISSION

SN: 50001-UP

1шт.

20

01643-31445

WASHER

SN: 50001-UP

1шт.

21

08074-70000

SWITCH,BACK-UP ALARM

SN: 50001-UP

1шт.

22

01583-11811

NUT

SN: 50001-UP

1шт.

23

08088-20000

SWITCH,BATTERY

SN: 50001-UP

1шт.

24

140-06-18260

CAP

SN: 50001-UP

2шт.

25

01010-50820

BOLT

SN: 50001-UP

2шт.

26

01643-30823

WASHER

SN: 50001-UP

2шт.

27

175-06-61210

WIRING HARNESS

SN: 50001-UP

1шт.

28

08035-01508

CLIP

SN: 50001-UP

1шт.

29

01010-51016

BOLT

SN: 50001-UP

1шт.

30

01643-31032

WASHER

SN: 50001-UP

1шт.

31

08035-01514

CLIP

SN: 50001-UP

5шт.

32

01010-51220

BOLT

SN: 50001-UP

5шт.

33

01643-31232

WASHER

SN: 50001-UP

5шт.

34

175-06-61220

WIRING HARNESS

SN: 50001-UP

1шт.

35

08035-01510

CLIP

SN: 50001-UP

2шт.

36

01010-51016

BOLT

SN: 50001-UP

2шт.

37

01643-31032

WASHER

SN: 50001-UP

2шт.

38

08035-01510

CLIP

SN: 50001-UP

1шт.

39

195-06-41820

CLIP

SN: 50095-UP

1шт.

|39

0

CLIP

SN: 50001-50094

1шт.

40

01010-51016

BOLT

SN: 50001-UP

1шт.

41

01643-31032

WASHER

SN: 50001-UP

1шт.

42

7861-99-4700

SENSOR,FUEL

SN: 50001-UP

1шт.

43

07000-02085

O-RING

SN: 50001-UP

1шт.

44

01010-51025

BOLT

SN: 50001-UP

4шт.

45

01602-21030

WASHER,SPRING

SN: 50001-UP

4шт.

Выбрано товаров: 48