Запчасти Komatsu D155A-2 ГИДРОТРАНСФОРМАТОР (/) (TCS-E)(№-(98)) ГТР CONVERTOR¤ТРАНСМИССИЯ¤ РУЛЕВ. УПРАВЛЕНИЕ И КОНЕЧНАЯ ПЕРЕДАЧА

Схема запчастей Komatsu D155A-2 - ГИДРОТРАНСФОРМАТОР (/) (TCS-E)(№-(98)) ГТР CONVERTOR¤ТРАНСМИССИЯ¤ РУЛЕВ. УПРАВЛЕНИЕ И КОНЕЧНАЯ ПЕРЕДАЧА
FIT
1:1
100%

Артикул

Название

Примечание

Количество

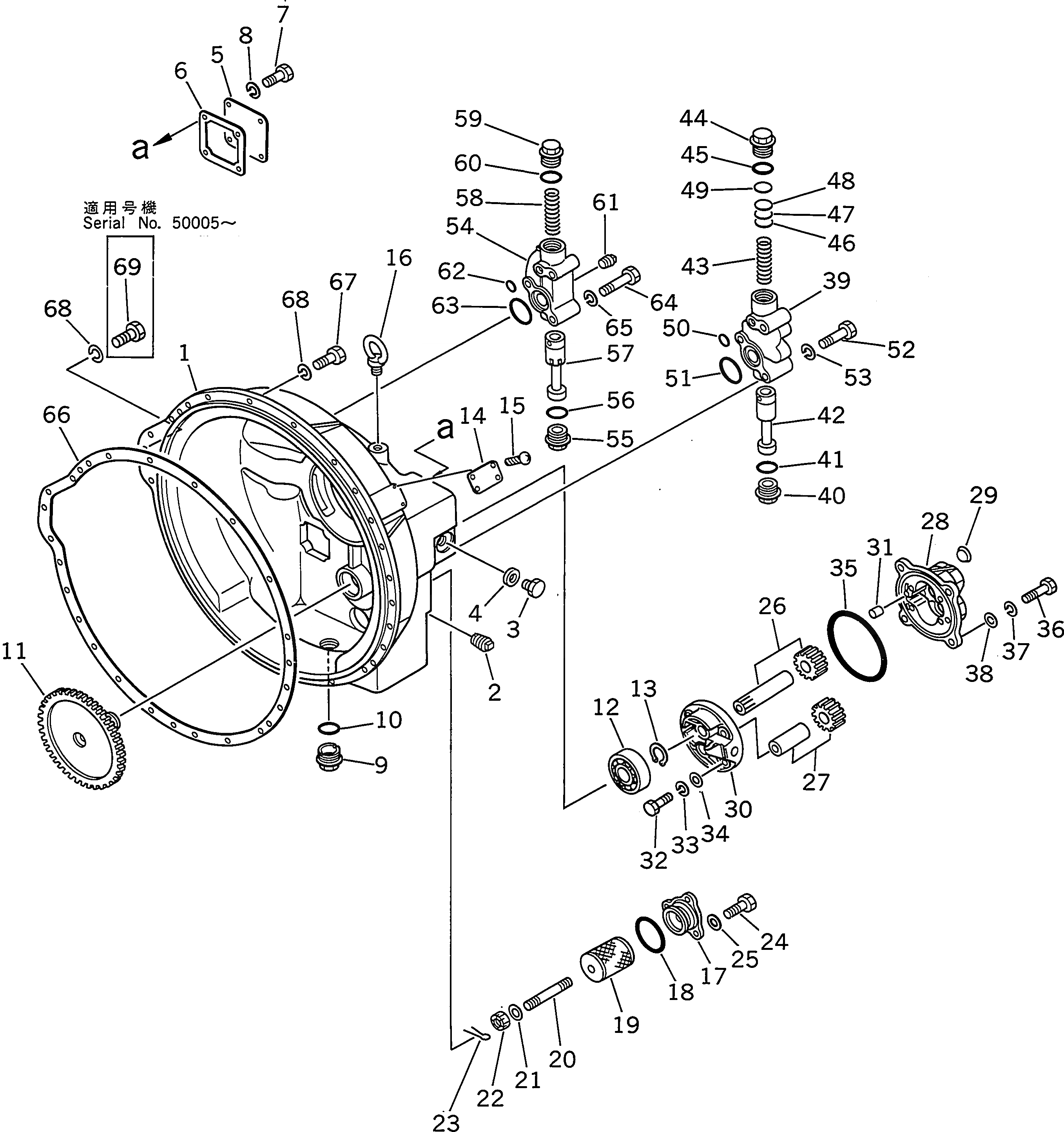
|$$1

SERIAL NO. IN ( ) INDICATES TORQUE CONVERTER SERIAL NO.

-1шт.

|1

175-13-00300

TORQUE CONVERTER A.,(TYPE TCS43-4F)

SN: (19853)-@

1шт.

|1

0

TORQUE CONVERTER A.,(TYPE TCS43-4E)

SN: 50001-(19852)

1шт.

|$$4

THIS ASSEMBLY CONSISTS OF ALL PARTS SHOWN IN FIGS.2301 AND 2302.

-1шт.

1

195-13-13114

HOUSING

SN: 50001-(19852)

1шт.

2

07042-20415

PLUG,TAPER

SN: 50001-(19852)

3шт.

3

175-13-23290

PLUG

SN: 50001-(19852)

1шт.

4

07005-01612

GASKET (K1)

SN: 50001-(19852)

1шт.

5

175-13-23220

COVER

SN: 50001-(19852)

1шт.

6

175-13-23232

GASKET (K1)

SN: 50001-(19852)

1шт.

|6

0

GASKET (K1)

SN: (50001-(19852))

1шт.

7

01010-31225

BOLT

SN: 50001-(19852)

4шт.

8

01602-01236

WASHER,SPRING

SN: 50001-(19852)

4шт.

9

07044-13620

PLUG,MAGNETIC

SN: 50001-(19852)

1шт.

10

07002-43634

O-RING (K1)

SN: 50001-(19852)

1шт.

11

175-13-24111

GEAR

SN: 50001-(19852)

1шт.

12

06030-05206

BEARING

SN: 50001-(19852)

1шт.

13

04064-03015

RING,SNAP

SN: 50001-(19852)

1шт.

14

09607-05080

PLATE¤ NAME,(LIMITED SUPPLY)

SN: 50001-(19852)

1шт.

15

04418-03060

SCREW,TAPPING

SN: 50001-(19852)

4шт.

16

04530-11628

BOLT,EYE

SN: 50001-(19852)

2шт.

|17

134-13-13400

FILTER ASS'Y

SN: 50001-(19852)

1шт.

17

134-13-13410

COVER

SN: 50001-(19852)

1шт.

18

07000-72070

O-RING (K1)

SN: 50001-(19852)

1шт.

|18

0

O-RING (K1)

SN: 50001-(19852)

1шт.

19

195-13-13420

FILTER

SN: 50001-(19852)

1шт.

20

134-13-13430

STUD

SN: 50001-(19852)

1шт.

21

01641-20608

WASHER

SN: 50001-(19852)

1шт.

22

01590-00607

NUT

SN: 50001-(19852)

1шт.

23

04050-11212

PIN,COTTER (K1)

SN: 50001-(19852)

1шт.

24

01010-31230

BOLT

SN: 50001-(19852)

3шт.

25

01643-31232

WASHER

SN: 50001-(19852)

3шт.

|26

175-13-23500

PUMP ASS'Y

SN: 50001-(19852)

1шт.

26

175-13-23510

GEAR ASS'Y

SN: 50001-(19852)

1шт.

|26

0

GEAR

SN: 50001-(19852)

1шт.

|26

0

SHAFT

SN: 50001-(19852)

1шт.

|26

0

SHAFT

SN: 50001-(19852)

1шт.

27

175-13-23520

GEAR ASS'Y

SN: 50001-(19852)

1шт.

|27

0

GEAR

SN: 50001-(19852)

1шт.

|27

0

SHAFT

SN: 50001-(19852)

1шт.

|28

175-13-00100

CASE ASS'Y

SN: 50001-(19852)

1шт.

28

0

CASE,PUMP

SN: 50001-(19852)

1шт.

29

01190-01011

HELISERT

SN: 50001-(19852)

2шт.

30

175-13-23540

COVER

SN: 50001-(19852)

1шт.

31

04020-00820

PIN,DOWEL

SN: 50001-(19852)

2шт.

32

01010-50835

BOLT

SN: 50001-(19852)

4шт.

33

01602-20825

WASHER,SPRING

SN: 50001-(19852)

4шт.

34

01641-20812

WASHER

SN: 50001-(19852)

4шт.

35

07000-72115

O-RING (K1)

SN: 50001-(19852)

1шт.

|35

0

O-RING (K1)

SN: 50001-(19852)

1шт.

36

01010-31235

BOLT

SN: 50001-(19852)

4шт.

37

01602-01236

WASHER

SN: 50001-(19852)

4шт.

38

01641-21223

WASHER

SN: 50001-(19852)

4шт.

|39

195-13-16100

RELIEF VALVE ASS'Y

SN: 50001-(19852)

1шт.

39

195-13-16110

BODY,RELIEF VALVE

SN: 50001-(19852)

1шт.

40

195-13-16450

PLUG

SN: 50001-(19852)

1шт.

41

07002-43634

O-RING (K1)

SN: 50001-(19852)

1шт.

42

195-13-16120

SPOOL,RELIEF VALVE

SN: 50001-(19852)

1шт.

43

195-13-16131

SPRING,RELIEF VALVE

SN: 50001-(19852)

1шт.

44

195-13-16141

PLUG

SN: 50001-(19852)

1шт.

45

07002-43634

O-RING (K1)

SN: 50001-(19852)

1шт.

46

195-13-16190

SHIM¤ 1.0MM

SN: 50001-(19852)

3шт.

47

195-13-16210

SHIM¤ 0.3MM

SN: 50001-(19852)

3шт.

48

195-13-16220

SHIM¤ 0.1MM

SN: 50001-(19852)

2шт.

49

195-13-16230

SPACER

SN: 50001-(19852)

1шт.

50

07000-72018

O-RING (K1)

SN: 50001-(19852)

1шт.

|50

0

O-RING (K1)

SN: 50001-(19852)

1шт.

51

07000-73045

O-RING (K1)

SN: 50001-(19852)

1шт.

|51

0

O-RING (K1)

SN: 50001-(19852)

1шт.

52

01010-31290

BOLT

SN: 50001-(19852)

3шт.

53

01602-01236

WASHER,SPRING

SN: 50001-(19852)

3шт.

|54

175-13-26401

REGULATOR VALVE A.

SN: 50001-(19852)

1шт.

54

175-13-26410

BODY,REGULATOR VALVE

SN: 50001-(19852)

1шт.

55

195-13-16450

PLUG

SN: 50001-(19852)

1шт.

56

07002-43634

O-RING (K1)

SN: 50001-(19852)

1шт.

57

195-13-16420

SPOOL

SN: 50001-(19852)

1шт.

58

195-13-16430

SPRING,REGULATOR VALVE

SN: 50001-(19852)

1шт.

59

195-13-16141

PLUG

SN: 50001-(19852)

1шт.

60

07002-43634

O-RING (K1)

SN: 50001-(19852)

1шт.

61

07042-20108

PLUG

SN: 50001-(19852)

1шт.

62

07000-72018

O-RING (K1)

SN: 50001-(19852)

1шт.

|62

0

O-RING (K1)

SN: 50001-(19852)

1шт.

63

07000-73045

O-RING (K1)

SN: 50001-(19852)

1шт.

|63

0

O-RING (K1)

SN: 50001-(19852)

1шт.

64

01010-31295

BOLT

SN: 50001-(19852)

3шт.

65

01602-01236

WASHER,SPRING

SN: 50001-(19852)

3шт.

66

175-11-11112

GASKET (K1)

SN: 50001-(19852)

1шт.

|66

0

GASKET (K1)

SN: (50001-(19852))

1шт.

67

01010-51240

BOLT

SN: 50005-(19852)

22шт.

|67

01010-51240

BOLT

SN: 50001-50004

23шт.

68

01602-21236

WASHER,SPRING

SN: 50001-(19852)

23шт.

69

01010-51265

BOLT

SN: 50005-(19852)

1шт.

Выбрано товаров: 92