Запчасти Komatsu D155A-2 MODIFIED ШАССИ ЧАСТИ (ДЛЯ ЗАДН. P.C.U.) (/)(№-) РАБОЧЕЕ ОБОРУДОВАНИЕ

Схема запчастей Komatsu D155A-2 - MODIFIED ШАССИ ЧАСТИ (ДЛЯ ЗАДН. P.C.U.) (/)(№-) РАБОЧЕЕ ОБОРУДОВАНИЕ
FIT
1:1
100%

Артикул

Название

Примечание

Количество

G-1

0

REAR P.C.U. GROUP

SN: 50001-@

1шт.

|$$2

====================

-1шт.

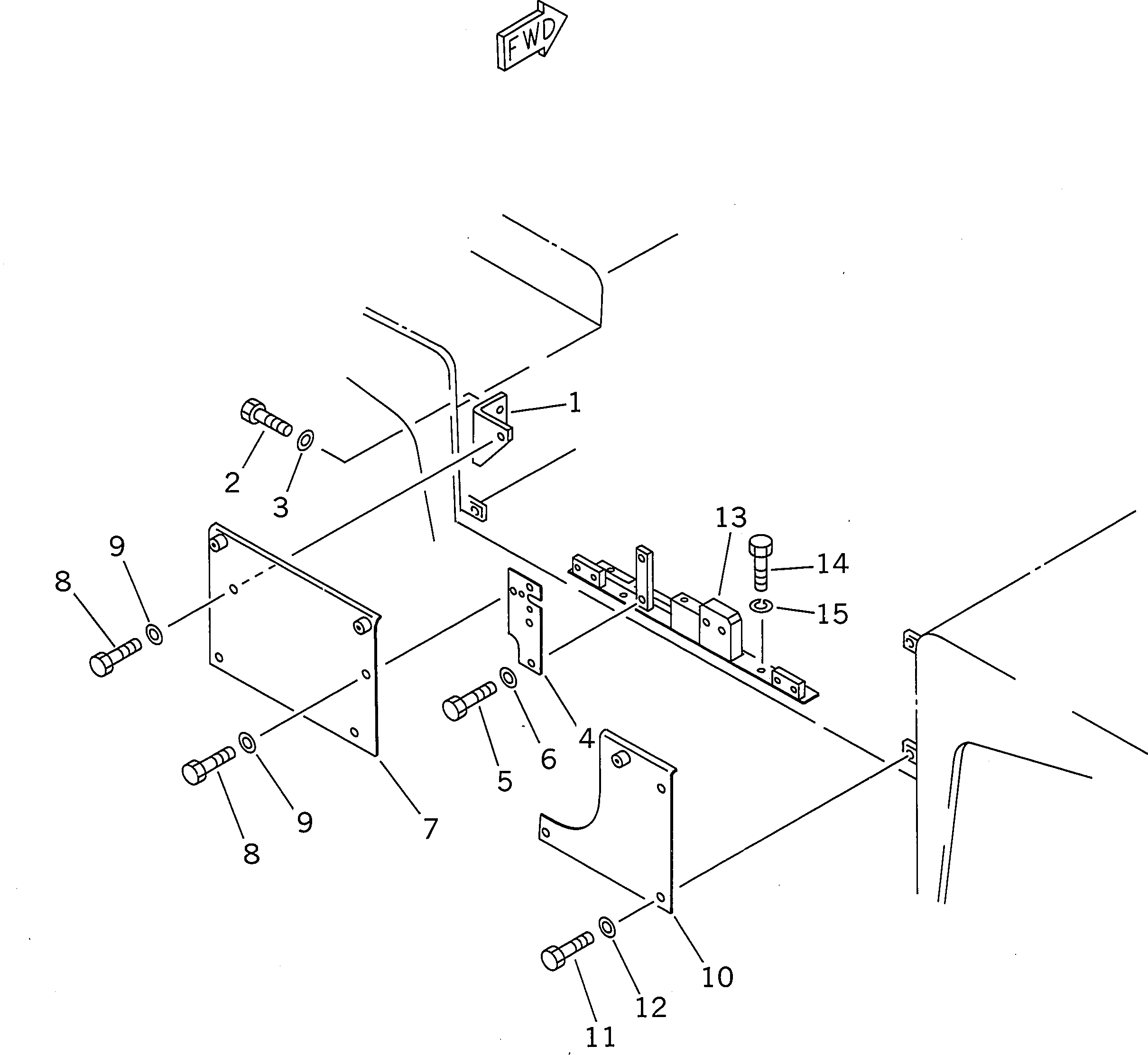
1

175-54-22711

BRACKET

SN: 50001-50064

1шт.

2

01010-51235

BOLT

SN: 50001-50064

2шт.

3

01643-31232

WASHER

SN: 50001-50064

2шт.

4

175-54-22872

BRACKET

SN: 50001-50064

1шт.

5

01010-51230

BOLT

SN: 50001-50064

2шт.

6

01643-31232

WASHER

SN: 50001-50064

2шт.

7

175-54-47190

COVER,L.H.

SN: 50001-50064

1шт.

8

01010-51225

BOLT

SN: 50001-50064

4шт.

9

01643-31232

WASHER

SN: 50001-50064

4шт.

10

175-54-47210

COVER,R.H.

SN: 50001-50064

1шт.

11

01010-51225

BOLT

SN: 50001-50064

3шт.

12

01643-31232

WASHER

SN: 50001-50064

3шт.

13

175-54-22881

BRACKET

SN: 50001-50064

1шт.

14

01010-51225

BOLT

SN: 50001-50064

2шт.

15

01602-01236

WASHER,SPRING

SN: 50001-50064

2шт.

|$$18

====================

-1шт.

Выбрано товаров: 18