Запчасти Komatsu D155A-2 ТОПЛИВН. БАК. КОМПОНЕНТЫ ДВИГАТЕЛЯ И ЭЛЕКТРИКА

Схема запчастей Komatsu D155A-2 - ТОПЛИВН. БАК. КОМПОНЕНТЫ ДВИГАТЕЛЯ И ЭЛЕКТРИКА
FIT
1:1
100%

Артикул

Название

Примечание

Количество

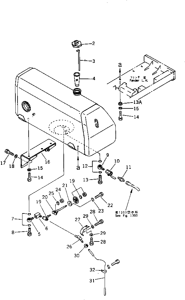
1

175-04-31262

TANK,FUEL

SN: 51863-UP

1шт.

|1

0

TANK,FUEL

SN: 50123-51862

1шт.

|1

175-04-31260

TANK,FUEL

SN: 50001-50122

1шт.

2

07050-41200

CAP

SN: 50001-UP

1шт.

|2

07050-00000

CAP,(FOR SLAG HANDLING)

SN: 50001-UP

1шт.

3

175-04-22113

GAUGE,OIL LEVEL

SN: 50001-UP

1шт.

4

07056-18416

STRAINER

SN: 50001-UP

1шт.

5

195-04-11230

JOINT,EYE

SN: 50001-UP

1шт.

6

175-04-21320

ELBOW

SN: 50001-UP

1шт.

7

07000-03035

O-RING

SN: 50001-UP

2шт.

8

195-04-11280

BOLT,JOINT

SN: 50001-UP

1шт.

9

195-04-11230

JOINT,EYE

SN: 50001-UP

1шт.

10

07700-40460

VALVE

SN: 50001-UP

1шт.

11

10T-49-13180

NIPPLE

SN: 50001-UP

1шт.

12

07000-03035

O-RING

SN: 50001-UP

2шт.

13

195-04-11280

BOLT,JOINT

SN: 50001-UP

1шт.

13A

198-79-16550

COLLAR

SN: 50901-UP

3шт.

14

01010-62465

BOLT

SN: 50001-UP

3шт.

15

01643-32460

WASHER

SN: 50001-UP

3шт.

16

175-04-25221

BRACKET

SN: 50001-UP

1шт.

17

01010-52060

BOLT

SN: 50001-UP

6шт.

18

01643-32060

WASHER

SN: 50001-UP

6шт.

19

154-04-12492

VALVE

SN: 50001-UP

1шт.

20

175-04-26181

JOINT

SN: 50001-UP

1шт.

21

195-04-11480

BRACKET

SN: 50001-UP

1шт.

22

01010-50616

BOLT

SN: 50001-UP

3шт.

23

01602-20619

WASHER,SPRING

SN: 50001-UP

3шт.

24

01580-10605

NUT

SN: 50001-UP

1шт.

25

01602-20619

WASHER,SPRING

SN: 50001-UP

1шт.

26

195-04-11431

ELBOW

SN: 50001-UP

1шт.

27

175-04-26210

BRACKET

SN: 50001-UP

1шт.

28

01010-51025

BOLT

SN: 50001-UP

2шт.

29

01643-31032

WASHER

SN: 50001-UP

2шт.

30

07285-00130

CLIP

SN: 50001-UP

1шт.

31

07270-01295

TUBE

SN: 50001-UP

1шт.

|31

07270-31295

TUBE,(FOR SLAG HANDLING)

SN: 50001-UP

1шт.

32

154-04-11210

CLIP

SN: 50001-UP

1шт.

Выбрано товаров: 37