Запчасти Komatsu D155A-2A РЫХЛИТЕЛЬ ЦИЛИНДР ПЕРЕКОСА (ДЛЯ РЕГУЛИР. ТИП РЫХЛИТЕЛЬ) ОСНОВН. КОМПОНЕНТЫ И РЕМКОМПЛЕКТЫ

Схема запчастей Komatsu D155A-2A - РЫХЛИТЕЛЬ ЦИЛИНДР ПЕРЕКОСА (ДЛЯ РЕГУЛИР. ТИП РЫХЛИТЕЛЬ) ОСНОВН. КОМПОНЕНТЫ И РЕМКОМПЛЕКТЫ
FIT
1:1
100%

Артикул

Название

Примечание

Количество

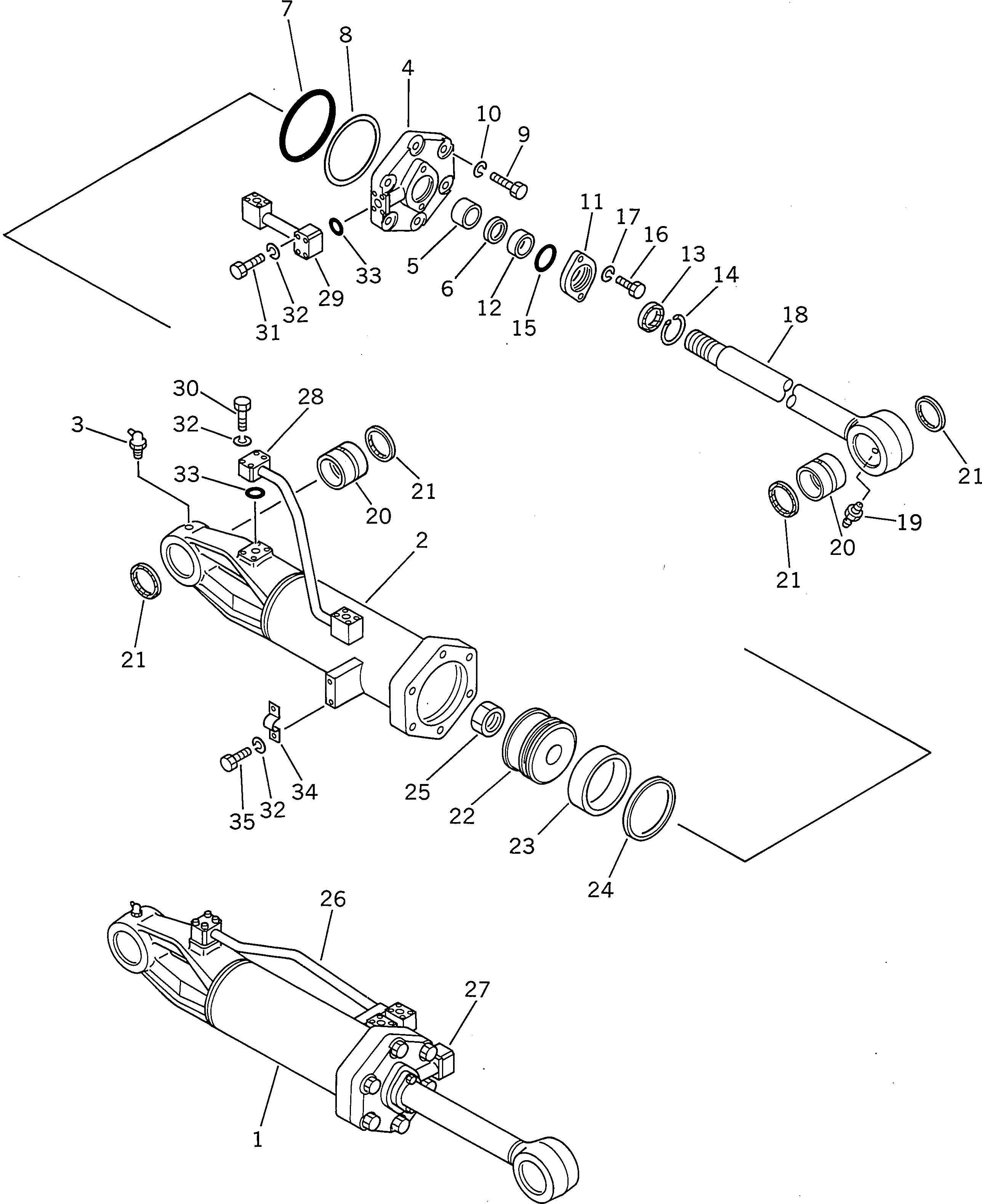
|1

175-63-43700

CYLINDER ASS'Y,L.H.

SN: 57001-UP

1шт.

|1

175-63-43800

CYLINDER ASS'Y,R.H.

SN: 57001-UP

1шт.

1

175-63-43142

CYLINDER,L.H.

SN: 57001-UP

1шт.

2

175-63-43242

CYLINDER,R.H.

SN: 57001-UP

1шт.

3

07020-00675

FITTING,GREASE

SN: 57001-UP

1шт.

4

195-63-42133

HEAD,CYLINDER

SN: 57001-UP

1шт.

5

07177-09035

BUSHING

SN: 57001-UP

1шт.

6

707-51-90110

U-PACKING,ROD (KIT)

SN: 57001-UP

1шт.

7

07000-15220

O-RING (KIT)

SN: 57001-UP

1шт.

8

07001-05220

RING,BACK-UP (KIT)

SN: 57001-UP

1шт.

9

01010-83095

BOLT

SN: 57001-UP

6шт.

10

01601-23075

WASHER,SPRING

SN: 57001-UP

6шт.

11

195-63-52470

GLAND

SN: 57001-UP

1шт.

12

07177-09020

BUSHING

SN: 57001-UP

1шт.

13

195-63-94170

SEAL,DUST (KIT)

SN: 57001-UP

1шт.

14

707-75-90011

RING,SNAP

SN: 57001-UP

1шт.

|14

0

RING,SNAP

SN: 57001-.

1шт.

15

07000-03110

O-RING (KIT)

SN: 57001-UP

1шт.

16

01010-51865

BOLT

SN: 57001-UP

2шт.

17

01602-21854

WASHER,SPRING

SN: 57001-UP

2шт.

18

175-63-43121

ROD,PISTON

SN: 57001-UP

1шт.

19

07020-00000

FITTING,GREASE

SN: 57001-UP

1шт.

20

07144-11110

BUSHING

SN: 57001-UP

2шт.

21

07145-00110

SEAL,DUST (KIT)

SN: 57001-UP

4шт.

22

707-36-22550

PISTON

SN: 57001-UP

1шт.

23

07155-02250

RING,WEAR (KIT)

SN: 57001-UP

1шт.

24

707-44-22280

RING,PISTON (KIT)

SN: 57001-UP

1шт.

25

175-63-52432

NUT,NYLON

SN: 57001-UP

1шт.

26

175-63-43171

TUBE,L.H.

SN: 57001-UP

1шт.

27

175-63-43271

TUBE,L.H.

SN: 57001-UP

1шт.

28

175-63-43181

TUBE,R.H.

SN: 57001-UP

1шт.

29

175-63-43281

TUBE,R.H.

SN: 57001-UP

1шт.

30

01010-51080

BOLT

SN: 57001-UP

4шт.

31

01010-51065

BOLT

SN: 57001-UP

4шт.

32

01602-21030

WASHER,SPRING

SN: 57001-UP

10шт.

33

07000-13038

O-RING (KIT)

SN: 57001-UP

2шт.

34

07282-03411

CLAMP

SN: 57001-UP

1шт.

35

01010-51020

BOLT

SN: 57001-UP

2шт.

K

707-99-71420

SERVICE KIT

SN: 57001-UP

2шт.

Выбрано товаров: 39