Запчасти Komatsu D155A-3 ВЫХЛОПНАЯ ТРУБА¤ КОРОТК. КОМПОНЕНТЫ ДВИГАТЕЛЯ

Схема запчастей Komatsu D155A-3 - ВЫХЛОПНАЯ ТРУБА¤ КОРОТК. КОМПОНЕНТЫ ДВИГАТЕЛЯ
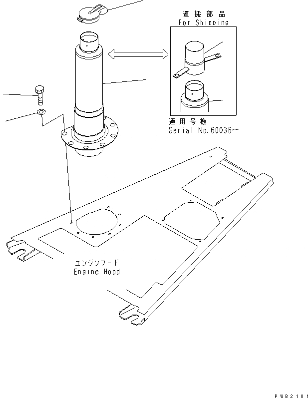
1
1
2
3
4
5
FIT
1:1
100%

Артикул

Название

Примечание

Количество

1

6211-12-5960

PIPE

SN: 60755-UP

1шт.

1

0

PIPE

SN: 60001-60754

1шт.

2

6150-11-5771

CAP

SN: 60001-UP

1шт.

2

6090-03-7460

CAP,RAIN

SN: 60001-UP

1шт.

3

195-54-43210

BOLT

SN: 60001-UP

7шт.

4

175-54-34170

WASHER

SN: 60001-UP

7шт.

5

17A-01-11152

DUCT

SN: 60036-UP

1шт.

Выбрано товаров: 7