Запчасти Komatsu D155A-5 ПОДЛОКОТНИК (БЕЗ РЫХЛИТЕЛЯ) КАБИНА ОПЕРАТОРА И СИСТЕМА УПРАВЛЕНИЯ

Схема запчастей Komatsu D155A-5 - ПОДЛОКОТНИК (БЕЗ РЫХЛИТЕЛЯ) КАБИНА ОПЕРАТОРА И СИСТЕМА УПРАВЛЕНИЯ
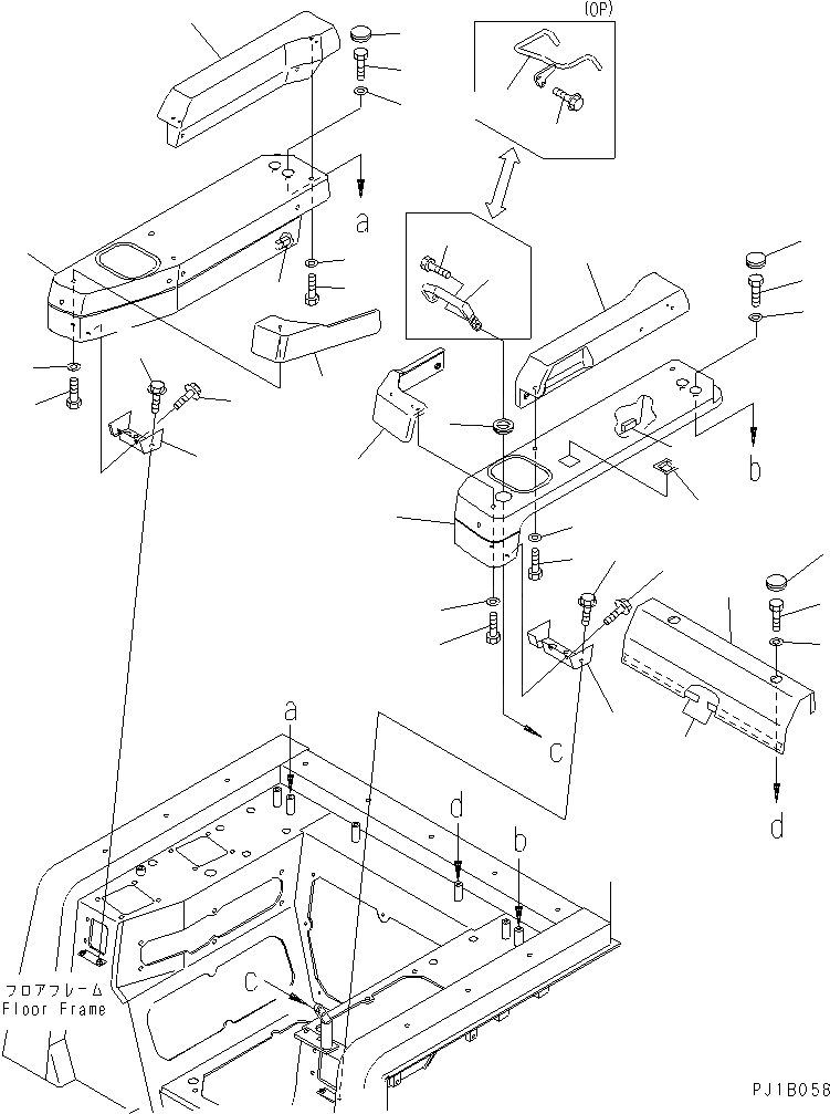
1
1A
2
3
4
5
6
7
8
9
10
11
12
13
14
14
15
15A
16
17
18
19
20
21
22
23
24
25
26
26
27
27A
28
29
30
31
32
33
34
FIT
1:1
100%

Артикул

Название

Примечание

Количество

1

124-54-58150

COVER

SN: 65001-UP

1шт.

1A

17A-54-16881

SHEET (BONDED)

SN: 65001-UP

3шт.

2

14X-54-16532

ARM REST

SN: 65001-UP

1шт.

3

01010-80812

BOLT

SN: 65001-UP

4шт.

4

01643-30823

WASHER

SN: 65001-UP

4шт.

5

14X-54-16611

PAD

SN: 65001-UP

1шт.

6

01010-80812

BOLT

SN: 65001-UP

3шт.

7

01643-30823

WASHER

SN: 65001-UP

3шт.

8

17A-43-25380

COVER

SN: 65001-UP

1шт.

9

14X-54-16660

GROMMET

SN: 65001-UP

1шт.

10

01010-81020

BOLT

SN: 65001-UP

2шт.

11

01643-31032

WASHER

SN: 65001-UP

2шт.

12

09415-02512

CAP

SN: 65001-UP

2шт.

13

14X-54-16442

COVER

SN: 65001-UP

1шт.

14

01439-00814

BOLT

SN: 65001-UP

4шт.

15

17A-54-16870

COVER

SN: 65001-UP

1шт.

15A

17A-54-16881

SHEET (BONDED)

SN: 65001-UP

3шт.

16

14X-54-16542

ARM REST

SN: 65001-UP

1шт.

17

01010-80812

BOLT

SN: 65001-UP

4шт.

18

01643-30823

WASHER

SN: 65001-UP

4шт.

19

14X-54-16621

PAD

SN: 65001-UP

1шт.

20

01010-80812

BOLT

SN: 65001-UP

3шт.

21

01643-30823

WASHER

SN: 65001-UP

3шт.

22

01010-81020

BOLT

SN: 65001-UP

2шт.

23

01643-31032

WASHER

SN: 65001-UP

2шт.

24

09415-02512

CAP

SN: 65001-UP

2шт.

25

14X-54-16452

COVER

SN: 65001-UP

1шт.

26

01439-00814

BOLT

SN: 65001-UP

4шт.

27

17A-54-16891

COVER

SN: 65001-UP

1шт.

27A

17A-54-13320

SEAL (BONDED)

SN: 65001-UP

2шт.

28

01010-81020

BOLT

SN: 65001-UP

2шт.

29

01643-31032

WASHER

SN: 65001-UP

2шт.

30

09415-02512

CAP

SN: 65001-UP

2шт.

31

14X-54-16631

HANDLE

SN: 65001-UP

1шт.

32

01439-01020

BOLT

SN: 65001-UP

2шт.

33

124-54-54451

HANDLE,(OP)

SN: 65001-UP

1шт.

34

01439-01030

BOLT,(OP)

SN: 65001-UP

2шт.

Выбрано товаров: 37