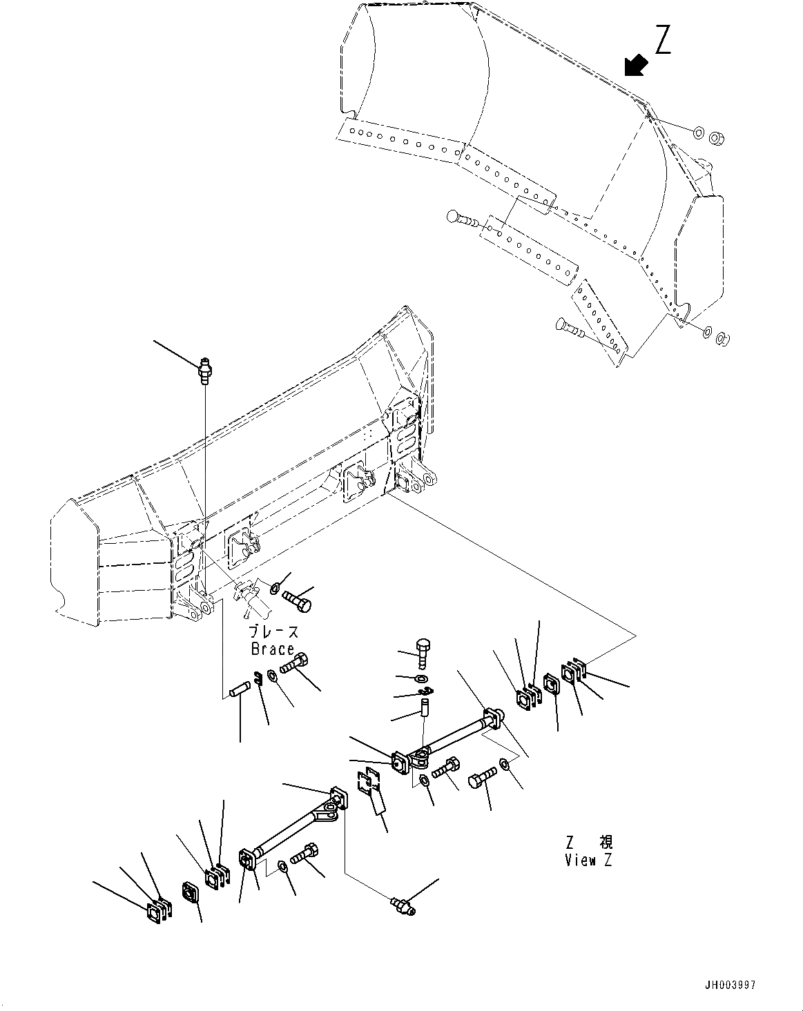
Запчасти Komatsu D155A-6R DOZER РАМА (№877-) DOZER РАМА, БЕЗ ОТВАЛ

Схема запчастей Komatsu D155A-6R - DOZER РАМА (№877-) DOZER РАМА, БЕЗ ОТВАЛ
23
24
29
30
31
32
2
15
4
7
8
12
13
14
6
19
1
18
13
12
20
14
10
11
28
27
26
25
22
21
20
19
18
15
17
16
9
3
5
4
FIT
1:1
100%

Артикул

Название

Примечание

Количество

|$0

175-71-31183

Arm

SN: 85077-UP

1шт.

1

175-71-31190

Cap,Welded

SN: 85077-UP

1шт.

2

175-71-31563

Stud,Welded

SN: 85077-UP

1шт.

3

175-71-31221

Cap,Welded

SN: 85077-UP

1шт.

4

07020-00000

Fitting, Grease

SN: 85077-UP

3шт.

4

175-71-31233

Arm

SN: 85077-UP

1шт.

5

175-71-31190

Cap,Welded

SN: 85077-UP

1шт.

6

175-71-31563

Stud,Welded

SN: 85077-UP

1шт.

7

175-71-31241

Stud,Welded

SN: 85077-UP

1шт.

8

175-71-31380

Cap,Welded,Welded

SN: 85077-UP

1шт.

9

175-71-00294

Shim Assembly

SN: 85077-UP

1шт.

9

Shim, T=0.5mm

SN: 85077-UP

4шт.

9

Shim, T=1.0mm

SN: 85077-UP

8шт.

9

Shim, T=2.3mm

SN: 85077-UP

4шт.

10

01011-82700

Bolt

SN: 85077-UP

4шт.

11

01643-32780

Washer

SN: 85077-UP

4шт.

12

175-71-31250

Shim, T=0.5mm

SN: 85077-UP

8шт.

13

175-71-31260

Shim, T=1.0mm

SN: 85077-UP

16шт.

14

175-71-31270

Shim, T=2.3mm

SN: 85077-UP

8шт.

15

175-71-31280

Cap

SN: 85077-UP

2шт.

16

01010-81270

Bolt

SN: 85077-UP

4шт.

17

01643-51232

Washer

SN: 85077-UP

4шт.

18

175-71-31250

Shim, T=0.5mm

SN: 85077-UP

8шт.

19

175-71-31260

Shim, T=1.0mm

SN: 85077-UP

8шт.

20

175-71-31270

Shim, T=2.3mm

SN: 85077-UP

24шт.

21

175-71-21351

Bolt

SN: 85077-UP

8шт.

22

01643-32780

Washer

SN: 85077-UP

8шт.

23

01011-82700

Bolt

SN: 85077-UP

8шт.

24

01643-32780

Washer

SN: 85077-UP

8шт.

25

154-71-21290

Pin

SN: 85077-UP

2шт.

26

175-71-21330

Lock

SN: 85077-UP

2шт.

27

01010-81435

Bolt

SN: 85077-UP

8шт.

28

01643-31445

Washer, Flat

SN: 85077-UP

8шт.

29

175-71-21221

Pin

SN: 85077-UP

2шт.

30

175-71-21230

Lock

SN: 85077-UP

2шт.

31

01010-81440

Bolt

SN: 85077-UP

8шт.

32

01643-31445

Washer, Flat

SN: 85077-UP

8шт.

Выбрано товаров: 37