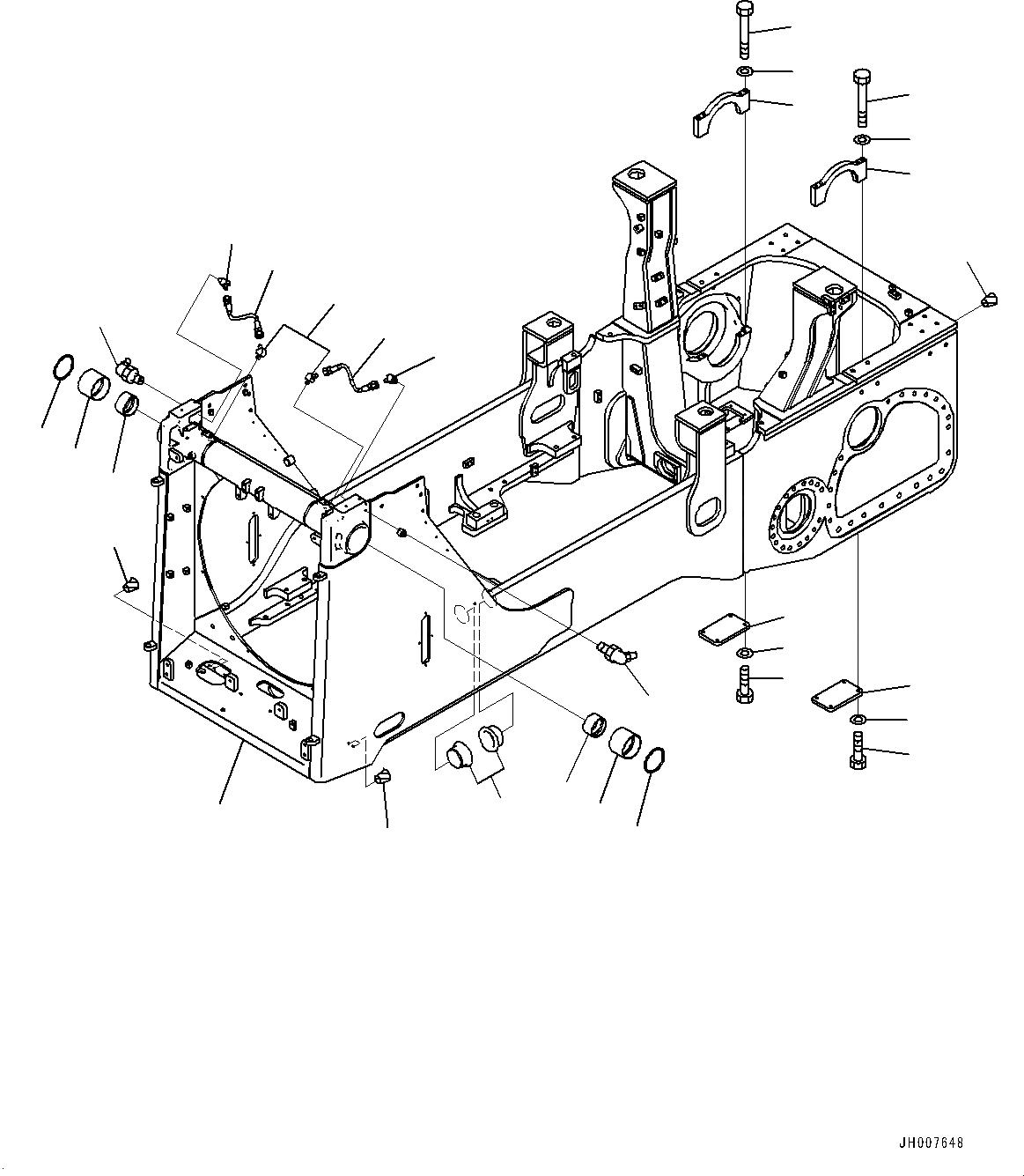
Запчасти Komatsu D155A-6R ОСНОВН. РАМА (№89-) ОСНОВН. РАМА

Схема запчастей Komatsu D155A-6R - ОСНОВН. РАМА (№89-) ОСНОВН. РАМА
3
2
11
1
7
12
4
14
13
15
15
13
14
10
2
3
4
7
6
8
8
6
9
11
9
9
10
5
16
16
FIT
1:1
100%

Артикул

Название

Примечание

Количество

1

17A-21-41214

Frame Assembly

SN: 85943-UP

1шт.

2

17A-21-11151

Plate

SN: 85943-UP

2шт.

3

01010-81225

Bolt

SN: 85943-UP

8шт.

4

01643-31232

Washer

SN: 85943-UP

8шт.

5

17A-50-42211

Bushing

SN: 85943-UP

2шт.

6

175-61-15450

Bushing

SN: 85943-UP

2шт.

7

175-61-15460

Bushing

SN: 85943-UP

2шт.

8

07145-00125

Seal, Dust

SN: 85943-UP

2шт.

9

201-62-41910

Elbow

SN: 85943-UP

4шт.

10

07020-00675

Fitting, Grease

SN: 85943-UP

2шт.

11

17A-61-41820

Hose

SN: 85943-UP

2шт.

12

07049-03949

Plug, Cork

SN: 85943-UP

22шт.

13

17A-21-41391

Cap

SN: 85943-UP

2шт.

14

01011-81655

Bolt

SN: 85943-UP

8шт.

15

01643-31645

Washer

SN: 85943-UP

8шт.

16

07049-01215

Plug

SN: 85943-UP

4шт.

Выбрано товаров: 16