Запчасти Komatsu D155A-6R ОСНОВН. КОНСТРУКЦИЯ, ПОКРЫТИЕ ПОЛА (№877-) ОСНОВН. КОНСТРУКЦИЯ, ДЛЯ РЕГУЛИР. ГИГАНТСК. РЫХЛИТ

Схема запчастей Komatsu D155A-6R - ОСНОВН. КОНСТРУКЦИЯ, ПОКРЫТИЕ ПОЛА (№877-) ОСНОВН. КОНСТРУКЦИЯ, ДЛЯ РЕГУЛИР. ГИГАНТСК. РЫХЛИТ
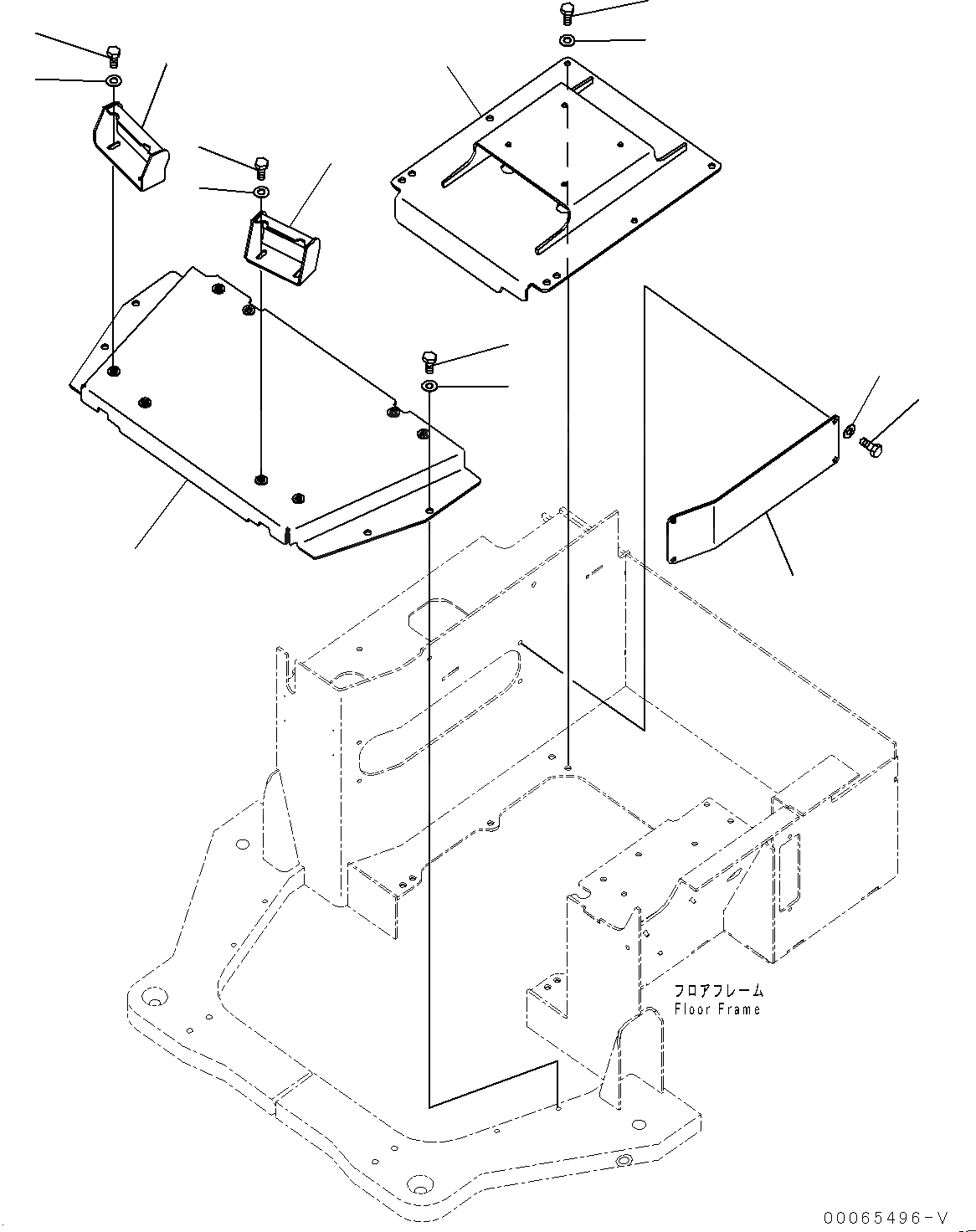
14
13
11
12
10
8
9
7
5
6
4
2
3
1
15
FIT
1:1
100%

Артикул

Название

Примечание

Количество

1

17A-43-41311

Bracket

SN: 85077-UP

1шт.

2

01010-D1020

Bolt

SN: 85077-UP

2шт.

3

01643-71032

Washer

SN: 85077-UP

2шт.

4

17A-43-41241

Bracket

SN: 85077-UP

1шт.

5

01010-D1020

Bolt

SN: 85077-UP

2шт.

6

01643-71032

Washer

SN: 85077-UP

2шт.

7

17A-54-48211

Cover

SN: 85077-UP

1шт.

8

01010-81230

Bolt

SN: 85077-UP

4шт.

9

01643-31232

Washer

SN: 85077-UP

4шт.

10

17A-54-48221

Cover

SN: 85077-UP

1шт.

11

01010-81230

Bolt

SN: 85077-UP

8шт.

12

01643-31232

Washer

SN: 85077-UP

8шт.

13

17A-54-48230

Cover

SN: 85077-UP

1шт.

14

01010-80820

Bolt

SN: 85077-UP

4шт.

15

01643-30823

Washer

SN: 85077-UP

4шт.

Выбрано товаров: 15