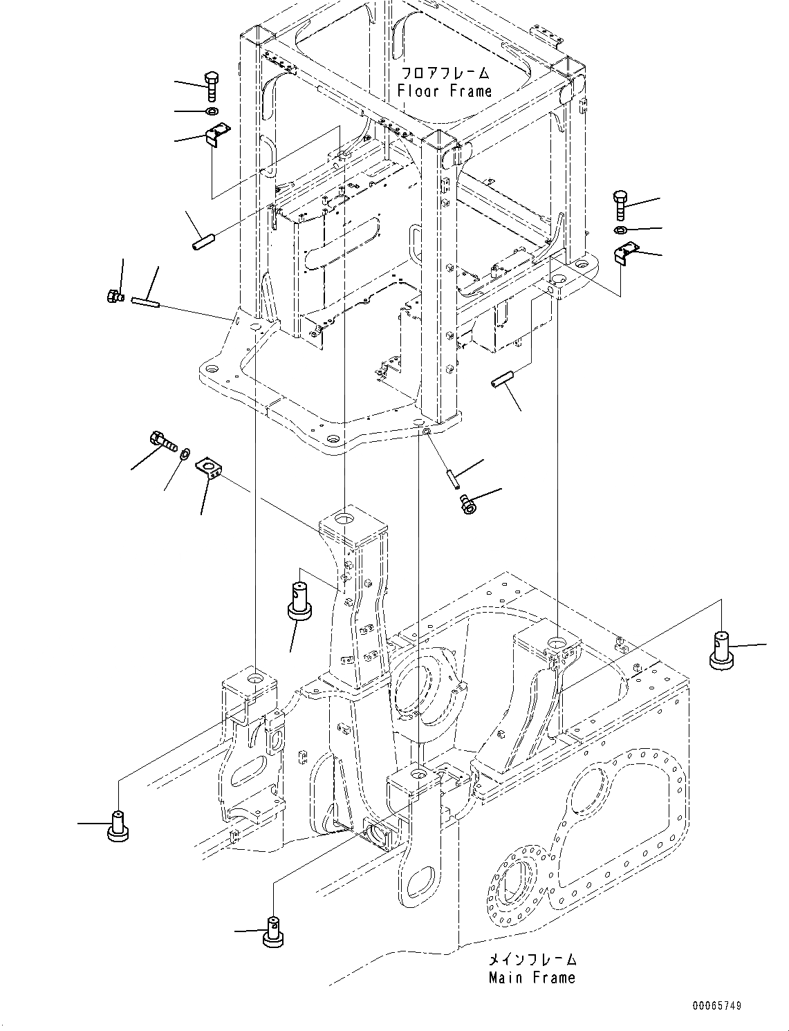
Запчасти Komatsu D155A-6R КРЕПЛЕНИЕ ОСН. КОНСТРУКЦИИING, СТОПОР (№877-) КРЕПЛЕНИЕ ОСН. КОНСТРУКЦИИING, БЕЗ КАБИНА ROPS

Схема запчастей Komatsu D155A-6R - КРЕПЛЕНИЕ ОСН. КОНСТРУКЦИИING, СТОПОР (№877-) КРЕПЛЕНИЕ ОСН. КОНСТРУКЦИИING, БЕЗ КАБИНА ROPS
4
2
2
7
6
4
8
6
7
8
3
11
10
9
3
1
1
5
5
FIT
1:1
100%

Артикул

Название

Примечание

Количество

1

17A-979-1811

Pin

SN: 85077-UP

2шт.

2

17A-979-1821

Pin

SN: 85077-UP

2шт.

3

17A-979-1831

Pin

SN: 85077-UP

2шт.

4

17A-979-1841

Pin

SN: 85077-UP

2шт.

5

07040-12412

Plug

SN: 85077-UP

2шт.

6

17A-979-1871

Plate

SN: 85077-UP

2шт.

7

01010-81225

Bolt

SN: 85077-UP

3шт.

8

01643-31232

Washer

SN: 85077-UP

3шт.

9

17A-979-1860

Bracket

SN: 85077-UP

1шт.

10

01010-81225

Bolt

SN: 85077-UP

2шт.

11

01643-31232

Washer

SN: 85077-UP

2шт.

Выбрано товаров: 11