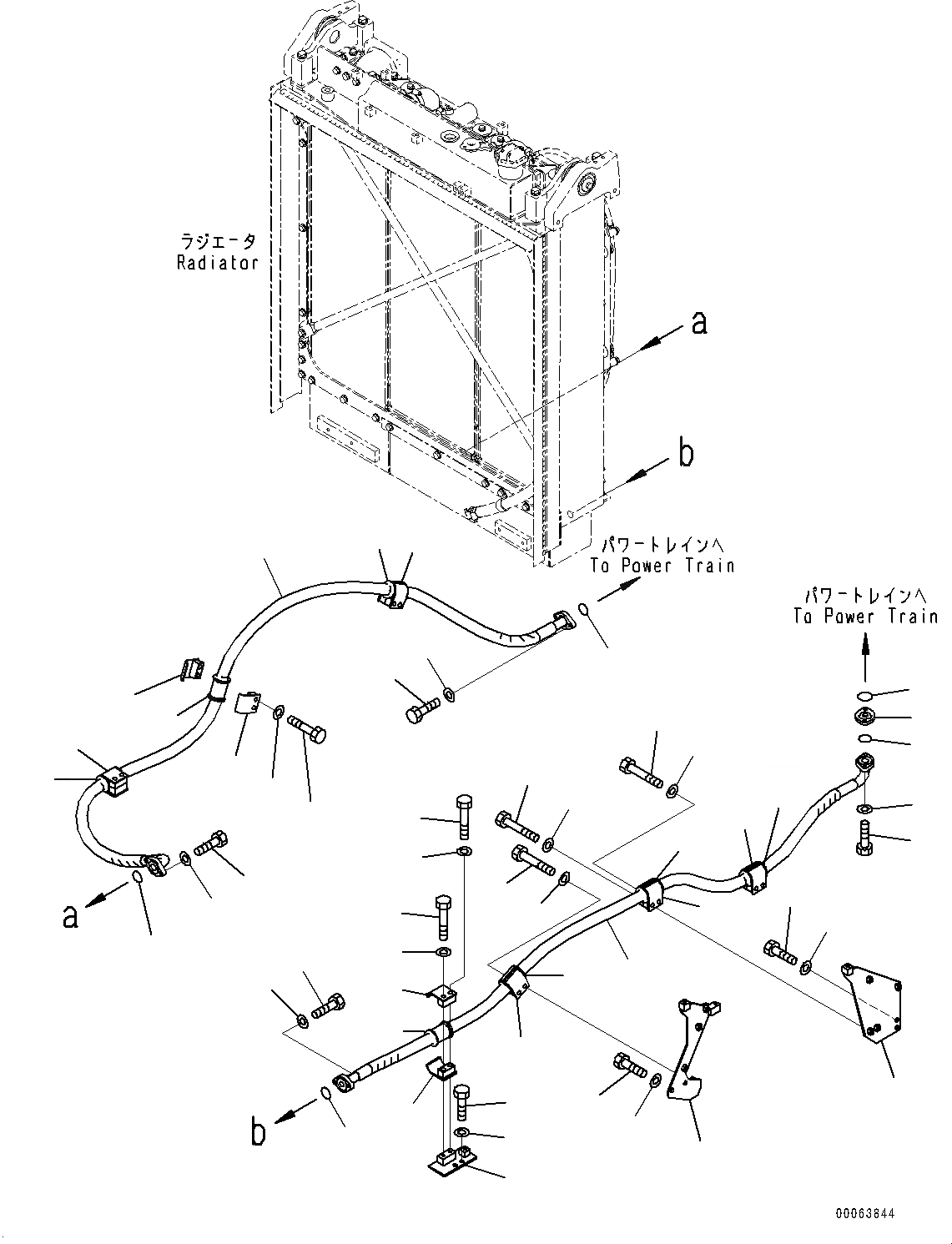
Запчасти Komatsu D155A-6R СИЛОВАЯ ПЕРЕДАЧА ЛИНИИ МАСЛООХЛАДИТЕЛЯ (№877-) СИЛОВАЯ ПЕРЕДАЧА ЛИНИИ МАСЛООХЛАДИТЕЛЯ

Схема запчастей Komatsu D155A-6R - СИЛОВАЯ ПЕРЕДАЧА ЛИНИИ МАСЛООХЛАДИТЕЛЯ (№877-) СИЛОВАЯ ПЕРЕДАЧА ЛИНИИ МАСЛООХЛАДИТЕЛЯ
13
26
20
15
23
26
21
24
22
25
25
2
14
7
17
8
21
16
20
28
20
29
27
27
26
27
26
23
20
21
24
21
18
19
18
19
18
1
19
18
10
11
12
9
18
19
4
21
20
6
2
3
5
FIT
1:1
100%

Артикул

Название

Примечание

Количество

1

17A-49-41542

Hose

SN: 85077-UP

1шт.

2

07000-73032

O-ring

SN: 85077-UP

2шт.

3

17A-49-41811

Plate

SN: 85077-UP

1шт.

4

07000-73038

O-ring

SN: 85077-UP

1шт.

5

01010-81040

Bolt

SN: 85549-UP

2шт.

5

01010-81045

Bolt

SN: 85077-85548

2шт.

6

01643-31032

Washer

SN: 85077-UP

2шт.

7

01010-81030

Bolt

SN: 85549-UP

2шт.

7

01010-81035

Bolt

SN: 85077-85548

2шт.

8

01643-31032

Washer

SN: 85077-UP

2шт.

9

17A-49-41471

Bracket

SN: 85077-UP

1шт.

10

01010-81225

Bolt

SN: 85077-UP

2шт.

11

01643-31232

Washer

SN: 85077-UP

2шт.

12

17A-49-41482

Bracket

SN: 85077-UP

1шт.

13

01010-81225

Bolt

SN: 85077-UP

2шт.

14

01643-31232

Washer

SN: 85077-UP

2шт.

15

17A-61-41622

Bracket

SN: 85077-UP

1шт.

16

01010-81230

Bolt

SN: 85077-UP

2шт.

17

01643-31232

Washer

SN: 85077-UP

2шт.

18

07094-11024

Clamp

SN: 85077-UP

8шт.

19

07095-01038

Cushion

SN: 85077-UP

4шт.

20

01010-81280

Bolt

SN: 85077-UP

8шт.

21

01643-31232

Washer

SN: 85077-UP

8шт.

22

17A-49-41752

Hose

SN: 85077-UP

1шт.

23

07000-73032

O-ring

SN: 85077-UP

2шт.

24

01010-81035

Bolt

SN: 85077-UP

4шт.

25

01643-31032

Washer

SN: 85077-UP

4шт.

26

07094-11024

Clamp

SN: 85077-UP

6шт.

27

07095-01038

Cushion

SN: 85077-UP

3шт.

28

01010-81280

Bolt

SN: 85077-UP

6шт.

29

01643-31232

Washer

SN: 85077-UP

6шт.

Выбрано товаров: 31