Запчасти Komatsu D155AX-5 ЦИЛИНДР СТОПОРН. ПАЛЬЦА ОСНОВН. КОМПОНЕНТЫ И РЕМКОМПЛЕКТЫ

Схема запчастей Komatsu D155AX-5 - ЦИЛИНДР СТОПОРН. ПАЛЬЦА ОСНОВН. КОМПОНЕНТЫ И РЕМКОМПЛЕКТЫ
FIT
1:1
100%

Артикул

Название

Примечание

Количество

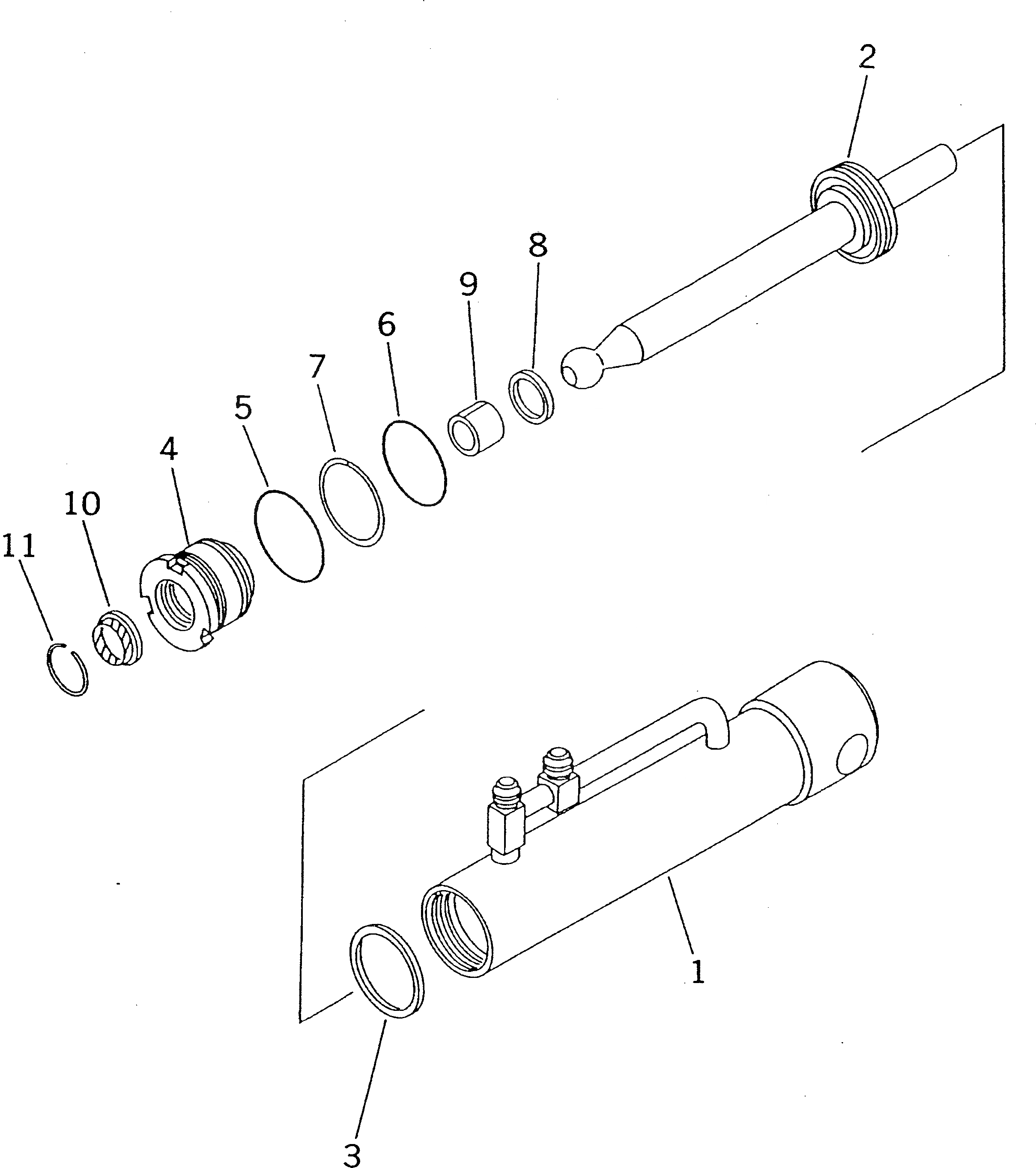
|1

15A-63-02080

CYLINDER ASS'Y

SN: 70001-UP

1шт.

1

15A-63-49140

CYLINDER

SN: 70001-UP

1шт.

2

15A-63-49120

ROD

SN: 70001-UP

1шт.

3

707-44-60070

RING,PISTON (KIT)

SN: 70001-UP

1шт.

4

707-29-60930

HEAD,CYLINDER

SN: 70001-UP

1шт.

5

07000-02060

O-RING (KIT)

SN: 70001-UP

1шт.

6

07000-12055

O-RING (KIT)

SN: 70001-UP

1шт.

7

07001-02055

RING,BACK-UP (KIT)

SN: 70001-UP

1шт.

8

707-51-30210

PACKING (KIT)

SN: 70001-UP

1шт.

9

07177-03025

BUSHING

SN: 70001-UP

1шт.

10

707-56-30510

SEAL,DUST

SN: 70001-UP

1шт.

11

07179-12042

RING,SNAP

SN: 70001-UP

1шт.

|K

707-98-11070

SERVICE KIT

SN: 70001-UP

1шт.

Выбрано товаров: 13