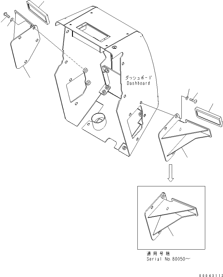
Запчасти Komatsu D155AX-6 ПРИБОРНАЯ ПАНЕЛЬ (УПОР ДЛЯ НОГ)(№8-) КАБИНА ОПЕРАТОРА И СИСТЕМА УПРАВЛЕНИЯ

Схема запчастей Komatsu D155AX-6 - ПРИБОРНАЯ ПАНЕЛЬ (УПОР ДЛЯ НОГ)(№8-) КАБИНА ОПЕРАТОРА И СИСТЕМА УПРАВЛЕНИЯ
1
1
2
3
3
4
4
5
5
FIT
1:1
100%

Артикул

Название

Примечание

Количество

1

17A-54-46582

BRACKET

SN: 80050-UP

1шт.

1

0

BRACKET

SN: 80001-80049

1шт.

|$$3

(17A-54-46582,01245-01025 (2),

-1шт.

|$$4

01643-71032(2)

-1шт.

2

17A-54-46592

BRACKET

SN: 80050-UP

1шт.

2

0

BRACKET

SN: 80001-80049

1шт.

|$$7

(17A-54-46592

-1шт.

|$$8

01643-71032(2),01245-01025 (2),

-1шт.

3

01245-01025

SCREW

SN: 80050-UP

4шт.

3

01245-01020

SCREW

SN: 80001-80049

4шт.

4

01643-71032

WASHER

SN: 80001-UP

4шт.

5

203-43-56450

CAP, PEDAL

SN: 80001-UP

2шт.

Выбрано товаров: 12