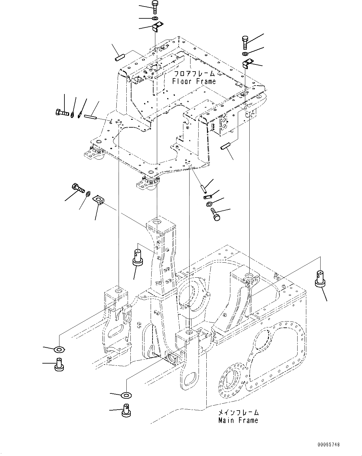
Запчасти Komatsu D155AX-6 КРЕПЛЕНИЕ ОСН. КОНСТРУКЦИИING, СТОПОР (№88-) КРЕПЛЕНИЕ ОСН. КОНСТРУКЦИИING

Схема запчастей Komatsu D155AX-6 - КРЕПЛЕНИЕ ОСН. КОНСТРУКЦИИING, СТОПОР (№88-) КРЕПЛЕНИЕ ОСН. КОНСТРУКЦИИING
11
10
9
11
5
9
10
8
3
6
7
8
3
7
6
5
4
14
13
12
4
1
1
2
2
FIT
1:1
100%

Артикул

Название

Примечание

Количество

1

17A-979-1811

Pin

SN: 81028-UP

2шт.

2

17A-979-1510

Sheet

SN: 81028-UP

2шт.

3

17A-979-1821

Pin

SN: 81028-UP

2шт.

4

17A-979-1831

Pin

SN: 81028-UP

2шт.

5

17A-979-1841

Pin

SN: 81028-UP

2шт.

6

11S-959-1780

Shim

SN: 81028-UP

2шт.

7

01010-81230

Bolt

SN: 81028-UP

4шт.

8

01643-31232

Washer

SN: 81028-UP

4шт.

9

17A-979-1871

Plate

SN: 81028-UP

2шт.

10

01010-81225

Bolt

SN: 81028-UP

3шт.

11

01643-31232

Washer

SN: 81028-UP

3шт.

12

17A-979-1860

Bracket

SN: 81028-UP

1шт.

13

01010-81225

Bolt

SN: 81028-UP

2шт.

14

01643-31232

Washer

SN: 81028-UP

2шт.

Выбрано товаров: 0