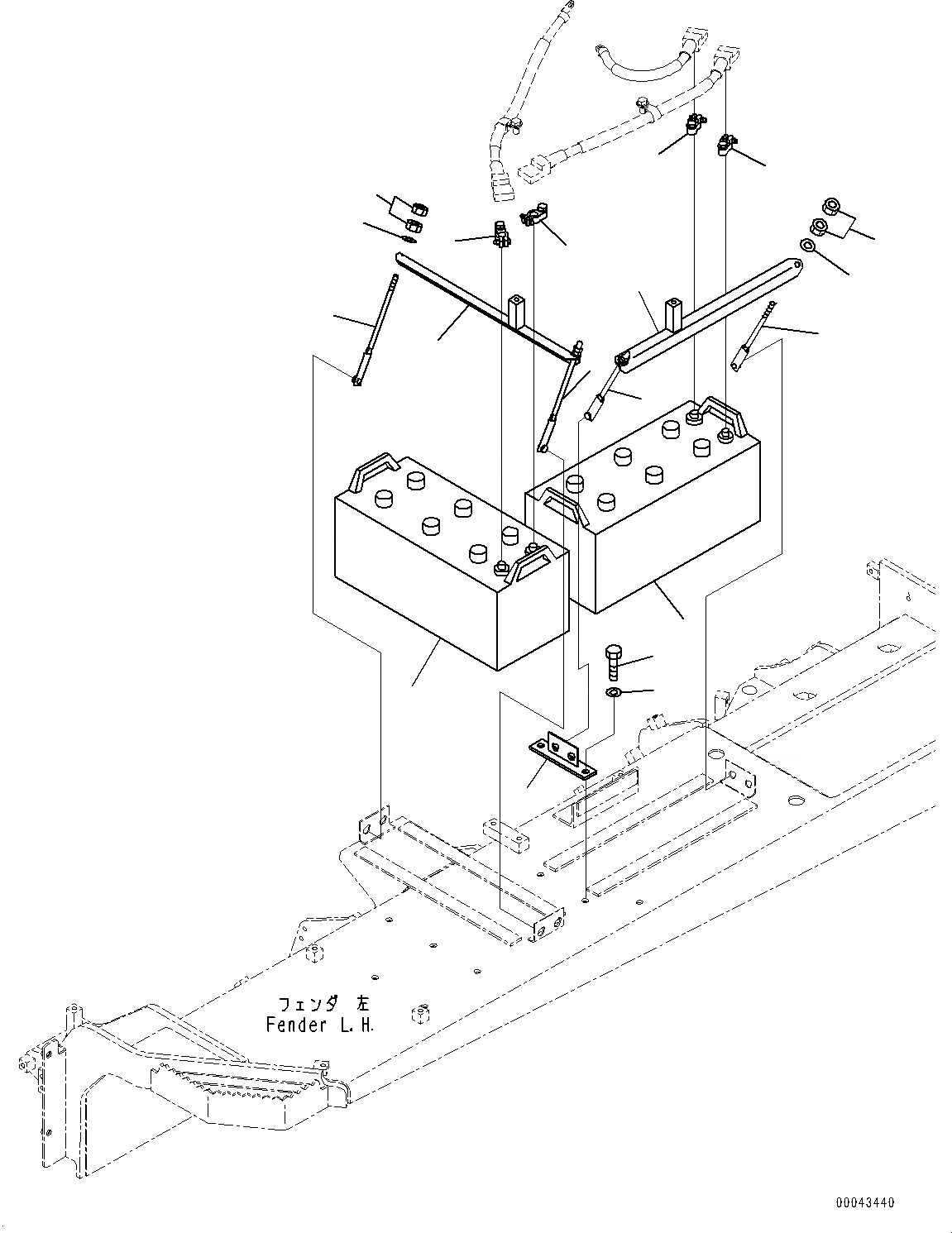
Запчасти Komatsu D155AX-6 КРЫЛО, АККУМУЛЯТОР (№887-) КРЫЛО, С ВЫСОК. ЕМК. АККУМУЛЯТОР

Схема запчастей Komatsu D155AX-6 - КРЫЛО, АККУМУЛЯТОР (№887-) КРЫЛО, С ВЫСОК. ЕМК. АККУМУЛЯТОР
1
2
3
4
5
6
7
8
9
10
1
2
3
5
5
6
7
5
4
FIT
1:1
100%

Артикул

Название

Примечание

Количество

1

08000-02221

Battery, Wet, C200

SN: 81087-UP

2шт.

2

08000-00020

Terminal, (+)

SN: 81087-UP

2шт.

3

08000-00021

Terminal, (-)

SN: 81087-UP

2шт.

4

17A-06-41941

Holder

SN: 81087-UP

2шт.

5

175-06-39621

Rod

SN: 81087-UP

4шт.

6

01580-11008

Nut

SN: 81087-UP

8шт.

7

01643-31032

Washer

SN: 81087-UP

4шт.

8

17A-54-44171

Bracket

SN: 81087-UP

1шт.

9

01010-81230

Bolt

SN: 81087-UP

2шт.

10

01643-31232

Washer

SN: 81087-UP

2шт.

Выбрано товаров: 0