Запчасти Komatsu D155AX-6 ТОПЛИВН. БАК., ЛАМПА РАБОЧ. ОСВЕЩЕНИЯ, ЗАДН. (№88-) ТОПЛИВН. БАК., С ТОПЛИВН. БЫСТР. ЗАПРАВ. СИСТЕМА

Схема запчастей Komatsu D155AX-6 - ТОПЛИВН. БАК., ЛАМПА РАБОЧ. ОСВЕЩЕНИЯ, ЗАДН. (№88-) ТОПЛИВН. БАК., С ТОПЛИВН. БЫСТР. ЗАПРАВ. СИСТЕМА
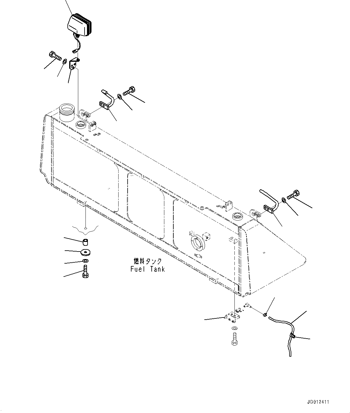
1
2
3
4
5
6
7
9
10
11
11
10
8
16
12
13
14
15
FIT
1:1
100%

Артикул

Название

Примечание

Количество

1

07285-00115

Clip

SN: 81028-UP

1шт.

2

07270-01060

Tube

SN: 81028-UP

1шт.

3

04434-51312

Clip

SN: 81028-UP

1шт.

4

17A-04-11191

Plate

SN: 81028-UP

6шт.

5

01010-81675

Bolt

SN: 81028-UP

6шт.

6

01643-31645

Washer

SN: 81028-UP

6шт.

7

195-54-42560

Boss

SN: 81028-UP

6шт.

8

17A-04-41161

Grip

SN: 81028-UP

1шт.

9

17A-04-41181

Grip

SN: 81028-UP

1шт.

10

01010-81240

Bolt

SN: 81028-UP

4шт.

11

01643-31232

Washer

SN: 81028-UP

4шт.

12

17A-06-17931

Lamp

SN: 81028-UP

1шт.

|$12

17A-06-17970

Bulb, 70watt

SN: 81028-UP

1шт.

|$13

17A-06-17980

Sleeve

SN: 81028-UP

1шт.

13

17A-06-41611

Plate

SN: 81028-UP

1шт.

14

01010-81235

Bolt

SN: 81028-UP

2шт.

15

01643-31232

Washer

SN: 81028-UP

2шт.

16

17A-04-41311

Bracket

SN: UP

-1шт.

Выбрано товаров: 18