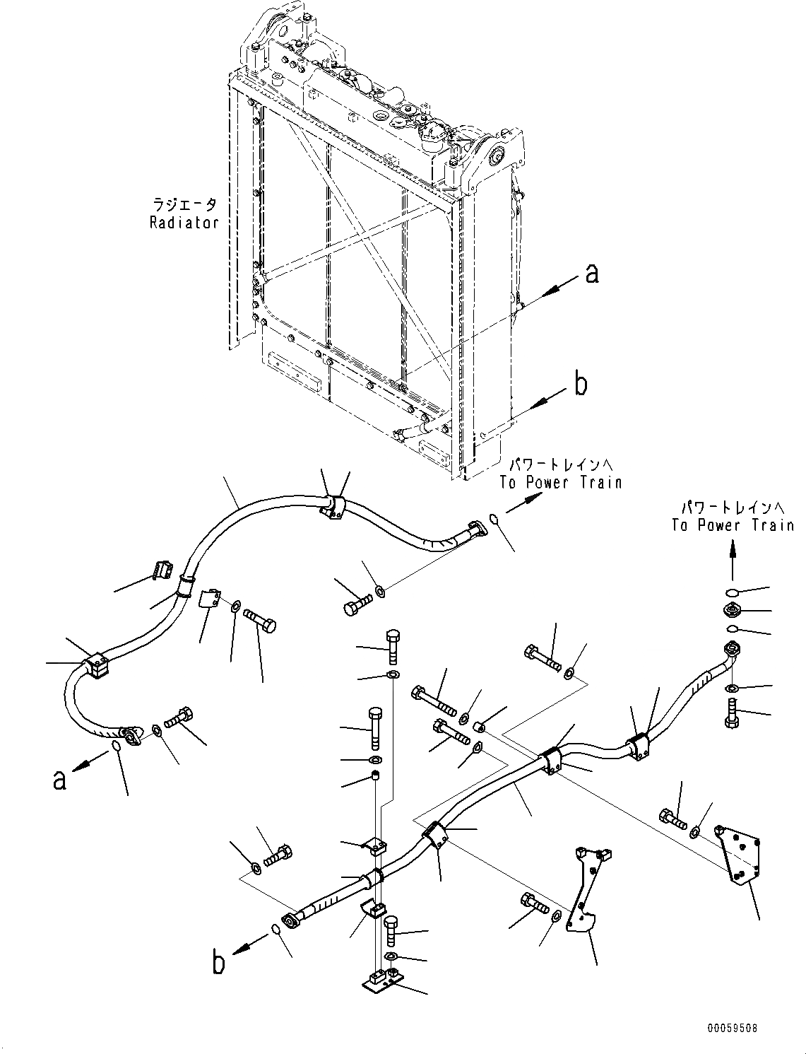
Запчасти Komatsu D155AX-6 СИЛОВАЯ ПЕРЕДАЧА ЛИНИИ МАСЛООХЛАДИТЕЛЯ (№88-) СИЛОВАЯ ПЕРЕДАЧА ЛИНИИ МАСЛООХЛАДИТЕЛЯ, LANDFILL СПЕЦ-ЯIFICATION

Схема запчастей Komatsu D155AX-6 - СИЛОВАЯ ПЕРЕДАЧА ЛИНИИ МАСЛООХЛАДИТЕЛЯ (№88-) СИЛОВАЯ ПЕРЕДАЧА ЛИНИИ МАСЛООХЛАДИТЕЛЯ, LANDFILL СПЕЦ-ЯIFICATION
13
17
16
14
8
7
31
34
33
32
31
31
32
30
28
29
32
31
30
29
27
28
23
22
21
25
26
22
23
24
26
20
18
19
18
15
19
18
1
19
18
10
11
12
9
18
19
22
23
4
2
3
6
5
2
FIT
1:1
100%

Артикул

Название

Примечание

Количество

1

17A-49-41542

Hose

SN: 81028-UP

1шт.

2

07000-73032

O-ring

SN: 81028-UP

2шт.

3

17A-49-41811

Plate

SN: 81028-UP

1шт.

4

07000-73038

O-ring

SN: 81028-UP

1шт.

5

01010-81040

Bolt

SN: 81433-UP

2шт.

5

01010-81045

Bolt

SN: 81028-81432

2шт.

6

01643-31032

Washer

SN: 81028-UP

2шт.

7

01010-81030

Bolt

SN: 81433-UP

2шт.

7

01010-81035

Bolt

SN: 81028-81432

2шт.

8

01643-31032

Washer

SN: 81028-UP

2шт.

9

17A-49-41870

Bracket

SN: 81028-UP

1шт.

10

01010-81225

Bolt

SN: 81028-UP

2шт.

11

01643-31232

Washer

SN: 81028-UP

2шт.

12

17A-49-41482

Bracket

SN: 81028-UP

1шт.

13

01010-81225

Bolt

SN: 81028-UP

2шт.

14

01643-31232

Washer

SN: 81028-UP

2шт.

15

17A-61-41622

Bracket

SN: 81028-UP

1шт.

16

01010-81230

Bolt

SN: 81028-UP

2шт.

17

01643-31232

Washer

SN: 81028-UP

2шт.

18

07094-11024

Clamp

SN: 81028-UP

8шт.

19

07095-01038

Cushion

SN: 81028-UP

4шт.

20

113-99-21890

Spacer

SN: 81028-UP

1шт.

21

195-33-11220

Spacer

SN: 81028-UP

1шт.

22

01010-81280

Bolt

SN: 81028-UP

6шт.

23

01643-31232

Washer

SN: 81028-UP

6шт.

24

01011-81215

Bolt

SN: 81028-UP

1шт.

25

01011-81205

Bolt

SN: 81028-UP

1шт.

26

01643-31232

Washer

SN: 81028-UP

2шт.

27

17A-49-41752

Hose

SN: 81028-UP

1шт.

28

07000-73032

O-ring

SN: 81028-UP

2шт.

29

01010-81035

Bolt

SN: 81028-UP

4шт.

30

01643-31032

Washer

SN: 81028-UP

4шт.

31

07094-11024

Clamp

SN: 81028-UP

6шт.

32

07095-01038

Cushion

SN: 81028-UP

3шт.

33

01010-81280

Bolt

SN: 81028-UP

6шт.

34

01643-31232

Washer

SN: 81028-UP

6шт.

Выбрано товаров: 36