Запчасти Komatsu D155AX-6A КРЫЛО (АККУМУЛЯТОР) (NS WET)(№8-) ЧАСТИ КОРПУСА

Схема запчастей Komatsu D155AX-6A - КРЫЛО (АККУМУЛЯТОР) (NS WET)(№8-) ЧАСТИ КОРПУСА
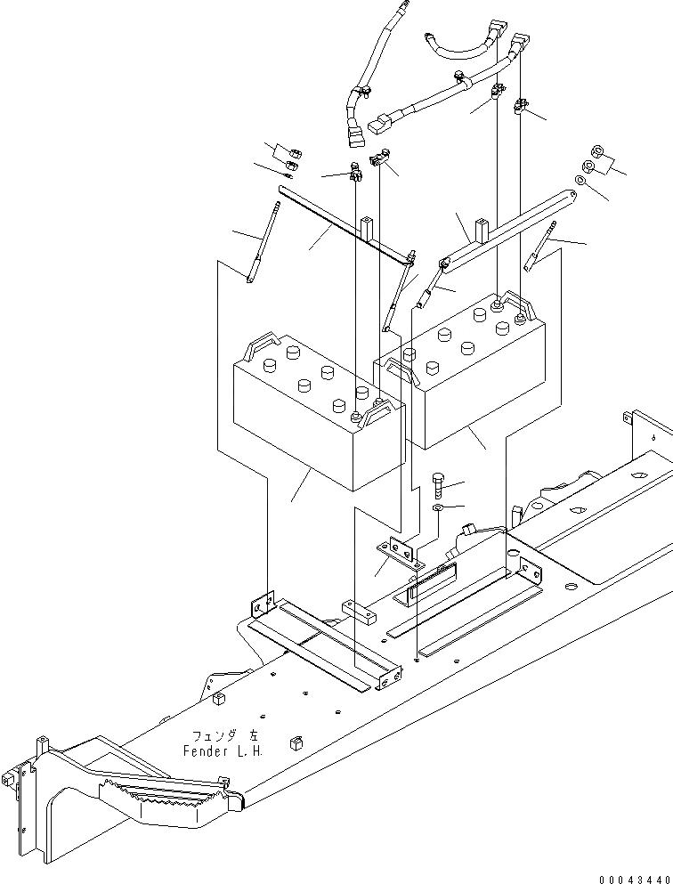
1
1
2
2
3
3
4
4
5
5
5
5
6
6
7
7
8
9
10
FIT
1:1
100%

Артикул

Название

Примечание

Количество

1

08000-32220

BATTERY, WET(165G51)

SN: 80001-UP

2шт.

2

08000-00000

TERMINAL, (+)

SN: 80001-UP

2шт.

3

08000-00001

TERMINAL, (-)

SN: 80001-UP

2шт.

4

17A-06-41941

HOLDER

SN: 80001-UP

2шт.

5

175-06-39621

ROD

SN: 80001-UP

4шт.

6

01580-11008

NUT

SN: 80001-UP

8шт.

7

01643-31032

WASHER

SN: 80001-UP

4шт.

8

17A-54-44171

BRACKET

SN: 80001-UP

1шт.

9

01010-81230

BOLT

SN: 80001-UP

2шт.

10

01643-31232

WASHER

SN: 80001-UP

2шт.

Выбрано товаров: 10