Запчасти Komatsu D155AX-7 СИСТЕМА ОХЛАЖДЕНИЯ, КОНДЕНСАТОР (№9-) СИСТЕМА ОХЛАЖДЕНИЯ, ДЛЯ LANDFILL СПЕЦ-ЯIFICATION

Схема запчастей Komatsu D155AX-7 - СИСТЕМА ОХЛАЖДЕНИЯ, КОНДЕНСАТОР (№9-) СИСТЕМА ОХЛАЖДЕНИЯ, ДЛЯ LANDFILL СПЕЦ-ЯIFICATION
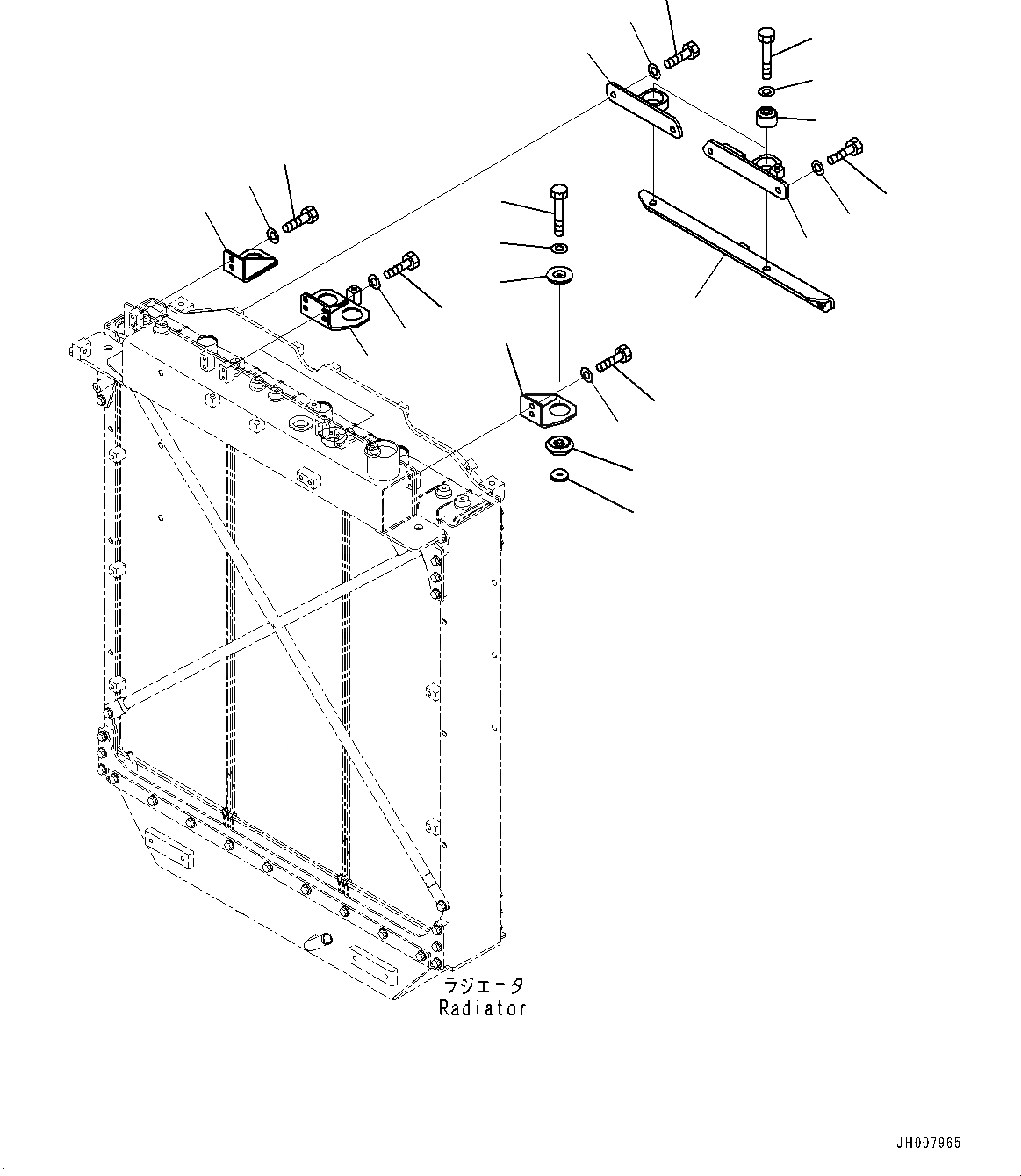
1
2
3
4
7
9
11
10
12
15
16
19
20
5
6
14
13
18
17
17
18
22
21
8
FIT
1:1
100%

Артикул

Название

Примечание

Количество

1

17A-03-41312

Bracket

SN: 90001-UP

1шт.

2

01010-81025

Bolt

SN: 90001-UP

2шт.

3

01643-31032

Washer

SN: 90001-UP

2шт.

4

17A-03-41272

Bracket

SN: 90001-UP

2шт.

5

01010-81025

Bolt

SN: 90001-UP

8шт.

6

01643-31032

Washer

SN: 90001-UP

8шт.

7

17A-03-51872

Cushion

SN: 90001-UP

6шт.

8

178-60-12250

Collar

SN: 90001-UP

6шт.

9

17A-03-51880

Plate

SN: 90001-UP

6шт.

10

01010-81065

Bolt

SN: 90001-UP

6шт.

11

01643-31032

Washer

SN: 90001-UP

6шт.

12

17A-03-51221

Bracket

SN: 90001-UP

1шт.

13

01010-81025

Bolt

SN: 90001-UP

2шт.

14

01643-31032

Washer

SN: 90001-UP

2шт.

15

17A-03-51521

Bracket

SN: 90001-UP

1шт.

16

17A-03-51791

Bracket

SN: 90001-UP

1шт.

17

01010-81230

Bolt

SN: 90001-UP

4шт.

18

01643-31232

Washer

SN: 90001-UP

4шт.

19

135-03-12110

Damper

SN: 90001-UP

2шт.

20

17A-03-51441

Bracket

SN: 90001-UP

1шт.

21

01010-81465

Bolt

SN: 90001-UP

2шт.

22

01643-31445

Washer, Flat

SN: 90001-UP

2шт.

Выбрано товаров: 22